TEMA LIVRE
Um modelo para estruturação de equipes de Atenção Primária à Saúde baseado em árvore-B
A model for structuring primary care health teams based on B-tree
Um modelo para estruturação de equipes de Atenção Primária à Saúde baseado em árvore-B
Physis: Revista de Saúde Coletiva, vol. 32, núm. 1, pp. 1-23, 2022
IMS-UERJ
Recepção: 21 Janeiro 2020
Aprovação: 05 Abril Abril 2021
Resumo: A revisão das diretrizes da organização da Atenção Primária à Saúde (APS) preconiza a territorialização e a população adscrita como questões a serem operacionalizadas pelas gestões municipais. O objetivo do estudo foi apresentar um modelo para auxiliar na estruturação da APS, mais especificamente na organização de equipes de Saúde da Família em áreas urbanas. O modelo avalia os eventos de mudanças populacionais e urbanas no território e como os impactos desses eventos podem ser mitigados, por meio de adequações no arranjo estrutural das equipes e divisões no território. Um grafo hierárquico organizacional e um fluxograma de decisão foram utilizados para representação do modelo, desenvolvidos com base na organização e operações da árvore-B - uma estrutura computacional para representação de informações. A aplicabilidade do modelo foi verificada por meio de estudo de caso para uma cidade de porte médio. O modelo poderá ser utilizado desde uma forma visual de representação esquemática dos arranjos de território e alocação de equipes até uma implementação como sistema de informação, com funcionalidades de estruturação da APS no nível local, gestão efetiva de recursos e cobertura da atenção. E, ainda, como ferramenta de análise situacional ou de avaliação da estruturação da APS, na tomada de decisão.
Palavras-chave: Atenção Primária à Saúde, Estratégia Saúde da Família, População.
Abstract: The revision of the guidelines of the organization of Primary Health Care (PHC) recommends territorialization and the registered population as issues to be operationalized by municipal administrations. This study aimed to present a model to assist in the structuring of PHC, more specifically in the organization of family health teams in urban areas. The model assesses the events of population and urban changes in the territory and how the impacts of these events can be mitigated, through adjustments in the structural arrangement of the teams and divisions in the territory. A hierarchical organizational graph and a decision flowchart were used to represent the model, developed based on the organization and operations of the B-tree - a computational structure for representing information. The applicability of the model is verified through the presentation of a case study for a medium-sized city. The model can be used from a visual form of schematic representation of the territory arrangements and team allocation to a computational implementation as an information system, with PHC structuring functionalities at the local level, effective resource management and care coverage. And also as a tool for situational analysis or assessment of PHC structuring, assisting in decision making.
Keywords: Primary Health Care, Family Health Strategy, Population.
Introdução
No Brasil, a Atenção Primária à Saúde (APS) tem apresentado crescimento nas duas últimas décadas. Aproximadamente 42 mil unidades básicas de saúde cobrem 72% do território brasileiro (COELHO NETO; ANTUNES; OLIVEIRA, 2018) e o formato de equipes atuando na Estratégia Saúde da Família (ESF) é o arranjo estrutural mais observado. Além disso, 40 mil equipes de saúde da família atuam em todo país na cobertura populacional da APS (FAUSTO et al., 2018), sendo que essa cobertura apresentou valores acima de 75%, em 14 estados brasileiros, entre 2006 e 2016 (NEVES et al., 2018).
A Política Nacional de Atenção Básica (PNAB) foi revisada por meio da Portaria nº 2426/2017, a qual ratificou a APS como porta de entrada preferencial à rede de atenção à saúde, destacando seu papel de ordenadora dos serviços dessa rede e a ESF como estratégia principal para expansão e consolidação do novo modelo assistencial. Esse documento também confirmou os conceitos de territorialização e população adscrita como componentes para estabelecer as diretrizes do planejamento ascendente, da programação descentralizada e do desenvolvimento de ações setoriais e intersetoriais no campo da APS (BRASIL, 2017).
As diretrizes da APS, inscritas no Sistema Único de Saúde (SUS), fundamentam-se na potência de sua capilaridade. Sua estrutura e funcionalidade desenvolvem-se proximamente à vida dos cidadãos e preconizam o acesso universal e a longitudinalidade do cuidado. O processo de trabalho das equipes que atuam na ESF pressupõe a definição de seu território de atuação e da população a ser cuidada. Além disso, requer planejamento e execução de ações em ambientes que extrapolam os limites físicos das unidades de saúde, podendo ser desde o domicílio até locais comunitários como escolas, creches, praças ou outros equipamentos sociais (BRASIL, 2017).
Entretanto, estudos relatam que o acesso das pessoas aos serviços de saúde pode ser facilitado ou dificultado por características organizacionais, geográficas, econômicas e culturais (MARTINS et al., 2019; STARFIELD, 2002). Sob o ponto de vista de acessibilidade geográfica aos serviços de saúde, pode-se afirmar que a distância entre os locais de oferta da atenção da moradia da população caracteriza-se como uma barreira de acesso ao atendimento. Deste modo, constata-se a necessidade de um dimensionamento da equipe, no território, a partir de uma análise de sua situação de saúde, (SILVA JUNIOR et al., 2010) em detrimento de uma lógica normativa quantitativa de pessoas atendidas por equipes.
Um dos desafios para as pesquisas de planejamento territorial e urbano no Brasil e em outros países de urbanização tardia e acelerada é compreender a complexidade dos espaços urbanos, não apenas na observação dos elementos concretos do patrimônio imobiliário, mas também na observação do espaço territorial como “vivo”, com um tecido social em permanente mudança em relação às necessidades e demandas (SANTOS, 2008).
A partir da premissa de se organizar o território com base nas características da população, estabelecida nas diretrizes da PNAB e a consequente estruturação da rede de APS, o problema de pesquisa deste estudo caracteriza-se pelo questionamento: como sistematizar o desenho da organização das equipes de saúde nos territórios de cidades e como essa organização pode ser redesenhada nos eventos de mudanças populacionais e do espaço urbano?
Em uma lacuna que considera que a discussão sobre território está intimamente ligada à equidade e universalidade (FARIA; BORTOLOZZI, 2009), com poucos estudos que contemplem a ESF em questões que envolvam especificamente a territorialização (SILVA; CASOTTI; CHAVES, 2013) ou que abordem de modo conceitual a gestão na APS (PIRES et al., 2019), este artigo tem como objetivo apresentar um modelo para organização de equipes de APS nos espaços urbanos de médias e grandes cidades. O modelo se baseia em árvore-B, um modelo computacional para representação de informação. As definições, características e exemplos de árvore e árvore-B são descritas na próxima Seção, considerando que o modelo proposto nesse estudo faz referência a essas estruturas e suas operações.
Espera-se que os resultados desse trabalho possam auxiliar a gestão de municípios na representação da organização da APS em seus territórios e na sua reestruturação, nos eventos de mudanças populacionais e urbanas ao longo do tempo. Desta forma, o objetivo do estudo foi de contribuir com um modelo para auxiliar na estruturação da APS, mais especificamente na organização de equipes de Saúde da Família em áreas urbanas.
Árvores e árvores-B
No universo de modelos computacionais, árvores são definidas como estruturas utilizadas para organizar informações de modo hierárquico e recuperá-las de modo eficiente. Uma estrutura de árvore é composta por um conjunto finito de componentes denominados nós, nos quais informações de interesse são armazenadas. Um particular nó, denominado raiz, associa-se a um conjunto de estruturas de árvores disjuntas, denominadas sub-árvores (WIRTH, 1999).
A forma de grafo é a representação mais comum de estrutura de árvore, como pode ser observado na parte A do exemplo da figura 1. Nesse exemplo, o nó A corresponde à raiz da árvore, que também possui cinco nós intermediários (B, C, F, G e J) e sete nós terminais ou folhas (D, E, I, M, K, L e H). Essa árvore tem altura igual a quatro, que corresponde à maior distância de um nó terminal em relação à raiz. Trata-se de uma árvore ternária ou de grau 3, que é o maior número de descendentes diretos para um dado nó da árvore, no caso, o nó B.
A árvore-B (B-tree) é um tipo particular de árvore, uma estrutura na qual seus nós armazenam, com exceção da raiz, M elementos de dados, entre N e 2N, para uma dada constante N, definida como ordem da árvore. Cada nó possui M+1 nós descendentes (ou vias) e todos os nós terminais estão em um mesmo nível (WIRTH, 1999). Essas características acarretam o armazenamento balanceado e uniforme das informações na estrutura da árvore, sem que essas se concentrem em uma determinada região da árvore.

Um exemplo de árvore-B de ordem 2, com dados numéricos e três níveis, é mostrado na parte B da figura 1. Os dados se apresentam em ordem crescente da esquerda para a direita, se a árvore for condensada em um único nível, por meio da inserção de descendentes entre os dados de seu nó ancestral. A árvore-B da parte B da figura 1 é um tipo particular denominada árvore de busca: quando um dado elemento X for pesquisado, a partir da raiz, a busca orienta-se na via mais à esquerda se X for menor que o primeiro dado do nó, na via mais à direita se X for maior que o último dado do nó e, caso esteja entre dois valores de dados do nó, a busca segue pela via intermediária entre esses dois valores.
As operações de inserção e remoção de dados em árvores-B observam as regras de formação da árvore, com a manutenção dos nós terminais no mesmo nível e ordem da árvore. Novas informações são inseridas em nós terminais e quando o limite de dados por nó é ultrapassado, esse é particionado. Se a exclusão de uma informação no nó acarretar um número menor que o mínimo, o rearranjo da árvore ocorre por meio de empréstimo de um nó vizinho, à direita ou à esquerda, ou pela junção de nós quando não há possibilidade de empréstimo.
As inclusões e exclusões podem levar ao aumento ou diminuição na altura da árvore para manter sua regra de formação, a qual estabelece limites mínimo e máximo de elementos por nó, conforme sua ordem. Detalhamentos e algoritmos de estruturação e operações em árvore-B, assim como aspectos de implementação em sistemas computacionais podem ser estudados em Wirth (1999).
Método
Sob o ponto de vista de classificação, esse estudo caracteriza-se como uma pesquisa de natureza metodológica, uma vez que “está associada a caminhos, formas, maneiras e procedimentos para atingir determinado fim” (VERGARA, 2005, p. 47).
Ao discutir processos metodológicos em saúde, Minayo (2007, p. 44) define metodologia “a) como a discussão epistemológica sobre o “caminho do pensamento” que o tema ou o objeto de investigação requer; b) como a apresentação adequada e justificada dos métodos, técnicas e dos instrumentos operativos que devem ser utilizados para as buscas relativas às indagações da investigação; c) e como a “criatividade do pesquisador”, ou seja, a sua marca pessoal e específica na forma de articular teoria, métodos, achados experimentais, observacionais ou de qualquer outro tipo específico de resposta às indagações específicas.
O percurso metodológico desenvolvido nesse estudo é representado na Figura 2. Com base nas características da árvore-B, foi desenvolvido um modelo de estruturação da ESF nos territórios e como essa estruturação pode ser redesenhada em função das mudanças populacionais e urbanas que ocorrem nesses territórios ao longo do tempo. O modelo foi instanciado para uma cidade de porte médio (Ribeirão Preto-SP) com a finalidade de se verificar a sua aplicabilidade. No desenvolvimento desse estudo foi realizado uma check-list para as diretrizes especificadas no guideline SQUIRE 2.0 (SQUIRE, 2020).
O modelo proposto incluiu o uso de duas ferramentas na sua elaboração: (a) um diagrama organizacional, para o desenho estrutural da distribuição das equipes nos territórios e a estrutura de gestão e (b) um fluxograma de decisão, para mitigação, em uma perspectiva longitudinal, das mudanças que ocorrem nos territórios, para ajustar a estrutura organizacional em função dessas mudanças, por determinantes de natureza social, populacional ou do mobiliário urbano.

O desenvolvimento dessas ferramentas se baseou nas características da estrutura e das operações de um infra modelo computacional, a árvore-B. Foram desenvolvidas abstrações que associaram (a) a forma com que as informações são armazenadas na árvore com uma possível modo de organização da atenção primária, das equipes que atuam na ESF e sua forma de gestão e (b) a forma como as informações são rearranjadas na árvore em suas operações com a forma que a estrutura da APS pode se ajustar em função de mudanças no território e da população.
Tais abstrações podem ser consideradas como as construções elaboradas pelo pesquisador, previstas por Minayo (2007) que, ao articular os elementos circunscritos no universo da pesquisa, desenvolve um processo criativo em resposta ao problema da pesquisa: a árvore-B é um modelo subjacente, a partir do qual se abstrai o modelo proposto, que herda características do modelo base, mas que incorpora todas as especificidades associadas ao modelo derivado.
Um estudo de caso foi desenvolvido com o objetivo de verificar a aplicabilidade do modelo proposto e descreve a estruturação da APS com base no modelo proposto para o município paulista de Ribeirão Preto. Essa estruturação foi desenhada e apresentada com base em informações obtidas por meio de entrevista com a Coordenadoria da Atenção Básica da Secretaria Municipal de Saúde em novembro de 2019, que forneceu relatórios descritivos das USF e das áreas atendidas, da organização das equipes ESF e das informações sobre a população adscrita.
Resultados
O modelo de estruturação de equipes ESF na APS
Essa Seção apresenta o modelo proposto, conforme o percurso metodológico. São descritos os dois constructos desenvolvidos para o modelo. O diagrama organizacional apoia a estratégia da gestão da APS no processo inicial de dimensionamento e alocação de recursos humanos e infraestrutura na área urbana do município, na efetiva implementação dos conceitos de território e regionalização da atenção à saúde. O fluxograma de decisão é utilizado no apoio à gestão no processo permanente de revisão dessa alocação em um território “vivo”, com constantes mudanças por determinantes sociais, populacionais e urbanos.

O diagrama organizacional estabelece a representação estrutural dos atores que participam da APS na esfera municipal, gestores, coordenações, equipes e trabalhadores da saúde, e como esses atores são organizados na prestação da atenção no espaço urbano. Essa representação estrutural é descrita no esquema da figura 3.
Conforme apresentado na figura 3, a área total urbana atendida é particionada em subáreas territoriais. Cada subárea é representada por um nó terminal da árvore, o qual equivale a uma região geográfica contínua de assistência. Cada subárea territorial, representada por um nó terminal, é atendida por um M equipes de APS, M entre N e 2N, sendo N e 2N os parâmetros mínimo e máximo de equipes por subárea. Uma célula territorial corresponde à partição geográfica na subárea atendida por uma equipe. O nó raiz, no topo da hierarquia, associa-se à alta gestão, responsável pelo planejamento e execução das políticas de saúde no município. Os nós intermediários associam-se aos gestores distritais, coordenações e/ou apoio a equipes e unidades de APS, conforme as características estruturantes da APS particulares no município. Nos níveis intermediários também podem ser representadas informações de natureza geográfica como regiões, distritos, unidades básicas de saúde que abrangem territórios ou informações que caracterizem a divisão do território em áreas de atenção.
No que se refere ao dimensionamento da população adscrita em cada célula territorial, a PNAB estabeleceu parâmetros por equipe de APS e de saúde da família entre 2.000 e 3.500 pessoas por célula territorial, com discricionariedade ao gestor para estabelecer arranjos, parâmetros e intervenções, conforme características do território, particularmente no que se refere à vulnerabilidade da população (BRASIL, 2017). Esse quantitativo foi objeto de revisão na Portaria nº 2.979, de 12 de novembro de 2019 (BRASIL, 2019), que modificou o modelo de financiamento de custeio para a APS e elevou para 4.000 pessoas cadastradas o quantitativo potencial para cada equipe.
A definição de parâmetros de dimensionamento da população adscrita também deve considerar os indicadores e dados históricos, condições e determinantes sociais de saúde da população no território e, uma vez estabelecidos esses parâmetros, o quantitativo de equipes poderá ser estabelecido considerando sua população censitária.
No que se refere à dinâmica de mudanças nas áreas territoriais das cidades, variações ocorrem tanto no que se refere às características populacionais quanto às alterações de natureza urbana. Fenômenos referentes às mudanças populacionais podem ser exemplificados como variações de densidade demográfica nas faixas etárias ou características socioeconômicas, enquanto as de natureza urbana associam-se às características das edificações, da atividade econômica e uso do espaço urbano e estão sujeitas a aumento ou retração, expansão imobiliária ou questões de violência urbana e ambientais. Ações como a implementação de políticas públicas e de mercado também provocam tais variações.
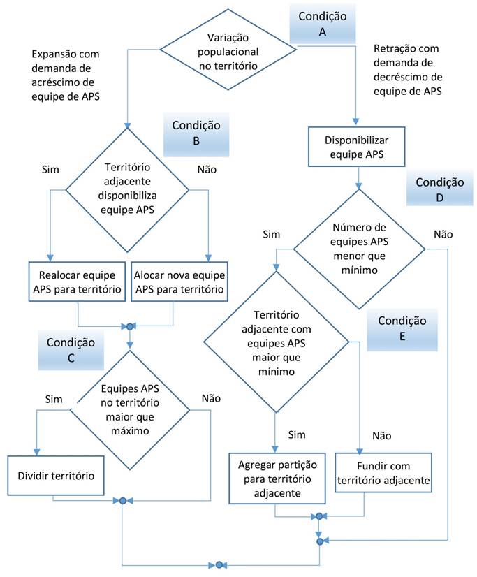
Neste sentido, a estrutura organizacional expressa no modelo, representada esquematicamente na figura 3, caracteriza-se pela constante mudança devido à variação da população adscrita nas regiões de atenção. A Figura 4 corresponde ao fluxograma de decisão do modelo proposto e representa as diversas acomodações da estrutura do modelo em função da variação populacional, da disponibilidade de recursos, das características e restrições do modelo. O termo território, especificado na figura 4, refere-se à subárea territorial no modelo, ou seja, o espaço urbano coberto por um grupo de equipes que atuam na ESF. Cada equipe está associada a uma população adscrita, a célula territorial.
Quando a variação populacional no território é negativa (condição A), com diminuição de demanda por serviços, há uma sinalização de disponibilidade de recurso que poderá ser alocado em outro território. Caso o número de equipes atuando no território seja menor que o mínimo gerenciado (condição D da figura 4), uma partição de território adjacente poderá ser agregada ao território gerenciado ou deverá ocorrer a fusão com território adjacente (condição E).
Além das operações previstas em nível de subárea territorial, também poderão ocorrer micro-operações estruturais entre as células territoriais para redimensionamento de equipes de saúde nas células, com o intuito de ajustar o número de trabalhadores alocados na equipe, conforme parâmetros assistenciais e de vulnerabilidade.

Os rearranjos propostos não excluem aqueles decorrentes da análise de indicadores na tomada de decisão, uma vez que as necessidades de saúde das populações podem apresentar variações associadas às questões de desigualdades, vulnerabilidades, ou outros determinantes sociais de saúde, que devem ser considerados para um uso efetivo dos recursos.
Estudo de caso
Essa Seção apresenta um estudo de caso de uso do modelo proposto desenvolvido para o município de Ribeirão Preto-SP, conforme referenciado na seção de método, cujo objetivo foi a verificação inicial do modelo para seu componente estrutural, o diagrama organizacional. A utilização do fluxograma de decisão para tratar a dinâmica de variações da população e do território no rearranjo da estrutura implica em um estudo longitudinal, possível em trabalho futuro.
Em Ribeirão Preto, município no qual o estudo de caso foi realizado, a Atenção Primária é majoritariamente atendida no modelo de UBS, estruturadas em diversas regiões da cidade. O acesso do paciente à APS ocorre pela procura na unidade, mediante agendamento presencial, ou por aplicativo, sem um acompanhamento efetivo e sistemático do paciente.
Há um esforço da gestão para migração do modelo de Unidade Básica de Saúde (UBS) para Estratégia Saúde da Família (ESF), reestruturando as UBSs para unidades que operam na ESF. Atualmente, o município possui uma cobertura pela ESF em torno de 22% da população censitária, estruturada em 22 unidades e 50 equipes, sendo 48 na estrutura definida pela PNAB com médico, enfermeiro, técnico em enfermagem e agentes comunitários de saúde e duas ainda no modelo de Estratégia de Agentes Comunitários de Saúde (EACS), em processo de transição.
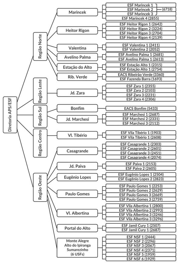
O diagrama organizacional para a estrutura da gestão e alocação das USF e respectivas equipes de ESF na APS no município é apresentado na figura 5. A responsabilidade da alta gestão na implementação das políticas é atribuída à diretoria de APS, indicada no nó raiz do diagrama. A distribuição geográfica nas cinco macrorregiões do município é representada no segundo nível na Figura.
As divisões de território para as macrorregiões e a distribuição de equipes estão representadas no terceiro nível do diagrama da figura 5, que inclui as subáreas e suas subdivisões em células territoriais. As subáreas territoriais em cada macrorregião correspondem, em geral, a distritos, bairros ou agregações de bairros do município. Com poucas exceções, cada subárea territorial associa-se a uma USF e possui uma coordenação e equipe de apoio.
Conforme mostrado na figura 5, as USF estruturam-se entre duas a quatro equipes, com exceção do Distrito de Bonfim, com uma única equipe. Uma extensa área na Região Norte é coberta por seis Núcleos de Saúde da Família, que operam em um regime diferenciado de gestão compartilhada do município com a Faculdade de Medicina de Ribeirão Preto da Universidade de São Paulo, com residência multiprofissional sob supervisão docente.
No que se refere à estrutura e à dinâmica da gestão, as diretrizes de ação das unidades e equipes são orientadas pela diretoria que coordena a ESF em nível municipal. Por meio das gerências das USF, as unidades contam com apoio logístico e material, no que refere ao planejamento de agenda, agendamento, gestão de pessoas, ouvidoria e infraestrutura.
Ao se observar a alocação das USF nas regiões, na Figura 5, pode-se inferir uma assimetria social e econômica do município. Há uma concentração de unidades e equipes nas regiões Norte e Oeste, áreas territoriais na cidade com maior vulnerabilidade, problemas de urbanização e áreas de favelas.

Com poucas exceções, a população adscrita para cada equipe situa-se na faixa prescrita pelos parâmetros da PNAB, entre 2.000 e 3.500 pessoas. Essa variação relaciona-se diretamente à vulnerabilidade da população no território. Com a publicação da Portaria nº 2.979/2019, que instituiu o Programa Previne Brasil (BRASIL, 2019), foi iniciado um trabalho para atingir o quantitativo potencial de 4.000 pessoas cadastradas por equipe ESF para territórios urbanos.
Discussão
Na edição de 2000 do Seminário Nacional Saúde e Ambiente no Processo de Desenvolvimento, o geógrafo Milton Santos previu um cenário preocupante para a saúde pública em grandes cidades, com o avanço de políticas neoliberais em governos (SANTOS, 2003). Essa preocupação pode ser associada à possibilidade de redução de investimentos em saúde, com tendência a enfraquecer os arranjos sistêmicos orientados à garantida da integralidade. Em contraposição, há o desafio de superação do modelo hegemônico de organização da atenção, o qual se baseia na fragmentação entre os pontos de atenção, para um modelo de organização em rede, com processos horizontais e interprofissionais (ALMEIDA et al., 2018).
Esse trabalho investigou um modo de se organizar equipes na APS, com a proposição de um particular modelo. Para Medina et al. (2005, p. 43), “o objeto de investigação é um constructo da realidade passível de modelagem. Modelizar significa representar o objeto, seus movimentos e suas relações [...]”. Nesse sentido, pode-se entender que modelos são abstrações do mundo real, representações que buscam mapear características e comportamentos de uma dada realidade. São importantes na medida em que tais representações podem auxiliar na compreensão e análise da realidade representada, sendo possível implementá-las, na forma de processos, ferramentas ou protocolos.
O modelo proposto poderá ser utilizado desde uma forma visual de representação esquemática dos arranjos de território e alocação de equipes até uma implementação computacional como sistema de informação de saúde, com funcionalidades de estruturação da APS no nível local, gestão efetiva de recursos e cobertura da atenção. Também poderá ser utilizado como uma ferramenta de análise situacional ou de avaliação da estruturação da APS, no sentido de auxiliar no balanceamento da divisão de territórios, na distribuição de equipes de saúde e na tomada de decisão.
A implementação do modelo também poderá integrar-se a bases geográficas: estudos recentes incluem a aplicação de técnicas de geoprocessamento e sistemas de informação geográficas aplicados à saúde pública, como por exemplo o trabalho de Rocha et al. (2019), que identificou as áreas de atenção básica a partir de setores censitários cadastrados no IBGE e localização geográfica das UBS com equipes de ESF no território nacional.
Sob o aspecto técnico, a implementação do modelo pressupõe algumas adaptações algorítmicas da estrutura de árvore-B para representação e implementação de operações. As estruturas dos nós terminais e não terminais devem ser diferenciadas. Os nós não terminais devem representar informações da estrutura hierárquica da gestão (Secretaria Municipal de Saúde, gerências, coordenações e equipes de apoio), enquanto os nós terminais devem representar as características geográficas de arranjos de equipes, trabalhadores da saúde e informações sobre a população.
Ainda no aspecto técnico, a implementação de operações que tratam os eventos que provocam rearranjos nas estruturas representativas dos territórios, população atendida e equipes, que implicam em modificações na estrutura representativa dessas informações, que se baseiam nas operações da árvore-B, devem ser adaptadas. As operações de particionamento, fusão e empréstimo envolvendo nós da árvore devem ser estendidas: as regras dessas operações, que se limitam a operações com nós vizinhos à esquerda ou direita, devem ser estendidas, uma vez que a relação de vizinhança pode envolver múltiplos nós.
Quanto à discussão sobre adoção do modelo nos municípios, deve-se considerar que o porte populacional, os recursos e o processo de urbanização de cidades podem induzir a diferentes estruturas organizacionais na APS. Estudo em municípios paulistas sobre a organização da APS, identificou quatro variações estruturais: (a) centrada na atenção primária em unidades públicas, (b) centrada na atenção primária e procedimentos especializados, (c) centrada na atenção primária com ênfase na ESF e (d) diversificada - com sistemas de saúde mais complexos, com produção ambulatorial de média e alta complexidade e forte presença da rede privada (VIANA et al., 2008). O modelo proposto no presente estudo aplica-se, majoritariamente, a municípios classificados nos modelos de atenção (c) e (d). Particularmente, no modelo (d) deve-se observar a importância da ESF como uma organização da atenção que favorece a equidade, em um contexto de cidades fragmentadas, com características territoriais contraditórias, em que se observam severas desigualdades sociais e econômicas. Desse modo, o modelo restringe-se a cidades de porte médio ou superior, em que se observa algum grau de complexidade na extensão territorial e no arranjo de equipes de saúde.
Além da necessidade de formação de gestores e trabalhadores da saúde para um projeto transformador do modelo assistencial, a complexidade da rede de APS nos municípios poderá exigir arranjos não convencionais de organização de sua estrutura. O isolamento da APS e sua inserção periférica em relação ao sistema de saúde como um todo, aponta para a necessidade de arranjos de coordenação do cuidado mais complexos, que não fiquem sob ordenação e responsabilidade apenas da APS (CECÍLIO; REIS, 2018).
No planejamento quantitativo de a cobertura pelas equipes de APS, em que a PNAB estabelece faixas para a população adscrita, ressalta-se a importância de se observar a aplicação de heurísticas e instrumentos para se avaliar o risco das famílias, como a escala de Coelho e Savassi (COELHO; SAVASSI, 2004), os indicadores institucionais da APS do SUS e dados socioeconômicos oficiais, que podem ser utilizados de forma integrada para avaliação da realidade epidemiológica nos territórios. Monken e Barcellos (2005) já indicavam a mudança de foco de atenção de pesquisas em saúde coletiva, considerando os múltiplos níveis em que os problemas de saúde se manifestam, desde as vulnerabilidades individuais até os macrodeterminantes sociais, de saneamento básico e ecológicos.
Ao se observar os indicadores da Escala de Coelho e Savassi, nota-se não apenas aqueles associados à saúde física, como diabetes mellitus e hipertensão arterial, mas outros associados às dimensões econômicas e sociais, como desemprego e analfabetismo, e do ambiente, como as condições de saneamento e de moradia. A premissa de que há pesquisas em que a situação de saúde de uma população pode ser avaliada com o uso de um conjunto multifacetado de indicadores, nos permite induzir que a realidade epidemiológica do território possui muitos determinantes. Entre eles, fatores hereditários, de modo e das condições de vida, do ambiente e ecossistema produtivo e das relações sociais estabelecidas.
Os estudos sobre os determinantes sociais da saúde pressupõem que os fatores que incidem sobre a saúde coletiva não devem ser considerados isoladamente. Por não se tratar de relações diretas de causa e efeito (BUSS; PELLEGRINI FILHO, 2007), estabelecer relações entre esses fatores é um dos principais desafios. Nesse sentido, dado que o dimensionamento quantitativo e definição de cobertura de equipes de APS devem considerar múltiplos fatores relacionados de maneira complexa, é sugerido o uso de análises multivariadas e determinação de agrupamentos (clusters), a partir dos dados armazenados sobre a população nas fichas de acompanhamento realizadas pelos agentes comunitários de saúde e equipes de APS.
Ao se comparar o documento da PNAB atual, de 2017, com suas versões anteriores, particularmente com a versão de 2011, pode-se inferir que a versão atual flexibiliza a organização do sistema e a estruturação das equipes, reforça o papel dos gestores em oposição à participação social, o que também poderá contribuir para o enfraquecimento da ESF (FAUSTO et al., 2018; MELO et al., 2018). Esse cenário agrava-se pelo fato de a PNAB não prever o tratamento com equidade orientado às populações de áreas rurais (PESSOA; ALMEIDA; CARNEIRO, 2018). A Portaria nº 2.979 (BRASIL, 2019), ao elevar o quantitativo máximo de pessoas por equipe de APS e associar esse quantitativo com o financiamento do custeio, também contribuiu para a redução da qualidade na atenção.
Um contraponto a essa precarização pode estar na repactuação da relação entre a população e a gestão da APS, por meio da implementação de um processo efetivo nos territórios, que envolva os trabalhadores da saúde e movimentos sociais e que vá além da mera interlocução com equipes de gestão, nos espaços formais de controle social (REIS et al., 2017). No mesmo sentido, os conselhos municipais e locais de saúde também são protagonistas na orientação desse processo de articulação da APS com a rede de apoio social para identificação e atendimento das necessidades de saúde da população no território (ALMEIDA et al., 2018).
Reforça-se, assim, a necessidade da compreensão do território e suas características, por meio de processo de mapeamento de famílias e identificação de dispositivos comunitários e das condições socioeconômicas e sanitárias para se estruturar e gerir a oferta de ações e intervenções, pois a organização comunitária do território é determinante do modelo de atenção e de promoção da saúde (ALMEIDA et al., 2018). Municípios que incluem territórios de assentamentos de reforma agrária são exemplos que expõem essa complexidade na APS, com outras vulnerabilidades, como exposição ao sol, manipulação de agrotóxicos, adoecimento associado ao trabalho agrícola, além da ausência de equipamentos sociais, saneamento básico e transporte, fatores que exigem uma abordagem orientada à população adscrita (DANTAS et al., 2019).
Deve-se observar também a importância de processos educativos para a efetiva participação social na construção da territorialidade e de outras políticas públicas que favoreçam a operacionalização do acesso universal à saúde (COLIN; PELICIONI, 2018). Quanto aos recursos humanos, a atuação em territórios de pobreza e alta vulnerabilidade social, com precárias condições de saneamento, moradia e transporte, tem sido um dos principais desafios para atuação das equipes de APS, inclusive com riscos à sua atuação profissional (COELHO NETO; ANTUNES; OLIVEIRA, 2019), o que nos leva a considerar a questão da humanização também sob o ponto de vista dos trabalhadores de saúde.
Considerações finais
Este estudo apresentou a proposição de um modelo para auxiliar na organização da APS, na estruturação de equipes da ESF para municípios de médio e grande porte, como as equipes podem ser arranjadas e geridas em seus territórios e como a dinâmica de variações populacionais pode ser tratada, no rearranjo dos recursos e divisões de áreas de assistência. Esse modelo poderá ser utilizado na representação situacional e na avaliação da estruturação da APS, auxiliar no balanceamento da divisão de territórios, na distribuição de equipes de saúde e na tomada de decisão. A aplicabilidade do modelo foi verificada no estudo de caso, o qual possibilitou apresentar uma “fotografia” da atual organização da ESF em um município, com a visão estrutural e da abrangência na APS.
Com base nesse modelo, estudos futuros podem orientar-se para uma aplicação que apoie a gestão na organização da APS, tanto em sua implementação computacional quanto para uso na avaliação situacional e integração com bases de dados geográficos. Também pretende-se avaliar a aplicabilidade do modelo no contexto de regiões metropolitanas, ou de arranjos regionais com vários municípios que compartilham recursos, equipamentos e serviços, em um mesmo sistema de regulação. O local em que reside o usuário não necessariamente é o mais adequado para a atenção pois, muitas vezes, ele mora em cidades-dormitório ou locais distantes e poderá ser mais bem acompanhado na região onde trabalha, estuda ou passa a maior parte do tempo.
Entendendo a ESF como um cenário potente para capilarizar a atenção nos territórios, em um paradigma assentado na integralidade, que se contrapõe a um modelo reativo centrado na doença, espera-se que esse estudo possa contribuir como uma ferramenta de gestão para um uso mais efetivo dos recursos humanos, assim como para auxiliar o planejamento e o acompanhamento dos aspectos organizativos da APS, vinculados ao território, à sua população e às equipes de saúde, com foco na equidade, na distribuição dos recursos humanos, eficiência e efetividade.1
Agradecimentos
A Ana Paula Raizaro, da Secretaria Municipal de Saúde de Ribeirão Preto, pela contribuição no fornecimento e detalhamento de informações para o estudo de caso no município descrito no artigo.
Referências
ALMEIDA, P. F. de et al. Coordenação do cuidado e Atenção Primária à Saúde no Sistema Único de Saúde. Saúde em Debate, Rio de Janeiro, v. 42, n. esp. 1, p. 244-260, 2018. Disponível em: <Disponível em: http://www.scielo.br/scielo.php?script=sci_arttext&pid=S0103-11042018000500244&lng=pt&nrm=iso>. Acesso em: 15 jan. 2020.
BRASIL. Ministério da Saúde. Portaria nº 2.436, de 21 de setembro de 2017. Aprova a Política Nacional de Atenção Básica, estabelecendo a revisão de diretrizes para a organização da Atenção Básica, no âmbito do Sistema Único de Saúde (SUS). Diário Oficial [da] República Federativa do Brasil, Brasília, 2017. Disponível em: <Disponível em: http://bvsms.saude.gov.br/bvs/saudelegis/gm/2017/prt2436_22_09_2017.html>. Acesso em: 15 jan. 2020.
BRASIL. Ministério da Saúde. Portaria nº 2.979, de 12 de novembro de 2019. Institui o Programa Previne Brasil, que estabelece novo modelo de financiamento de custeio da Atenção Primária à Saúde no âmbito do Sistema Único de Saúde, por meio da alteração da Portaria de Consolidação nº 6/GM/MS, de 28 de setembro de 2017.Diário Oficial [da] República Federativa do Brasil, Brasília, 2019. Disponível em: <Disponível em: http://bvsms.saude.gov.br/bvs/saudelegis/gm/2017/prt2436_22_09_2017.html>. Acesso em: 16 set. 2020.
BUSS, P. M.; PELLEGRINI FILHO, A. A saúde e seus determinantes sociais. Physis[online], v.17, n.1, p. 77-93, 2007. Disponível em: Disponível em: http://www.scielo.br/scielo.php?script=sci_arttext&pid=S0103-73312007000100006&lng=en&nrm=iso. Acesso em: 20 set. 2020.
CECILIO, L. C. O.; REIS, A. A. C. Apontamentos sobre os desafios (ainda) atuais da atenção básica à saúde. Cadernos de Saúde Pública, Rio de Janeiro, v. 34, n. 8, e00056917, 2018. Disponível em: <Disponível em: http://www.scielo.br/scielo.php?script=sci_arttext&pid=S0102-311X2018000800501&lng=pt&nrm=iso>. Acesso em: 15 jan. 2020.
COELHO NETO, G. C.; ANTUNES, V. H.; OLIVEIRA, A. A prática da Medicina de Família e Comunidade no Brasil: contexto e perspectivas. Cadernos de Saúde Pública , Rio de Janeiro, v. 35, n. 1, e00170917, 2019. Disponível em: <Disponível em: http://www.scielo.br/scielo.php?script=sci_arttext&pid=S0102-311X2019000100502&lng=pt&nrm=iso>. Acesso em: 15 jan. 2020.
COELHO, F. L. G.; SAVASSI, L. C. M. Aplicação de Escala de Risco Familiar como instrumento de priorização das Visitas Domiciliares. Revista Brasileira de Medicina de Família e Comunidade, v. 1, n. 2, p. 19-26, 2004. Disponível em: <https://doi.org/10.5712/rbmfc1(2)104>. Acesso em: 20 set. 2020.
COLIN, E. C. S.; PELICIONI, M. C. F. Territorialidade, desenvolvimento local e promoção da saúde: estudo de caso em uma vila histórica de Santo André, São Paulo. Saude & Sociedade, São Paulo, 2018, v. 27, n. 4, p. 1246-1260, 2018. Disponível em: <Disponível em: http://www.scielo.br/scielo.php?script=sci_arttext&pid=S0104-12902018000401246&lng=pt&nrm=iso> Acesso em: 15 jan. 2020.
DANTAS, A. C. M. T. V. et al. Relatos e reflexões sobre a Atenção Primária à Saúde em assentamentos da Reforma Agrária. Physis , Rio de Janeiro, 2019, v. 29, n. 2, e290211, 2019. Disponível em: <Disponível em: http://www.scielo.br/scielo.php?script=sci_arttext&pid=S0103-73312019000200609&lng=pt&nrm=iso>. Acesso em: 15 jan. 2020.
FARIA, R. M.; BORTOLOZZI, A. Espaço, território e saúde: contribuições de Milton Santos para o tema da geografia da saúde no Brasil. Raega - O Espaço Geográfico em Análise, Curitiba, v. 17, p. 31-41, 2009.
FAUSTO, M. C. R. et al. O futuro da Atenção Primária à Saúde no Brasil. Saúde em debate, Rio de Janeiro, v. 42, n.esp. 1, p.12-14, 2018. Disponível em: <Disponível em: http://www.scielo.br/scielo.php?script=sci_arttext&pid=S0103-11042018000500012&lng=pt&nrm=iso>. Acesso em 15 jan. 2020.
MARTINS, M. M. F. et al. Acesso aos serviços de atenção primária à saúde por adolescentes e jovens em um município do Estado da Bahia, Brasil. Cadernos de Saúde Pública , Rio de Janeiro, v. 35, n. 1, e00044718, 2019. Disponível em: <Disponível em: http://www.scielo.br/scielo.php?script=sci_arttext&pid=S0102-311X2019000105007&lng=en&nrm=iso>. Acesso em: 15 jan. 2020.
MEDINA, M. G. et al. Uso de modelos teóricos na avaliação em saúde: aspectos conceituais e operacionais. In: HARTZ, Z.M.A.; SILVA, L.M.V. (organizadores). Avaliação em saúde: dos modelos teóricos à prática na avaliação de programas e sistemas de saúde. Rio de Janeiro: Editora FIOCRUZ, p. 41-63, 2005.
MELO, E. A. et al. Mudanças na Política Nacional de Atenção Básica: entre retrocessos e desafios. Saúde em Debate , Rio de Janeiro, v. 42, n. esp 1, p. 38-51, 2018. Disponível em: <Disponível em: http://www.scielo.br/scielo.php?script=sci_arttext&pid=S0103-11042018000500038&lng=en&nrm=iso>. Acesso em: 15 jan. 2020.
MINAYO, M. C. S. O desafio do conhecimento. Pesquisa qualitativa em saúde. São Paulo: HUCITEC, 2007.
MONKEN, M.; BARCELLOS, C. Vigilância em saúde e território utilizado: possibilidades teóricas e metodológicas. Cadernos de. Saúde Pública, Rio de Janeiro, v. 21, n. 3, p. 898-906, 2005.
NEVES, R. G. et al. Tendência temporal da cobertura da Estratégia Saúde da Família no Brasil, regiões e Unidades da Federação, 2006-2016. Epidemiologia e Serviços de Saúde, Brasília, v. 27, n. 3, e2017170, 2018. Disponível em: <Disponível em: http://www.scielo.br/scielo.php?script=sci_arttext&pid=S2237-96222018000300302&lng=pt&nrm=iso>. Acesso em: 15 jan. 2020.
PESSOA, V. M.; ALMEIDA, M. M.; CARNEIRO, F. F. Como garantir o direito à saúde para as populações do campo, da floresta e das águas no Brasil? Saúde em Debate , Rio de Janeiro, v. 42, n. esp. 1 , p. 302-314, 2018. Disponível em <Disponível em http://www.scielo.br/scielo.php?script=sci_arttext&pid=S0103-11042018000500302&lng=pt&nrm=iso>. Acesso em: 15 jan. 2020.
PIRES, D. E. P. et al. Gestão em saúde na atenção primária: o que é tratado na literatura. Texto & Contexto - Enfermagem, Florianópolis, v. 28, e20160426, 2019. Disponível em: <Disponível em: http://www.scielo.br/scielo.php?script=sci_arttext&pid=S0104-07072019000100501&lng=pt.>. Acesso em: 15 jan. 2020.
REIS, A. A. C. et al. Reflexões para a construção de uma regionalização viva. Ciência & Saúde Coletiva, Rio de Janeiro, v. 22, n. 4, p. 1045-1054, 2017. Disponível em <Disponível em http://www.scielo.br/scielo.php?script=sci_arttext&pid=S1413-81232017002401045&lng=en&nrm=iso>. Accesso em: 15 jan. 2020.
ROCHA, T. A. H. et al. Proposta de metodologia para estimar a área de cobertura potencial por equipes de atenção primária. Revista Panamericana de Salud Pública, Washington DC, v. 43, e47, 2019. Disponível em: <Disponível em: https://www.ncbi.nlm.nih.gov/pmc/articles/PMC6526782/>. Acesso em: 15 jan. 2020.
SANTOS, M. Saúde e ambiente no processo de desenvolvimento. Ciência & Saúde Coletiva , Rio de Janeiro, v. 8, n. 1, p. 309-314, 2003. Disponível em <Disponível em http://www.scielo.br/scielo.php?script=sci_arttext&pid=S1413-81232003000100024&lng=pt&nrm=iso>. Acesso em: 15 jan. 2020.
SANTOS, M. A Urbanização Brasileira. 5ª. ed. São Paulo: EdUSP, 2008. (Coleção Milton Santos; 6).
SILVA JUNIOR, E. S. et al. Acessibilidade geográfica à atenção primária à saúde em distrito sanitário do município de Salvador, Bahia. Revista Brasileira de Saúde Materno. Infantil, Recife, v. 10, supl. 1, p.s49-s60, 2010. Disponível em: <Disponível em: http://www.scielo.br/scielo.php?script=sci_arttext&pid=S1519-38292010000500005&lng=en&nrm=iso>. Acesso em: 10 dez. 2019.
SILVA, L. A.; CASOTTI, C. A.; CHAVES, S. C. L. A produção científica brasileira sobre a Estratégia Saúde da Família e a mudança no modelo de atenção. Ciência & Saúde Coletiva , Rio de Janeiro, v. 18, n. 1, p. 221-232, 2013. Disponível em: <Disponível em: http://www.scielo.br/scielo.php?script=sci_arttext&pid=S1413-81232013000100023&lng=en&nrm=iso>. Acesso em: 10 dez. 2019.
SQUIRE. SQUIRE 2.0: Standards for Quality Improvement Reporting Excellence. Disponível em: <Disponível em: http://www.squire-statement.org/>. Acesso em: 15 set. 2020.
STARFIELD, B. Atenção primária: equilíbrio entre necessidades de saúde, serviços e tecnologia. Brasília: Organização das Nações Unidas para a Educação, a Ciência e a Cultura/Ministério da Saúde, 2002.
VERGARA, S. C. Projetos e relatórios de pesquisa em administração. 6. ed. São Paulo: Atlas, 2005.
VIANA, A.L.D. et al. Atenção básica e dinâmica urbana nos grandes municípios paulistas, Brasil. Cadernos de Saúde Pública . Rio de Janeiro, v. 24, supl. 1, p. s79-s90, 2008. Disponível em: <Disponível em: http://www.scielo.br/scielo.php?script=sci_arttext&pid=S0102-311X2008001300013&lng=en&nrm=iso>. Acesso em: 10 dez. 2019.
WIRTH, N. Algoritmos e estruturas de dados. Rio de Janeiro: LTC, 1999.
Nota