Artículos
Diseño de una picadora de pencas de maguey y nopal
Design of a mincer of cactus and agave leaves
Diseño de una picadora de pencas de maguey y nopal
Acta universitaria, vol. 31, e2580, 2021
Universidad de Guanajuato, Dirección de Investigación y Posgrado
Recepción: 31 Mayo 2019
Aprobación: 10 Enero 2020
Publicación: 24 Febrero 2021
Resumen: Se diseñó una máquina para picar penca de maguey y nopal a un tamaño de 2 a 3 cm de largo, que cumpla las condiciones de ensilaje (25% de materia seca y mínimo espacio con aire). En el desarrollo de la herramienta para la máquina de picar penca de maguey y nopal, se requirió del conocimiento de ciertas propiedades físicas de la planta, además de: realizar un adecuado análisis estático y dinámico de la interacción cuchilla-masa vegetal-sufridera. Se determinó: la fuerza de corte, la dirección de alimentación y capacidad de succión de la masa vegetal por el órgano de trabajo, así como la velocidad y potencia de corte, sin descuidar el desalojo de la masa vegetal en forma continua. Los resultados mostraron que el proceso tecnológico de la máquina cumple perfectamente con el objetivo planteado y que el tamaño del material es el adecuado para el ensilaje y consumo del ganado.
Palabras clave: Agave, nopal, hojas, molienda, ensilado.
Abstract: A design of a mincer machine to cut agave leaves and cactus prickly cladodes to a length of 2 cm to 3 cm, able to fulfill the silage conditions (25% dry matter and much less space for air), was made. When developing the slicing tool for the machine that will successfully perform the cut of maguey leaves and cactus prickly cladodes, knowledge about measurements of key physical properties from the plants was needed. There was also a detailed static and dynamic analysis for the interaction between knife-vegetation mass-hardship. Moreover, it was determined the slicing force, feeding direction and suction capacity for the vegetation mass performed by the working tool, as well as the speed and power for cutting. Care was taken to continuously separate the end cubed product from the fresh mass entering. Results showed that the technological process undertaken by the machine was highly satisfactory regarding the objective and that the size from the end material is adequate for silage and ready for cattle consumption.
Keywords: Agave, cactus, leaves, grinding, silage.
Introducción
El maguey y el nopal son dos de los pocos recursos forrajeros con los que disponen las comunidades rurales del altiplano potosino (Aguirre, Charcas & Flores, 2001). Por ello, es necesario aprovechar la penca de nopal y penca entera de maguey usado en la producción de mezcal como fuente de forraje complementario al pastoreo, mediante el proceso de ensilaje, en el cual las pencas de maguey y nopal son el ingrediente principal, complementado con materiales locales como vaina de mezquite y alfalfa henificada; de tal forma que al mezclarlos se obtenga un alimento que complete lo requerido por el ganado en pastoreo durante la época seca, sin pérdida de peso vivo (Gómez, Pinos & Aguirre, 2009). El ensilado es un proceso de conservación de forraje bajo condiciones anaerobias en el cual ocurren una serie de cambios bioquímicos que permiten su estabilización y conservación hasta por años (Pinos, Zamudio, & González, 2008). Para ello es necesario reducir los materiales a un tamaño de 2 cm a 3 cm, mezclarlos, compactarlos para eliminar la mayor cantidad de aire y sellar el recipiente (Fuentes-Rodríguez, 1997).
Uno de los subproductos de la industria mezcalera en San Luis Potosí, México, son las pencas de maguey, pero su aprovechamiento como forraje es marginal, ocasional y rudimentario, pues requiere ser picado manualmente para que pueda ser consumido por el ganado (Velázquez, 2004). Generalmente, las pencas de maguey son desechadas enteras en los parajes de corte, en donde no pueden ser consumidas directamente por el ganado y obstruyen el crecimiento de plantas herbáceas del agostadero (Zamudio et al., 2009).
En las condiciones actuales, el nopal para ser aprovechado como forraje por el ganado, debe ser chamuscado y picado (Cervantes, 2002). Como en todos los órganos de trabajo de las máquinas agrícolas y de otras máquinas en general, Durán-García, González-Galván & Márquez-Pérez (2012) mencionan que el consumo de la potencia se da en el desarrollo de los procesos tecnológicos que efectúa el órgano de trabajo y en la potencia invertida en pérdidas cuando se trabaja en vacío. En el caso de los molinos forrajeros, el proceso tecnológico comprende tres funciones básicas, a saber: a) desmenuzar la masa vegetal, b) impulsar la masa desmenuzada al exterior de la máquina y c) succionar la masa alimentada hacia el órgano desmenuzador (Rössel, Durán & Ortíz, 2015). El estado de San Luis Potosí es uno de los principales productores de mezcal en México y donde anualmente se desechan o aprovechan marginalmente toneladas de pencas de maguey, pues no se cuenta con una máquina capaz de procesar penca y proporcionarla al ganado como alimento. Por tal motivo, el objetivo de este trabajo fue diseñar una máquina para reducir penca de maguey y nopal a un tamaño de 2 cm a 3 cm de largo, que cumpla las condiciones de ensilaje (25% de materia seca y mínimo espacio con aire).
Metodología
Para trabajar en el diseño conceptual de la máquina, primero se realizó una amplia búsqueda en bases de datos, indagando la existencia bibliográfica de máquinas con iguales o similares principios funcionales (para madera, césped, distintos vegetales y picadoras), tal como lo mencionan Gutiérrez-Bravo, Hernández-Arriaga & Cabrera-Lazarini (2019) en su trabajo sobre el diseño mecánico ágil, y, segundo, conocimos la planta vegetal y principalmente la penca de maguey, la cual Cuello (2004) describe como carnosa, rígida, lanceolada con la punta afilada en la parte superior, culminando con una espina recta y rígida que en ocasiones se usa como aguja o clavo. Las pencas maduras tienen una longitud que varía de 1 m a 2 m y a lo largo de ella corren las fibras longitudinales, su anchura, dependiendo de las variantes y la calidad del sitio en que se encuentre, puede ser de hasta 40 cm, con un peso aproximado de 15 kg. El margen de las pencas es desde ligeramente ondulado hasta fuertemente festoneado. Las espinas laterales, espinas marginales o dientes, miden de 3 mm a 20 mm y se apartan de 5 mm a 50 mm entre sí. Es necesario aclarar que actualmente el proceso de reducción de la penca de maguey y nopal se realiza manualmente con ayuda de un instrumento de corte (machete).
Resultados y Discusión
El desarrollo de una máquina para reducir de tamaño la penca de maguey y nopal requiere del conocimiento de ciertas propiedades físicas de la penca, tales como como tamaño, forma, peso y posición de la fibra, además de: 1) realizar un adecuado análisis estático y dinámico de la interacción cuchilla-masa vegetal-sufridera; 2) conocer la fuerza de corte y dirección de alimentación de la masa vegetal; 3) tener capacidad de succión de la masa vegetal por el órgano de trabajo; 4) velocidad de corte; 5) corte y desalojo de la masa vegetal en forma continua; y 6) potencia de corte.
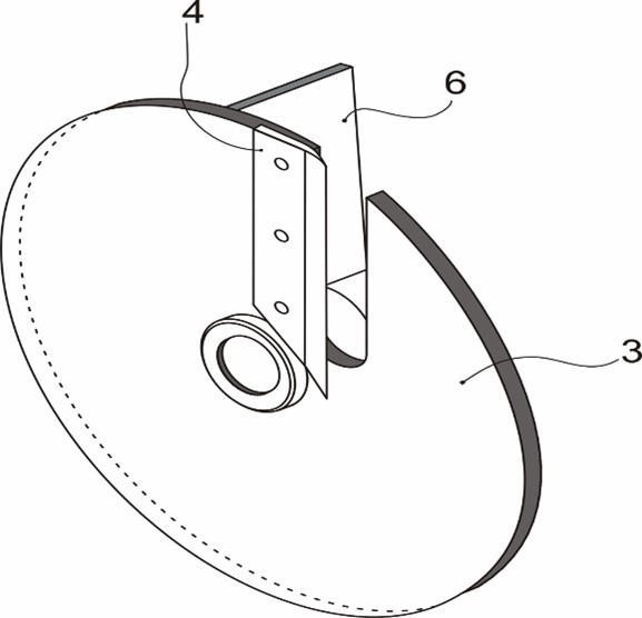
La Figura 1 presenta el análisis estático de la interacción cuchilla-masa vegetal-sufridera, el diagrama de cuerpo libre corresponde al plano perpendicular al plano de corte y es básico en el desarrollo de la máquina.

En general, la fuerza de corte en los molinos presenta un carácter variable, ya que al introducirse la cuchilla en la masa vegetal, esta se incrementa hasta la resistencia máxima de corte para después disminuir. El trabajo que realiza la fuerza de corte es invertido en dos de las funciones del proceso; la componente vertical se aplica al proceso de corte (Fc cos α), mientras que la componente horizontal (Fc senα) se invierte en el arrastre de la masa vegetal, produce energía cinética para la masa cortada y se disipa parte en el rozamiento provocado por la fuerza de fricción. En el proceso de corte debe existir una componente de la fuerza de corte en la dirección de la alimentación de la masa vegetal, que sea capaz de arrastrar la masa alimentada con una velocidad media tal que asegure el flujo continuo y adecuado a la capacidad de paso de la herramienta de corte; esto es, la capacidad de succión del material está determinada por el ángulo de arrastre (α)
Potencia de corte. Uno de los factores que influyen en el diseño de la máquina es la potencia; se liga con la capacidad del equipo y con la energía específica de corte. Matemáticamente se indica mediante la siguiente ecuación:
en la cual Ptot = Potencia total necesaria, Pu = Potencia utilizada en el corte y Pi = Potencia de inercia.
La potencia utilizada en el corte comprende: el corte, la succión y la expulsión, siendo:
Sabiendo que: Pc = Potencia necesaria para el corte; Ps = Potencia necesaria en la succión de la masa vegetal a procesar; y Pe = Potencia necesaria en la expulsión de la masa vegetal procesada.
La potencia de succión es necesaria para que el material no se atasque. En general, la metodología seguida para el cálculo de la potencia es la propuesta por Martínez-Rodríguez A. M., Valdés-Hernández P., Diaz-Suárez J., & Maturrell Padín Y. (2004). La potencia que se consume en el proceso de corte se expresa como:
donde:
Fc =Fuerza de corte;ωrotor =Velocidad angular del rotor; yr =radio del rotor.En las Figuras 2 y 3 se muestra al rotor y a la máquina, la cual fue concebida según las exigencias de los productores de ganado y cumpliendo, claro está, las condiciones de ensilaje, es decir, una máquina compacta, de pequeño formato, de fácil construcción y mantenimiento, capaz de picar hasta una tonelada por hora de penca verde de maguey y nopal, semi estacionaria, fácil de transportar y autónoma; pues en varias de las comunidades donde eventualmente se utilizará no se cuenta con energía eléctrica ni se dispone de tractor.


La descripción de la máquina se da a continuación: es accionada por un motor a gasolina (de 6.5 HP), de arranque manual y uso rudo (1), está compuesta por una tolva de alimentación (2) y una de descarga (7), un rotor (3) que dispone de cuatro navajas (4) fijas equidistantes (Figura 1), es accionado por una transmisión de banda y polea (5) desde el motor; el rotor gira a una velocidad constante de 1800 rpm. La navaja se construyó con un acero tipo AISI 304, cuya característica es que es altamente resistente a los agentes corrosivos y oxidantes; se usa en la industria alimenticia, química y petroquímica. El material troceado es expulsado por unas palas (6) que se encuentran soldadas al rotor, haciendo la función de ventilador. Las ventajas de la máquina picadora son las siguientes: 1) Se supera el picado manual y se ahorra tiempo para dedicarlo a otras actividades; 2) Se evita el chamuscado del nopal, pues al picarlo y ensilarlo se destruyen las espinas y la irritación que causan los guishes del maguey al humano durante el procesamiento y al ganado al consumirlo; 3) Con el maguey y nopal picado se facilita el mezclado con otros materiales locales de bajo costo, permitiendo mezclas con altos porcentajes de proteína cruda, nivel suficiente para el mantenimiento del ganado menor en la época seca del año. Al ser la penca de maguey muy ancha en su base (hasta 40 cm), antes de alimentarla en la máquina, se le hace un corte longitudinal. Las pruebas a las que se sometió fueron principalmente de velocidad de corte, para lo cual se trabajó con poleas de distinto diámetro (variando las relaciones de transmisión). En un inicio, y principalmente a bajas revoluciones, el motor dejaba de trabar, para lo cual se hicieron dos cosas: primero se incrementó el número de revoluciones por minuto y segundo se adhirió peso en la polea motriz. Lo anterior es entendible, pues aun y cuando la metodología seguida en el desarrollo de la máquina y el cálculo de la potencia son correctos, hay factores que dependen del material a procesar como: contenido de humedad, etapa de crecimiento, variedad de maguey o nopal, entre otros. Los resultados mostraron que el proceso tecnológico de la máquina cumple perfectamente con el objetivo planteado y que el tamaño del material es el adecuado para el ensilaje y consumo por el ganado.
Conclusión
Los resultados mostraron que el proceso tecnológico de la máquina cumple perfectamente con el objetivo planteado y que el tamaño del material es el adecuado para ensilaje y consumo por el ganado.
Agradecimientos
Se agradece a la Fundación Produce San Luis Potosí, la Empresa Enel Green Energy por el financiamiento; así como también a la Universidad Autónoma de San Luis Potosí (México) y la Universidad Estatal de Automóviles y Carreteras de Siberia (Rusia) a través del convenio marco de intercambio y cooperación académica.
Referencias
Aguirre, J. R., Charcas, H., & Flores, J. (2001). El maguey mezcalero potosino. San Luis Potosí, México: Universidad Autónoma de San Luis Potosí. Consejo Potosino de Ciencia y Tecnología.
Cervantes, M. (2002). Plantas de importancia económica en las zonas áridas y semiáridas de México. México, D. F.: Ediciones UNAM.
Cuello, C. (2004). Mejoramiento de la eficiencia en la molienda en el proceso de elaboración de mezcal potosino (Tesis de Licenciatura). Facultad de Ingeniería. Universidad Autónoma de San Luis Potosí. San Luis Potosí. Enlace: https://ninive.uaslp.mx/xmlui/bitstream/handle/i/2140/IAG1MEM00401.pdf?sequence=3
Durán-García, H. M., González-Galván, E. J., & Márquez-Pérez, U. (2012) Conditioning of nopal cactus (Opuntia spp.) for foof and deshydration. Journal of Food Agriculture & Environment, 10(1), 49-51. Enlace: https://www.wflpublisher.com/Abstract/2530
Fuentes Rodriguez, J. (1997). A comparison of the nutritional value of Opuntia and Agave plants for ruminants. Journal of the Professional Association for Cactus Development, 2, 20-24. Enlace: http://jpacd.org/downloads/Vol2/3_UCLF.pdf
Gómez, A., Pinos, J. M., & Aguirre, J. R. (2009). Manual de producción caprina. San Luis Potosí: Ediciones UASLP. Enlace: http://www.sidalc.net/cgi-bin/wxis.exe/?IsisScript=librosslp.xis&method=post&formato=2&cantidad=1&expresion=mfn=005919
Gutiérrez-Bravo, J. A., Hernández-Arriaga, I., & Cabrera-Lazarini, J. G. (2019). Diseño mecánico ágil: Nueva propuesta metodológica enfocada a proyectos de desarrollo tecnológico. Revista Ingeniería Mecánica, Tecnología y Desarrollo, 6(4) 157-167. Enlace: http://132.248.10.25/revistasomim/index.php/IMTyD/article/view/139/88
Martínez-Rodríguez, A. M., Valdés-Hernández, P., Diaz-Suárez, J., & Maturrell Padín, Y. (2004). Determinación de las condiciones de succión de la masa vegetal en los molinos desmenuzadores de tallos. Revista Ciencias Técnicas Agropecuarias, 13(4), 1-10 Enlace: https://www.researchgate.net/publication/317520895_Validacion_experimental_del_modelo_de_calculo_de_la_productividad_de_las_picadoras_de_forraje_del_tipo_de_tambor_con_alimentacion_man ual
Pinos, J. M., Zamudio, M., & González, S. S. (2008). The effect of plant age on the chemical composition of fresh and ensiled Agave salmiana leaves. South African Journal of Animal Science, 38(1), 43-50. doi: http://dx.doi.org/10.4314/sajas.v38i1.4108.
Rössel, K. D., Durán, G. H. M., & Ortíz, L. H. (2015). Técnicas de procesos agrícolas 1: Sistemática del procesamiento, corte, reducción de tamaños. México: Colegio de Postgraduados. Enlace: http://www.scielo.org.mx/scielo.php?pid=S0188-62662019000100139&script=sci_arttext
Ruiz, T. D. (2011). Uso potencial de la vaina de mezquite para la alimentación de animales domésticos del altiplano potosino. (Tesis de Maestría). PMPCA-UASLP. San Luis Potosí.
Velázquez, J. (2004). Valoración nutrimental de la planta completa y de las hojas del desvirado de magueyes (Agave salmiana Otto ex. Salm-Dyck) tiernos, quiotillos y castrados (Tesis de licenciatura). Facultad de Agronomía, Universidad Autónoma de San Luis Potosí, México.
Zamudio, D. M., Pinos-Rodríguez, J. M., González, S. S., Robinson, P. H., García, J. C., & Montañez, O. (2009). Effects of Agave salmiana Otto Ex Salm-Dyck silage as forage on ruminal fermentation and growth in goats. Animal Feed Science and Technology, 148(1), 1-11. doi: https://doi.org/10.1016/j.anifeedsci.2008.02.002
Notas
Notas de autor
*Autor de correspondencia: José Luis Pulido Delgado, email: jpulido@uaslp.mx