Desempeño térmico del techo verde, una alternativa viable para la edificación, en Tuxtla Gutiérrez, Chiapas, México
Green Roof Thermal Performance of a viable alternative for the building, in Tuxtla Gutierrez, Chiapas
Desempeño térmico del techo verde, una alternativa viable para la edificación, en Tuxtla Gutiérrez, Chiapas, México
Revista Legado de Arquitectura y Diseño, núm. 18, pp. 103-113, 2015
Universidad Autónoma del Estado de México
Resumen: Más de tres cuartas partes de las viviendas en Tuxtla Gutiérrez, Chiapas, tienen techo convencional de concreto reforzado, sistema constructivo responsable de las altas temperaturas superficiales, amplia oscilación, ambos como consecuencia de la transferencia de calor radiante del sol a través del techo. Atendiendo dicho problema, en este trabajo se hizo una comparación experimental de la reacción ante el calor entre el techo de concreto reforzado y el techo verde, avanzando en la propuesta de estrategias a través de esta parte de la envolvente de la edificación, con el objetivo de demostrar la viabilidad térmica del techo verde aplicado a la edificación, al reducir el paso de calor y brindar mejores condiciones térmicas al usuario, en lugares con clima cálido subhúmedo. Se utilizó la metodología de la climatología dinámica, con las normales climatológicas, en donde se identificó el periodo de más calor, en el cual se ubicó un periodo representativo de calor, por último, se determinó un día típico experimental. Se halló diferencia importante entre los techos comparados, el sistema de techo verde demostró disminuir la temperatura superficial interior, reducir oscilación y tener mejor desempeño térmico que el techo de concreto reforzado. Se adjudica dicha ventaja principalmente a los bajos valores de densidad y de conductividad térmica que poseen los materiales que constituyen el techo verde y reducen el paso de calor a través de estos componentes. Consecuentemente, el techo aporta menos calor innecesario al usuario, ubicándolo en estadios térmicos adecuados.
Palabras clave: envolvente, inercia térmica, techo verde, vivienda.
Abstract: More than three quarters of the homes in Tuxtla Gutierrez, Chiapas conventional roof with reinforced concrete construction system responsible for the high surface temperatures, wide swing, both as a result of the transfer of radiant heat from the sun through the roof. Considering this issue, it became an experimental comparison of the reaction heat between the reinforced concrete roof and green roof in this work forward in the proposed strategies through this part of the envelope of the building, to demonstrate the viability of green roof heat applied to the building, reducing the passage of heat and provide better thermal conditions to the user, in places with warm weather Sub wet. The methodology of dynamic weather was used with normal weather, where the period of more heat, in which a representative heat period was located was determined and finally a typical experimental day was identified. This significant difference was found between compared roofs, green roof system, shown to reduce the inner surface temperature, reducing swing and have better thermal performance than the reinforced concrete roof. This advantage is awarded mainly to low values of density and thermal conductivity have the materials constituting the green roof and reduce heat flow through these components. Consequently, the roof contributes less unnecessary heat to the user, placing in appropriate thermal stages.
Keywords: enclouse, thermal inertia, green roof, housing.
INTRODUCCIÓN
Con el desarrollo económico, el consumo de energía e impacto ambiental se ha convertido en preocupación de todo el mundo. La operación de edificios comerciales y habitacionales representa, en Canadá 33%, en Estados Unidos 40% y en México 33%, (CEC, 2008). México al igual que el mundo, enfrenta condiciones preocupantes de agotamiento de los recursos energéticos de origen fósil y aunque la cultura del ahorro de energía se inició hace más de una década, los beneficios aún no son palpables. Más del 75% de la energía que se consume en México, proviene de la quema de hidrocarburos correspondientes a energéticos no renovables (CONAFOVI, 2006). Actualmente, el sector relacionado con los edificios consume 19% del total de la energía del país, las viviendas representan 83.8% de ese total, esto equivale al 16.51% del total de la energía que se consume en la República Mexicana (SENER, 2013), un sector importante, no sólo por el consumo energético que representa sino por el porcentaje de población que son los usuarios de las viviendas. Por lo tanto, la mejora de la eficiencia energética y reducir el consumo de energía del edificio, para posibilitar el acceso a las empresas e individuos a la energía como recurso estratégico, constituye una de las políticas públicas prioritarias en México (Gobierno de la República, 2015).
De acuerdo con la composición de la construcción con relación al consumo de energía, el rendimiento térmico de la envolvente del edificio es el factor principal que afecta el consumo de energía. Por lo tanto, las techumbres que contienen aislamiento térmico exterior no sólo pueden crear un ambiente interior más cómodo, si no también reducir el consumo de energía del sistema de acondicionamiento artificial.
El comportamiento térmico de un edificio se ve afectado por la energía solar que absorbe la techumbre. En lugares ubicados en la franja tropical, en condiciones de cielo despejado, la radiación solar puede incidir en el techo hasta aproximadamente 1 kw/m2 y de esa radiación normalmente es absorbida entre 20 y 95%, en consecuencia la temperatura ambiente y la radiación solar, especialmente la indeseable del exterior hacia el interior, son altas (Suehrcke, et al., 2008), al grado de que es necesario implementar estrategias para reducir el paso de calor al espacio habitable. El calor predomina prácticamente en todo el territorio mexicano y durante todo el año, únicamente en los meses de diciembre, enero y febrero existe tendencia a las bajas temperaturas, según los mapas del bioclima de la República Mexicana (Morillón, et al., 2002), consecuentemente ocurre calentamiento al interior de la vivienda, situación que se ha evidenciado en los trabajos del cuerpo académico Componentes y Condicionantes de la Vivienda (COCOVI) de la Facultad de Arquitectura de la Universidad Autónoma de Chiapas (FA-UNACH), sobre el tema. Tuxtla Gutiérrez se localiza en una zona tropical con lluvias en verano, con tipo climático Awo (Koeppen, 1900), (Ayllón, 1996), (García, 1998).
El componente de la envolvente que más calor aporta al interior de la vivienda es el techo, por ser la mayor superficie expuesta a la radiación directa del sol (Castañeda & Vecchia, 2007). Por otro lado, 80 % de los techos de las viviendas en Tuxtla Gutiérrez, Chiapas, son de concreto armado (INEGI, 2010).
El concreto reforzado por su alta densidad, conduce mucho calor, puesto que a mayor densidad de un material, más conducción de calor (González, 1997), lo que obliga a climatizar el espacio interior de forma artificial y en este sentido, hay coincidencia con lo que sucede en otros contextos, donde las soluciones generales de techos presentan deficiencias de aislamiento térmico (Lorenzo, 2005). Por lo anterior, el concreto reforzado es el referente importante por mejorarse.
En trabajos previos en COCOVI, la temperatura superficial interior de los techos de concreto armado ha registrado 45 ºC y se ha mantenido durante 12 horas por arriba de 30 ºC, temperatura considerada como frontera para que el ser humano no sufra problemas en su metabolismo por estrés térmico cuando la piel tiene ganancias de calor en exceso (Castañeda, 2008), debido a que la temperatura de la piel se mantiene entre 31 y 34 ºC (Auliciems & Szokolay, 1999).
METODOLOGÍA
Según la clasificación climática que estableció Koeppen en 1900 (Ayllón, 1996), (García, 1998), Tuxtla Gutiérrez se ubica en la franja tropical, tiene clima cálido subhúmedo Awo, temperatura media anual mayor de 22 ºC y temperatura del mes más frío mayor de 18 ºC. Precipitación del mes más seco entre 0 y 60 mm; lluvias de verano con índice de precipitación total menor de 43.2 mm y porcentaje de lluvia invernal del 5 al 10.2% del total anual.
Para mejor comprensión y organización, este apartado se estructura en cuatro tópicos: análisis climático, sistema experimental, aparato experimental y procedimiento experimental.
Análisis climático
En este trabajo se comparó las temperaturas superficiales de dos sistemas de techo: techo de concreto reforzado y techo verde, este último es una respuesta al problema descrito, mediante la identificación de un periodo representativo de calor y a su vez, con la utilización de las normales climatológicas para Tuxtla Gutiérrez registradas en 59 años en donde se muestra el periodo de más calor que es el comprendido entre el 15 de abril y 15 de mayo, de acuerdo con la figura 1.

Como las normales climatológicas muestran el periodo comprendido entre el 15 de abril y el 15 de mayo como el periodo crítico, de más calor en el año, en este periodo se ubicó el experimento entre el 8 y 30 de abril de 2014 (ver figura 2), dentro del cual se definió un periodo representativo de calor, dominado por una masa de aire caliente en donde se observa un ritmo climático (Monteiro, 1971).
El periodo representativo de calor se ubicó entre el 23 y 30 de abril de 2014 y a partir de ahí, se definió un día típico experimental (Vecchia, 1997) el 28 de abril porque, como muestra la figura 3, la temperatura de ese día superó apenas en 1.76 ºC a las temperaturas medias de las máximas de las normales climatológicas para Tuxtla Gutiérrez, Chiapas.


Este estudio se centró en la comparación de los efectos sobre el medio ambiente interior causado por las propiedades térmicas de los materiales que constituyen los techos experimentales. El diseño básico de los dos techos experimentales es el siguiente: los techos están orientados al sur y son de 2.20 y 2.726 m de alto respectivamente, con una superficie de 9 m2, según se observa en la figura 8, y en su composición. De acuerdo con lo que se muestra en la figura 4, el techo de concreto reforzado, de 10 cm de espesor, los principales componentes de este sistema es cemento, agregados y acero que lo refuerza en ambos sentidos. Como se observa en la figura 5, la composición del techo verde consta principalmente de cinco capas de materiales, más la losa donde se ha colocado. En el orden del proceso constructivo, las cinco capas son: impermeabilizante de membrana, drenante con PET comprimido, filtrante de fieltro, sustrato vegetal y vegetación, cuyos valores de densidad, conductividad y espesor están definidos en las tablas 1 y 2.
Sistema experimental
En el trabajo se compararon dos techos experimentales, en el laboratorio de la vivienda bioclimática de la Universidad Autónoma de Chiapas que se encuentra en la latitud 16.75º, longitud 93.1º, altitud media 550 msnm (SMN, 2015). Uno es el techo de concreto reforzado, según INEGI, 80% de las viviendas en Tuxtla Gutiérrez, Chiapas, tienen techos con estas propiedades (INEGI, 2010). La comparación del techo de concreto fue ante otro techo experimental, el techo verde. Los materiales utilizados en la construcción de los dos techos experimentales se mencionan en las Tablas 1 y 2. Nótese que los valores de densidad y de conductividad más altos corresponden al concreto y el acero, principales componentes del techo de concreto reforzado.
| Nombre | Material de construcción | Densidad kg/m3 | Conductividad térmica (W /mK) | Espesor (mm) |
| Impermeabilizante | Membrana | 1,127.0 | 0.17 | 4.0 |
| Concreto | Concreto | 2,300.0 | 1.74 | 100.0 |
| Acero | Acero | 7,800.0 | 52.3 | 12.7 |
| Nombre | Material de construcción | Densidad kg/m3 | Conductividad térmica (W /mK) | Espesor (mm) |
| Vegetación | Vegetación | |||
| Sustrato | Suelo | 0.0015 | 0.582 | 100.0 |
| Filtrante | Fieltro | 0.04 | 2.0 | |
| Drenante | Pet | 30.0 | ||
| Impermeabilizante | Membrana | 1,127.0 | 0.17 | 4.0 |
| Domotej | Losa compresión, Domotej | 2,300.0 | 1.74 | 40.0 |





Procedimiento experimental
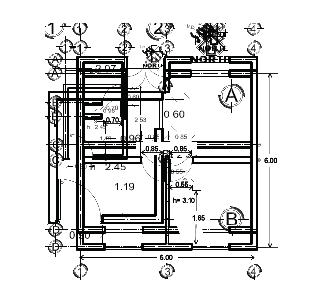
Se midieron las temperaturas de bulbo seco del aire exterior y las temperaturas superficiales interiores de los techos de concreto reforzado y el techo verde. Según la figura 6, la celda experimental con techo de concreto reforzado mide 2.07 x 2.53 m a ejes, y el termopar se colocó en el centro del espacio a una altura de 2.45 m. El techo verde es una vivienda experimental de 6.00 x 6.00 m con dos recamaras de 9 m2 cada una, una cocineta, un baño y un espacio para comer y estar, el sensor fue colocado en una habitación de 3.00 x 3.00 m, igual a 9.00 m2, a 0.55 y 1.65 m de las paredes a una altura de 3.10 m de acuerdo con la figura 7. Los sensores se aislaron con grasa de silicón que tiene una gran disipación térmica y funciona dentro de un amplio rango de temperatura, no escurre, retomado de aplicaciones en la rama de la electrónica.
Se midieron con los registradores automáticos antes descritos, los siguientes parámetros en el experimento: Temperatura Superficial Interior (TSI) tanto del techo de concreto reforzado como del techo verde. Se instaló un punto de medición en la superficie interior de cada uno de los techos experimentales, ambos con orientación sur.
Se instaló un registrador automático en el exterior, entre las celdas que tienen los techos experimentales a 3.00 m del suelo para registrar la humedad relativa y la temperatura de bulbo seco del aire exterior.
Conviene anotar que con el escalamiento o modelos a escala piloto de construcciones y procesos para la producción de nuevas tecnologías, y con el uso adecuado de reglas de similaridad (Anaya Durand & Pedroza Flores, 2008), se hicieron mediciones en una celda experimental, situación que se traslada a todos los espacios de la edificación en general, puede colocarse el techo verde.
RESULTADOS
En la figura 10 se muestran los registros tanto de temperatura como de humedad relativa en el día típico experimental, donde se observa que la temperatura del aire exterior y la humedad relativa sufre cambios cíclicos en el tiempo, con direcciones opuestas. A las 15:30 h, la temperatura alcanza el valor máximo de 36.96 ºC, casi coincidiendo con esa hora la humedad relativa alcanza el valor mínimo de 35.27%. A las 7:00 h, la temperatura alcanza su valor mínimo de 22.71 ºC, y prácticamente en ese mismo horario la humedad relativa alcanza el valor máximo de 80.66%. La razón principal es que la temperatura del aire sube debido al calor creciente por radiación solar en el día, a diferencia de la humedad relativa que baja durante el día. Por la noche como no existe radiación solar, la temperatura del aire baja y la humedad relativa sube. En el día típico experimental la temperatura osciló entre 22.71 ºC y 36.96 ºC, en tanto que la humedad relativa, las mediciones estuvieron en el rango entre 35.27 y 80.66%, la información mencionada, refleja las características climáticas de calor y humedad en Tuxtla Gutiérrez, Chiapas.

En la figura 11 se muestran los registros térmicos obtenidos durante el día típico experimental donde, se presenta la comparación del comportamiento térmico de los dos sistemas de techo: el techo de concreto reforzado y el techo verde. Los sistemas de techo presentaron temperaturas superficiales interiores iguales en dos momentos, a las 9:30 h con 31.66 ºC y a las 22:00 h con 32.25 ºC. El primer momento ocurre cuando la temperatura superficial de la cubierta de concreto reforzado va en vertiginoso ascenso y el segundo cuando la temperatura superficial de la cubierta de concreto reforzado va en franco descenso.
Por organización, los resultados se desglosan en dos tópicos: techo de concreto reforzado y techo verde.
Techo de concreto reforzado
En lo que se refiere a temperaturas, este sistema de techo registra los siguientes extremos: el máximo 51.88 ºC a las 14:30 h y el mínimo 24.94 ºC a las 7:00 h, por lo mismo su amplitud térmica es de 26.94 ºC, amplitud que presenta en 7.5 h. Registra 21.88 ºC por arriba de los 30 ºC y se mantiene durante 14 h, dimensión A, por arriba del parámetro adoptado.
Techo verde
Con relación a temperaturas este sistema de techo registra de manera menos drástica que el anterior, los siguientes extremos: el máximo 32.20 ºC a las 20:30 h y el mínimo 30.09 ºC a las 9:00 h, por lo mismo su amplitud térmica es de 2.11 ºC, diferencia que presenta en prácticamente 11.5 h, registra 2.20 ºC por arriba de los 30 ºC, y se mantiene durante 22 h por encima del parámetro adoptado como límite.
En la tabla 3 se muestra los resultados más relevantes de los dos techos comparados en cuanto a temperatura y tiempo se refiere, entre ellos la diferencia de temperatura máxima registrada de los dos techos comparados es de 19.68 ºC, la temperatura máxima alcanzada por el techo verde es 38% más pequeña que el de concreto reforzado. También es relevante mencionar, que mientras para el techo de concreto reforzado la amplitud térmica, o sea la diferencia entre la máxima y la mínima temperatura registrada, es de 26.94 ºC para el techo verde es apenas de 2.11 ºC, la amplitud térmica del techo verde es 92% más pequeña que el de concreto reforzado.
Otro valor importante es que mientras el techo de concreto reforzado alcanza su máxima temperatura a las 14:30 h, el techo verde logra su máxima temperatura a las 20:30 h, la diferencia entre esos dos horarios se le llama retardo térmico, cuyo valor es de 6:00 h.
Por último, se le llama exceso, a la temperatura que rebasa el parámetro de 30 ºC adoptado como frontera o límite para que el ser humano no sufra problemas en su metabolismo. El techo de concreto excedió dicho límite en 21.88 ºC, mientras que el techo térmico excedió apenas el límite en 2.20 ºC, el exceso de temperatura del techo verde es 90% menos que el de concreto reforzado.

| Techo | Diferencia | Porcentaje | |||
| Concreto reforzado | Techo verde | ||||
| Temperatura (o C) | Máxima | 51.88 | 32.20 | 19.68 | 38% |
| Mínima | 24.94 | 30.09 | 5.15 | 17% | |
| Amplitud térmica | 26.94 | 2.11 | 24.83 | 92% | |
| Tiempo (horas) | Máxima | 14:30 | 20:30 | 06:00 | 41% |
| Mínima | 07:00 | 09:00 | 02:00 | 22% | |
| Amplitud térmica | 07:30 | 11:30 | 04:00 | 35% | |
| Temperatura (oC) Tiempo (horas) | Exceso (Rebasa 30 oC) | 21.88 | 2.20 | 19.68 | 90% |
| 14:00 | 22:00 | 08:00 | 36% | ||
DISCUSIONES
Los resultados muestran ventajas que favorecen al techo verde, principalmente con el retardo térmico de 6:00 h y la diferencia de la temperatura superficial entre los dos sistemas de techo de 19.68 ºC y en consecuencia el exceso de temperatura que también es de 19.68 ºC. Las diferencias reflejadas en los resultados se deben a las propiedades térmicas y físicas de los materiales componentes de cada uno de los techos. El acero y el concreto, principales componentes del techo de concreto reforzado, tienen valores de densidad de 7,800 y 2,300 kg/m3 respectivamente, por lo que sus coeficientes de conductividad térmica son valores altos de 52.3 y 1.74 W/mk respectivamente (tabla 1). Lo que está provocando las altas temperaturas registradas en este techo.
El Domotej del techo verde tiene valores de conductividad de 1.74 W/mk y los demás materiales poseen valores de conductividad de 0.17, 0.04 y 0.582 de impermeabilizante, filtrante y sustrato vegetal respectivamente (tabla 2). Los valores bajos de conductividad térmica de estos materiales son los responsables de que el calor no ingrese a la superficie interior del techo experimental techo verde, eso explica las temperaturas más bajas que registró este sistema de techo. El techo de concreto reforzado tiene valores de conductividad más altos que el techo verde, esto explica por qué conduce a mayor velocidad y más calor que hacen la diferencia de temperatura superficial entre los dos techos.
Las propiedades de los materiales también son responsables del retardo térmico entre los dos techos, donde el calor específico juega un papel importante, al definirse éste como una magnitud física que indica la capacidad de un material para almacenar energía interna en forma de calor, y puesto que cada material tiene diferente valor que al relacionarlo con el volumen total del techo (calor específico volumétrico), se tiene la cantidad total que es capaz de almacenar y que se observa en el retardo térmico de 6:00 h entre los dos techos.
CONCLUSIONES Y RECOMENDACIONES
El techo de concreto reforzado, sistema de utilización masiva en Tuxtla Gutiérrez, por los altos valores de densidad, conductividad y calor específico de los materiales que componen a este sistema de techo (cemento, arena, grava, acero), favorece la ganancia y acumulación de calor en exceso y se lo transmite al usuario.
El techo verde tuvo mejor desempeño térmico, puesto que las aportaciones a la temperatura interior de la vivienda en clima cálido subhúmedo, es menor que lo que aporta el techo de concreto reforzado, se identifica principalmente al suelo como responsable de esta diferencia. Tiene una mejor reacción ante el calor que el techo de concreto reforzado, reduce el paso de calor por el techo, responde mejor a las exigencias climáticas de poblaciones con clima cálido subhúmedo, lo que brinda mejores condiciones térmicas al usuario de la edificación, demostrando con esto su viabilidad desde el aspecto térmico.
AGRADECIMIENTOS
Se agradece a la Universidad Autónoma de Chiapas (UNACH), a través de la Dirección General de Investigación y Posgrado (DGIP) por los recursos recibidos para la realización de este trabajo de investigación, y al mismo tiempo se reconoce al Consorcio de Universidades Mexicanas (CUMex) y a las universidades involucradas en el Doctorado Interinstitucional de Ingeniería Civil (DIIC) por los recursos aportados para la asistencia a la recepción de cursos y evaluaciones en el programa.
Referencias
Anaya Durand, A. & Pedroza Flores, H. (2008), "Escalamiento, El arte de la Ingeniería Química: Plantas piloto, el paso entre el huevo y la gallina", en Tecnología, ciencia, educación, enero-junio, vol. 23(1), pp. 31-39.
Auliciems, A. & Szokolay, S. V. (1999), "Thermal Comfort", PLEA: Passive and Low Energy Architecture, Department of Architecture. University of Queesland.
Castañeda, G. (2008), Adaptacao Tecnológica para teto de habitacao social: Estudo de Caso em Tuxtla Gutiérrez, Chiapas, México, Universidad de São Pablo, Brasil, São Carlos, Brasil.
Castañeda, G. & Vecchia, F. (2007), "Sistema de techo alternativo para vivienda progresiva en Tuxtla Gutiérrez, Chiapas, Mexico", en Ingeniería, Revista Académica de la FI-UADY, pp. 21-30.
CEC (2008), Green Building in North America, Opportunities and Challenges, Comission Environmental Cooperation, Montreal Canada.
CONAFOVI (2006), Uso eficiente de la energía de la vivienda, CONAFOVI, México.
García, E. (1998), Climas (Clasificación de Köeppen, modificado por García) Escala 1:1000,000, CONABIO, s/l.
INEGI (2010), Censo de Población y Vivienda, 2010, INEGI, s/l.
Lorenzo, P. (2005), Un techo para vivir, tecnologías para viviendas de producción social en América Latina, CYTEC Universidad Politécnica de Cataluña, España.
Monteiro, C. A. (1971), "Análise rítmica em Climatologia: Problemas da atualidade climática e achegas para um programa de trabalho", Instituto de Geografia-IGEOG IGEOG USP, Serie Climatología No 01, pp. 47-53.
Morillón, D., Saldaña, R., Castañeda, I. & Miranda, U. (2002), "Atlas Bioclimático de la Republica Mexicana", en Energías Renovables y Medio Ambiente, pp. 57-62.
SENER (2011), NOM-020-ENER-2011, Eficiencia energética en edificaciones, Envolvente de edificios para uso habitacional, Diario Oficial, México.
SENER (2013), Balance Nacional de Energía 2012, SENER, México.
SENER (2013), SENER, [En línea] http://www.sener.gob.mx/res/PE_y_DT/pub/2013/Balance_2013.pdf, consultado el 6 de marzo de 2015.
SMN (2015), Sistema Meterológico Nacional (SMN); Comision Nacional del Agua (CNA), [En línea] http://smn.cna.gob.mx/observatorios/historica/tuxtla.pdf, consultado el 25 de febrero de 2015.
Suehrcke, H., Peterson, E. & Selby, N. (2008), "Effect of roof solar reflectance on the building heat gain in a hot climate", en Energy and Buildings, pp. 2224-2235.
Tejeda Martínez, A. & Rivas Camargo, D. A. (2003), "El Bioclima Humano en Urbes del Sur de México para condiciones de duplicación de CO2 Atmosférico", en Investigaciones Geográficas, agosto, número 051, Universidad Nacional Autónoma de México, pp. 37-52.
Trujillo, R. (2014), Eficiencia Energética en la edificación en Tuxtla Gutierrez, Chiapas, usando Techos verdes, Universidad Autónoma de Chiapas, Tuxtla Gutiérrez, Chiapas.
Vecchia, F. (1997), Clima e Ambiente Construido Tese (Doutorado), Universidad de São Paulo, São Paulo.