Revisão
Práticas grupais no âmbito jurídico brasileiro focadas na violência: revisão integrativa
Group practices in the Brazilian legal context focused on violence: integrative review
Prácticas grupales en el ámbito jurídico brasilero enfocadas en la violencia: revisión integradora
Práticas grupais no âmbito jurídico brasileiro focadas na violência: revisão integrativa
Revista Família, Ciclos de Vida e Saúde no Contexto Social, vol. 6, núm. 4, pp. 785-795, 2018
Universidade Federal do Triângulo Mineiro

Recepção: 22 Janeiro 2018
Aprovação: 14 Agosto 2018
Resumo: Este estudo tem como objetivo apresentar uma revisão integrativa sobre práticas grupais realizadas em âmbito jurídico, acerca da temática violência, no contexto brasileiro. A revisão foi realizada por meio das bases de dados LILACS, PePSIC, PsycINFO e SciELO, no primeiro semestre de 2017, considerando o período de 2000 a 2016. A partir dos critérios de inclusão e exclusão foram recuperados 16 artigos. Os estudos se caracterizaram como empíricos; foram realizados com vítimas, autores e profissionais que atuam com a temática violência; focaram práticas grupais eficazes em relação a violência no contexto jurídico. Houve indícios de falta de capacitação de profissionais dessa área, em parte da produção analisada. Constatou-se que as configurações grupais podem ser formas eficazes, e adequadas de atendimento no âmbitodo judiciário, sendo um recurso disponível para os profissionais, e comoforma de tratamento para vítimas e agressores.
Palavras-chave: Violência, Psicoterapia de grupo, Sistema de justiça.
Abstract: This study aims to present an integrative review on group practices carried out in the legal context about the issue of violence in the Brazilian context. The review was carried out in the LILACS, PePSIC, PsycINFO and SciELO databases, in the first half of 2017, considering the period from 2000 to 2016. Based on the inclusion and exclusion criteria, 16 articles were retrieved. The studies were characterized as empirical. They were carried out with victims, authors and professionals working with violence and focused on group practices related to violence in the legal context. There was evidence of lack of training of professionals in this area in part of the productions analyzed. It was found that group configurations can be effective and adequate forms of care in the judicial sphere, being a resource available to professionals, and a form of treatment for victims and aggressors.
Keywords: Violence, Psychotherapy group, Justice administration system.
Resumen: El objetivo de este estudio es presentar una revisión integradora sobre prácticas grupales realizadas en ámbito jurídico, acerca de la temática de la violencia, en el contexto brasilero. La revisión fue realizada por medio de las bases de datos LILACS, PePSIC, PsycINFO e SciELO, en el primer semestre de 2017, considerando el período de 2000 a 2016. A partir de los criterios de inclusión y exclusión fueron recuperados 16 artículos. Los estudios se caracterizaron como empíricos; fueron realizados con víctimas, autores y profesionales que actúan con la temática violencia; enfocar prácticas grupales eficaces en relación a la violencia en el contexto jurídico. Hubo indícios de falta de capacitación de profesionales de esa área, en parte de la producción analizada. Se constató que las configuraciones grupales pueden ser formas eficaces, y adecuadas de atendimiento en el ámbito del judiciario, siendo un recurso disponible para los profesionales, y como forma de tratamiento para víctimas y agresores.
Palabras clave: Violencia, Psicoterapia de grupo, Sistema de justicia.
INTRODUÇÃO
A violência provavelmente sempre fez parte da história e das transformações que a humanidade passou1. Ela atinge todos os setores da sociedade e é um fenômeno multideterminado, o que torna complexo os estudos realizados sobre essa temática e a sua consequente definição2.
A Organização Mundial da Saúde (OMS) define violência como:
“uso intencional da força física ou do poder real ou em ameaça, contra si próprio, contra outra pessoa, ou contra um grupo ou uma comunidade”³.
E, resulta em:
“qualquer possibilidade de resultar em lesão, morte, dano psicológico, deficiência de desenvolvimento ou privação”3.
A OMS esclarece que a violência é um problema de saúde pública e a dividiu em três amplas categorias, de acordo com as características daqueles que cometem o ato violento: a) violência autodirigida, caracterizada por comportamento suicida e autoagressão; b) violência interpessoal, subdividida em violência de família e parceiros íntimos e violência na comunidade; e, c) violência coletiva, ramificada em violência social, política e econômica1,3.
O fenômeno da violência é humano, social e tem peso cultural, uma vez que, não se conhece sociedade isenta de práticas violentas4. A palavra “poder” reflete crescente reconhecimento da comunidade científica em incluir a violência que não necessariamente produza sofrimento físico ou morte, mas que impõe sofrimento psíquico e emocional a indivíduos, famílias, comunidades e sistemas de saúde, como a violência contra a mulher, o idoso e a criança, que podem resultar em problemas psicológicos e sociais1.
A natureza da violência pode, ainda, ser reconhecida em quatro modalidades de expressão: física, que produz lesões, traumas, feridas, dores ou incapacidades em outrem; psicológica, que inclui agressões verbais ou gestuais com o objetivo de aterrorizar, rejeitar, humilhar a vítima, restringir-lhe a liberdade ou, ainda, isolá-la do convívio social; sexual, que diz respeito ao ato ou ao jogo que ocorre nas relações hetero ou homossexuais e visa à estimular a vítima ou a utilizá-la para obter excitação sexual nas práticas eróticas, pornográficas e sexuais impostas por meio de aliciamento, violência física ou ameaças; e, negligências, abandonos e privação de cuidados, que são caracterizadas pela ausência, recusa ou deserção de atendimento necessário a alguém que deveria receber atenção e cuidados4. Sabe-se que as várias naturezas da violência interagem entre si e que seus efeitos afetam diretamente a saúde da população.
Apesar de a violência estar presente nas sociedades, a humanidade não deve aceitá-la como aspecto inevitável de sua própria condição. Existem e sempre existiram sistemas que tentam preveni-la ou limitá-la, tais como religiões, filosofias, leis penais e leis comunitárias1. Dentro das possíveis formas de prevenção e tratamento às consequências da violência, encontram-se as práticas grupais, que podem ser planejadas para ocorrerem em instituições que lidam direta ou indiretamente com os diferentes modos de violência.
Grupos e práticas que se voltam para processos grupais têm sido compreendidos e estudados de diversas maneiras5-8. No Brasil, sob forte influência da escola argentina, práticas grupais principiaram nos anos 1950 e cresceram em prestígio até o início dos anos 1980. De lá para cá, diversas crises marcaram seu histórico, ao ponto de, nos anos 1990 e 2000, haver decréscimo no interesse.
Todavia, recentemente, impulsionadas pela reforma psiquiátrica e por políticas públicas em saúde mental, elas têm reencontrado terreno fértil em instituições, aliadas à pesquisa teórica e à prática ocorrida no âmbito das universidades9. Esse novo movimento histórico se presenciaria no cenário jurídico brasileiro, por meio de produções científicas?
No campo da prevenção e do tratamento de consequências de práticas violentas, processos grupais podem ser recurso promotor de conscientização dos direitos das vítimas e instrumento de cuidado e prevenção de agravos à saúde mental dos envolvidos10-16.
Considerando que a Psicologia Jurídica brasileira tem um histórico próprio e que sua construção, assim como a das práticas grupais, é dinâmica10, e que seus profissionais atuam junto a pessoas e em cenários resultantes de processos de violência, buscar compreender se práticas grupais têm sido organizadas diante das demandas relacionadas à violência, em contextos jurídicos, mostra-se relevante nos dias atuais.
E, se acaso venham sendo organizadas, há reflexos delas no cenário acadêmico? Portanto, este estudo tem como objetivo apresentar uma revisão integrativa sobre práticas grupais realizadas em âmbito jurídico, acerca da temática violência, no contexto brasileiro.
MÉTODO
Trata-se de uma revisão integrativa de literatura (RIL), que apresenta uma síntese de vários estudos publicados e evidencia conclusões sobre uma certa área dosaber17,18.
Para a operacionalização da RIL as seguintes etapas são seguidas: a) identificação do tema e elaboração da questão norteadora; b) estabelecimento dos critérios de inclusão e exclusão/busca ou amostragem da literatura; c) definição das informações a serem categorizadas; d) avaliação dos estudos incluídos na revisão; e) interpretação de resultados; e f) apresentação da revisão/síntese do conhecimento18.
As buscas foram realizadas nas bases eletrônicas LILACS, SciELO, PePSIC e PsycINFO, no primeiro semestre de 2017. Foram utilizadas combinações de unitermos relacionados aos três principais focos dessa RIL: violência, práticas grupais e Psicologia Jurídica, nos idiomas português e inglês (violência, processos grupais, grupos, psicoterapia de grupo, práticas de grupo, grupoterapia, psicologia e judiciário, psicologia forense, psicologia criminal e psicologia jurídica).
Na base de dados LILACS a pesquisa foi realizada com a combinação psicologia e judiciário, porque os unitermos psicologia jurídica, prática de grupo e psicologia forense não eram disponíveis.
Considerou-se os seguintes critérios de inclusão: (a) publicados em periódicos científicos, por se tratar de estudos que passam por processo de avaliação e revisão depares; (b) publicados em português e inglês; (c) publicados entre janeiro de 2000 e dezembro de 2016; (d) disponíveis na íntegra; (e) abarcavam violência, contexto jurídico e práticas de grupo, conjuntamente; e (f) relatavam práticas e/ou pesquisas realizadas no contexto brasileiro, ainda que os resultados tivessem sido publicados em periódicos editados no exterior. Foram excluídos, por sua vez, documentos que tinham os seguintes suportes de informação: teses, dissertações, monografias, livros, capítulos, resumos, obituários, resenhas, cartas, anais de congressos, editoriais e artigos de revisão.
A coleta de dados foi realizada por dois autores, separadamente (avaliações independentes), no primeiro semestre de 2017. Exceto por essas características, os demais procedimentos seguiram o proposto na literatura especializada17,18.
Os resultados foram apresentados e considerados qualitativamente19, utilizando-se dos próprios estudos acessados para estabelecimento de diálogo.
Os artigos recuperados foram categorizados numa planilha Excel, de acordo com: título, autores, ano, tipo de estudo, tipo de violência objeto da atenção/pesquisa, tipo de prática/processo de grupo, local onde o grupo foi realizado, enfoque teórico que amparou os atendimentos, participantes alvo dos atendimentos, instrumentos utilizados para avaliação e/ou desenvolvimento das atividades, objetivos e principais resultados e conclusões.
Essas categorias foram organizadas em eixos temáticos, com vistas a responder aos objetivos da RIL: (a) perfil das publicações; (b) tipos de violência; e (c) caracterização das práticas grupais.
RESULTADOS
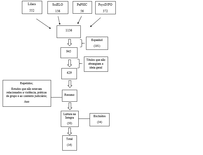
As buscas iniciais resultaram em 1136 artigos, sendo que 552 registros foram encontrados na base LILACS, 156 na SciELO, 56 na PePSIC e 372 na PsycINFO. Em consideração aos critérios de inclusão e exclusão, foram recuperados e analisados 16 artigos, que compuseram o corpus deste estudo (Figura 1).

Em relação ao período de análise proposto nessa revisão, os estudos recuperados foram publicados entre os anos de 2004 a 2013, não havendo publicações no ano de 2007 e no intervalo de 2014 a 2016. Quanto ao tipo de estudo, os artigos eram de caráter empírico, caracterizando as publicações focadas nas práticas de atuação.
Em relação aos periódicos divulgadores, o número de maior ocorrência se deu na Psicologia Clínica (n=2) e na Psicologia & Sociedade (n=2). A maioria dos estudos (n=14) estava publicada em periódicos de responsabilidade editorial da Psicologia e dois deles em outras áreas do conhecimento (Revista Latino Americana de Enfermagem e Revista Brasileira de Saúde Materno Infantil) (Figura 2).
Pode-se elencar três principais tendências de objetivos dos estudos recuperados, que buscaram apresentar resultados de práticas grupais realizadas com três diferentes públicos: (1) profissionais que trabalham nos contextos jurídicos; (2) vítimas ou pares que sofreram a violência e (3) autores de violência (Figura 2).
As tendências dos objetivos apresentados estão em consonância com o público alvo retratado nas pesquisas (Figura 3). Os participantes dos estudos que se enquadraram na primeira tendência (profissionais) são psicólogos, juízes, assistentes sociais, educadores acompanhantes de jovens que cumprem medidas socioeducativas, oficiais de justiça, assessores, técnicos e analistas judiciários.

Tipos de violência
Sobre os tipos de violência enfocados nos estudos, observou-seque a violência sexual foi o assunto mais mencionado, seguido de violência física e de violência institucional (Figura 3).

DISCUSSÃO
Características das práticas grupais
Na literatura sobre grupoterapias, Zimerman8 classifica os grupos em dois grandes conjuntos, os operativos e os terapêuticos, sendo os primeiros subdivididos em: de ensino-aprendizagem, institucionais e comunitários.
Os grupos terapêuticos, por sua vez, contemplam aqueles de autoajuda e os de psicoterapia. Por outro lado, Tubert-Oklander e Tubert20 sublinham o alcance filosófico do pensamento pichoniano sobre grupos, criticando o emprego do termo “grupo operativo” como um “tipo de grupo”.
Já Castanho21 concorda com estes autores e afirma que Pichon Rivière designa como “grupo terapêutico” o grupo operativo cuja tarefa seja o tratamento (ou a “cura”, conforme opção de tradução).
De todo modo, ao discorrer sobre as peculiaridades técnicas do manejo grupal, Castanho21 observa que, se a centralidade das intervenções do(s) coordenador(es) sobre a transferência com atarefa é o que caracteriza a proposta dos grupos operativos pichonianos, no caso da tarefa ser o tratamento, a transferência com o(s) coordenador(es) do grupo tende a assumir o primeiro plano.
Consideradas essas distinções teórico-técnicas e as denominações utilizadas, oito estudos da amostra utilizaram grupos denominados “operativos”11,12,14-16,22-24 e dois realizaram “psicoterapias de grupo”13,25. No caso específico dos grupos ditos de psicoterapia, todosforam embasados na teoria cognitivo-comportamental.
O modelo de grupoterapia cognitivo-comportamental constitui-se como uma intervenção ao atendimento de crianças e adolescentes vítimas de violência sexual; essa abordagem procura atuar na promoção de resiliência e na melhoria da qualidade de vida das vítimas que sofreram a violência sexual, bem como suas famílias13.
Outros seis estudos se configuraram de outras formas que não asmencionadas8: quatro grupos focais e dois grupos de acolhimento. O grupo focal é uma técnica de pesquisa qualitativa, que coleta informações por meio das interações em grupo6. Por grupo de acolhimento pode-se pensar na configuração em que as pessoas apresentam experiências em comum e, ao compartilharem algo de sua realidade, os envolvidos se identificam com a situação e, a partir disso, trocas significativas podem ser construídas. O sujeito pode depositar no grupo angústias, ressentimentos e ressignificá-los7.
Quanto ao lugar onde os grupos investigados se desenvolveram, os autodenominados grupos operativos tiveram como contexto os seguintes locais: dois estudos não evidenciaram de forma clara os locais onde foram executados15,25, um teve como cenário uma organização não governamental (ONG) que atende autores de violência intrafamiliar16, outro aconteceu em Núcleos de Abrigos Residenciais para crianças e adolescentes22, um foi realizado no Tribunal de Justiça11, e dois num Centro de Orientação Médico Psicopedagógico12,14.
Em relação aos grupos focais, dois estudos foram realizados em instituições de acolhimento para crianças e adolescentes26,27, um ocorreu num Tribunal de Justiça28 e o último, na Associação de Mães e Familiares de Vítima da Violência29. Já os grupos de acolhimento, um aconteceu numa Companhia de Artes Gráficas30 e o segundo, em uma clínica escola31.
Os achados sobre a evolução das produções ao longo do tempo e sobre tipos de estudo indicam que recursos metodológicos e embasamentos conceituais sobre as possibilidades de aplicação das práticas grupais nos contextos jurídicos não vêm sendo objeto de atenção.
Este fato dificultou a compreensão mais abrangente da realidade investigada nos documentos, tendo em vista que os estudos não enfatizaram, por exemplo, limites ou potencialidades das práticas grupais, nos diferentes ambientes que circundam a atuação no âmbito jurídico.
De forma geral, alguns autores apenas citaram que o atendimento em grupo é possível com determinadas temáticas, porém, não se constatou preocupações em se avaliar essas práticas, de modo a serem utilizados como referências para desenvolvimento de trabalhos semelhantes, sejam eles teóricos ou empíricos.
Os estudos que se ocuparam de práticas grupais realizadas com profissionais psicólogos, juízes, assistentes sociais, educadores, oficiais de justiça, assessores, técnicos e analistas judiciários (N=4), o que pareceu refletir escassez de publicações na área. Essa característica dos estudos indica que profissionais não têm sido objeto de atenção nessa esfera laboral, quanto precisa ser ponderada mediante as características do método empregado.
Novos estudos podem ser realizados para se esclarecer indagações como as seguintes: em outras bases de dados esse resultado seria semelhante? E no judiciário de outras realidades que não a brasileira, como isto se apresenta? Profissionais que lidam com violência no âmbito judiciário não têm sido foco de atenção, ou, como de resto ocorre na produção acadêmica brasileira, não tem havido condições para se produzir nesse contexto, de modo que as práticas existentes não tenham visibilidade?
Alguns estudos23,24,27.28 discutiram as limitações de profissionais que trabalham com temáticas sobre violência. Para eles, os limites esbarram tanto na falta de recursos/capacitação como também na falta de formação profissional e pessoal, tendo em vista que esses sujeitos não tinham contato com o assunto, mas acabaram sendo inseridos nesses ambientes de trabalho. Sendo assim, esse fato pode gerar significativas consequências, como trabalhos não qualificados e resistências/dificuldades para se compreender a realidade da clientela.
Os estudos apontaram como fatores negativos, aqueles que perpassam o trabalho desenvolvido no tocante à violência, como: falta de diálogo e de interdisciplinaridade dos profissionais, principalmente do judiciário; hierarquia das profissões nesses ambientes e as consequências disso nas sentenças; e morosidade dos serviços prestados.
Busca-se enfatizar a importância do trabalho em equipe nessa esfera, com o objetivo de proporcionar a melhor resolução da sentença, e não a disputa de decisões dos distintos profissionais envolvidos27,28. Verificou-se a necessidade de oferecer cuidado a esses profissionais, na medida em que esse cuidado tende a afetar diretamente o trabalho que é prestado à clientela23.
Nos grupos realizados com os profissionais, as práticas grupais focadas nos desafios e dificuldades que eles têm na atuação, demonstraram resultados positivos, pois mudanças de crenças e de repertório para lidar com problemas antes não trabalhados foram percebidas. Além disso, técnicas e habilidades adquiridas nos encontros constituíram-se ferramentas úteis ao desenvolvimento de suas atividades laborais23,25,27,28.
Em relação à segunda tendência, a que demonstrou resultados de práticas grupais realizadas com vítimas e/ou seus pares que sofreram violência, os artigos tinham como participantes mulheres que foram vítimas de violência doméstica, crianças vítimas de abuso sexual, adolescentes em casa de acolhimento e pares que perderam alguém por violência. O fato de a maioria dos estudos integrarem essa tendência sugere que tem havido reconhecimento da realidade dessas pessoas e a necessidade inerente de haver oferta de espaços de escuta a elas.
Percebe-se que as práticas grupais possibilitaram uma ressignificação, por parte das vítimas, da história de violência vivenciada, bem como a criação de novos caminhos diante da perda violenta de um ente querido e novas possibilidades de encarar a vida; trabalharam com a vítima promovendo acesso aos direitos, no sentido de exercer a cidadania, ao protagonismo social, e ao empoderamento dessas pessoas em relação às suas vidas24,29.
A última tendência observada na literatura analisada buscou discutir as práticas de grupos com os protagonistas da violência, as consequências de suas práticas, bem como ressignificar suas formas de agir. Nos dois artigos com esse perfil, os participantes eram homens agressores e adolescentes ofensores sexuais.
Esses estudos mostraram que é importante criar espaços que possam ofertar a essa população acolhimento a seus sofrimentos e, possibilidades novas de diálogo sobre as práticas cometidas, além de trabalhar a responsabilização pelo ato cometido e a desnaturalização da violência cotidiana, estimulando, por sua vez, mudanças cognitivas, atitudinais e subjetivas que resultem em relações mais equitativas. Nesse sentido, debate-se a necessidade de oferecer apoio abrangente, a todos os envolvidos, tanto para a vítima e sua família, como também para o agressor11,12.
Verificou-se que outros espaços ligados ao judiciário não foram contemplados nos estudos, tais como: conselhos tutelares, casas de detenção, instituições de internação de adolescentes, casa abrigo de mulheres vítimas de violência doméstica, clínicas de recuperação de dependentes químicos e outros locais ligados à rede de atendimento a autores de violência e/ou vítimas. Isto pode ser visto como indicador deque há necessidade de investimentos tanto na produção quanto na publicação de estudos que possam relatar e refletir o uso da modalidade grupal nos diversos ambientes do judiciário.
Sobre os tipos de violência, ressalta-se que a violência sexual contra crianças e adolescentes tem sido apontada como grave problema de saúde pública, que determina relevante impacto no crescimento e desenvolvimento das suas vítimas, bem como reflexos em suas famílias27,28.
As pesquisas retrataram alguns desses impactos, em que as vítimas podem apresentar crenças distorcidas em relação à violência sexual e as transferir para outras situações abusivas, reproduzindo o padrão de comportamento violento. As vítimas podem apresentar culpa, depressão, estresse, ansiedade, transtorno de estresse pós-traumático, bem como passam a evitar pessoas, locais e lembranças da experiência traumática13,25,28.
Outros estudos indicaram que, na violência sexual, o fenômeno transgeracional se presencia, fazendo com que a violência seja acompanhada por gerações em segredos, pela não conscientização do ato como violência em si11,14,15. Esse tipo de violência é atravessado por diversas dificuldades por parte dos profissionais que lidam com ela, por não terem recursos e conhecimento suficientes sobre formas de atuação nos casos envolvendo menores27,28.
A violência branca, simbólica ou ideológica foi retratada como o resultado do sistema econômico e político vigente, que perpassa todas as relações sociais e que pode apresentar como resultado a desigualdade social e exclusão. É um tipo de violência institucionalizada, e que, por sua natureza, não apresenta punição aos seus agentes24.
Ao trabalhar com as famílias que sofreram violência branca, o estudo demonstrou a angústia dos participantes, a busca pelo entendimento da violência e a respectiva falta de respostas. Discutiu-se sobre o acionamento de novas possibilidades de viver, haja vista haver consequências significativas na vida dos indivíduos, em diferentes âmbitos, como, por exemplo, no trabalho, na habitação e na reconstrução de redes de apoio24. A sociedade é, nessa direção, colocada como perpetuadora desse ciclo de violência, ao potencializar e ao desconsiderar o ser humano em sua totalidade.
Analisou-se a violência física com foco nos agressores. A violência é relacionada ao julgamento de valor e autoridade, como poder sobre outra pessoa16. Nesses casos, os atos de agressão são considerados como forma de cuidado, expressão de carinho, fato que acaba por legitimar agressões graves contra as crianças.
De acordo com as orientações para prática em serviços que atendem à demanda violência intrafamiliar, do Ministério da Saúde, ela é compreendida como um problema social de grande magnitude e é vista como toda ação ou omissão que prejudique o bem-estar, a integridade física, psicológica ou a liberdade e o direito ao pleno desenvolvimento de outro membro da família. Ela pode ser cometida dentro ou fora do âmbito da casa, tanto por algum membro da família que tenha vínculo consanguíneo, quanto por alguém que passa a assumir a função parental32.
Em relação à violência institucional, investigou-se a violência que os adolescentes sofrem ao residirem em instituições de acolhimento22,29,30. Ressaltou-se haver falta de diálogo em todas as instâncias das instituições, principalmente junto aos adolescentes.
A falta de comunicação e a não resolução de problemas costuma estar associada e resultar em violências. Os adolescentes se veem excluídos tanto do seu ambiente familiar como da sociedade em si e acabam usando a agressão e a violência para responderem a essa condição22.
O papel dos educadores/monitores dessas instituições, que muitas vezes são os reprodutores da violência para com os adolescentes, se dá por oferecerem relações de dominação, desigualdade e injustiça. Esses profissionais desenvolvem trabalhos usualmente fundamentados na lógica disciplinar, utilizando de castigos para a manutenção da ordem.22,23
A violência patrimonial foi estudada com o foco na vítima que sofreu roubo ou furto26. As significações dadas foram analisadas, pelas vítimas, referentes ao prejuízo que sofreram, bem como a forma como os autores são vistos pelo sistema de Justiça. As sentenças têm buscam a restituição do objeto e não há acolhimento psicológico aos ofendidos que contemple repercussões que o ato violento lhes causou.
Em apenas uma pesquisa a violência doméstica contra mulheres foi tema em destaque. Essas vítimas são marcadas pela solidão, vergonha do espancamento e marginalidade de ser vítima31.
Quanto às características das práticas grupais20,21 é possível, assim, criticar-se a nomenclatura utilizada por Zimerman8, mas reconhecer a validade da distinção por ele proposta, como indicativa da existência de diferenças técnicas substanciais, nos estudos aqui considerados.
CONCLUSÃO
Os estudos ilustraram práticas grupais que motivaram pesquisas com interface sobre situações de violência e contextos jurídicos brasileiros, publicados em periódicos científicos indexados em bases de dados de alcance nacional e internacional.
Nessa medida, podem se constituir em modelos possíveis para a atuação de profissionais que trabalham diretamente com pessoas envolvidas nessa realidade, em inspirações para desenvolvimento de novas investigações em âmbito acadêmico e, quiçá, em ponderações sobre modos de integrar essas duas frentes de trabalho.
Em contraste, o estudo constatou haver carência de publicações nos últimos 17 anos, período em que, em tese, práticas grupais em âmbitos institucionais desfrutam de uma retomada de interesse e de prestígio profissional no cenário nacional.
Em última instância, pode-se inferir que os resultados observados se devem a dois fatores principais. O primeiro fator se atrela a uma característica da Psicologia brasileira, onde existe reconhecido histórico de distanciamento entre “práticas” e “pesquisas”.
No caso dos trabalhos com grupo, tal característica é potencializada, considerando-se que se trata de um dispositivo utilizado com notável frequência por psicólogos que atuam em instituições do campo socioassistencial, entretanto, comparativamente muito pouco explorado na literatura científica da área, considerando-se as publicadas pelas bases de dados ora exploradas como base material.
Esse primeiro fator hipotetizado parece razoável, na medida em que demandas por atenção à saúde mental das pessoas, em ambientes que perpassam o sistema de Justiça, avultam na atualidade.
O segundo fator se fundamenta na medida em que o ambiente jurídico tem sido refratário ou inapropriado às práticas grupais, em detrimento de práticas duais. Esse fato, todavia, precisa ser ponderado mediante os limites metodológicos do estudo e requer novos investimentos para ser esclarecido (por exemplo, por meio de pesquisas de campo). Cabe ainda ressaltar que a própria identidade do psicólogo brasileiro que trabalha nessa frente permanece em franco processo de constituição, ainda nos dias atuais.
Os estudos aqui analisados se caracterizaram como empíricos, o que, não obstante, mostram a produção encontrada de modo positivo, posto que esta característica confere relevância acadêmica e social por estar atrelada à produção de conhecimento.
Pode-se remeter à necessidade de haver, também, estudos teóricos que abarquem a estrutura e a dinâmica dos processos grupais investigados e em como eles podem ser realizados no cenário jurídico brasileiro.
A ênfase dos artigos sobre trabalhos realizados “na prática” pode demonstrar, ainda, que o judiciário – e as práticas grupais interligadas a ele – pode se caracterizar como campo de atuação distante da academia, o que pode ocorrer devido à sobrecarga dos profissionais, à burocratização do acesso de pesquisadores a esses ambientes e ao pouco espaço que as práticas grupais encontram na academia (tanto na formação quanto na pesquisa).
Sobre as limitações dessa revisão, o período temporal considerado foi de 2000 a 2016, intervalo que, embora extenso, quando associado às bases de dados escolhidas, retornou reduzido em número de artigos. Assim, novas investigações, contemplando distintas bases de dados e focadas em processos de grupo com enfoque em situações de violência que extrapolem o domínio judiciário brasileiro, também podem contribuir para se traçar um panorama mais abrangente do que o apresentado.
REFERÊNCIAS
Dahlberg LL, Krug EG. Violência: um problema global de saúde pública. Ciênc Saúde Colet. 2006; 11(Supl):1163-78.
Sacramento LT, Rezende MM. Violências: lembrando alguns conceitos. Aletheia. 2006; (24):95-104.
Krug EG, Dahlberg LL, Mercy JA, Zwi AB, Lozano R, organizadores. Relatório mundial sobre violência e saúde. Geneva: Organização Mundial da Saúde; 2002.
Minayo MCS. Conceitos, teorias e tipologias de violência: a violência faz mal à saúde individual e coletiva. In: Sousa ER, organizador. Curso impactos da violência na saúde. Rio de Janeiro: EAD/ENSP; 2007. p. 24-35.
Ávila LA. O grupo como método In: Ávila LA. Grupos: uma perspectiva psicanalítica. São Paulo: Zagodoni; 2016. p.23-36.
Barbour R. Grupos focais. Porto Alegre: Artmed; 2009.
Carvalho CA, Medina RM, Bossetto S, Cruz TA. Grupo de acolhimento: relato de experiência. Psicol Rev. 2008; 17(1/2):43-58.
Zimerman DE. Fundamentos básicos das grupoterapias. 2ed. Porto Alegre: Artmed; 2000.
Penna C, Castanho P. Group analytic psychotherapy in Brazil. Int J Group Psychotherapy. 2015; 65(4):637-46.
Brito LMT. Anotações sobre a psicologia jurídica. PsicolCiênc Prof. 2012; 32(spe):194-205.
Costa LF, Penso MA, Almeida TMC. O Grupo multifamiliar como um método de intervenção em situações de abuso sexual infantil. Psicol USP. 2005; 16(4):121-46.
Costa LF, Ribeiro A, Junqueira EL, Meneses FFF, Stroher LMC. Grupo multifamiliar com adolescentes ofensores sexuais. Psico. 2011; 42(4):450-6.
Habigzang LF, Hatzenberger R, Corte FD, Stroeher F, Koller S. Avaliação de um modelo de intervenção psicológica para meninas vítimas de abuso sexual. Psicol Teor Pesqui. 2008; 24(1):67-76.
Costa LF. Participação de famílias no grupo multifamiliar de adolescentes ofensores sexuais: vergonha e confiança. Psicol Clín. 2011; 23(1):185-201.
Costa LF, Almeida TMC, Ribeiro MA, Penso MA. Grupo multifamiliar espaço para a escuta das famílias em situação de abuso sexual. Psicol Estud. 2009; 14(1):21-30.
Guareschi NMF, Weber A, Comunello LN, Nardini M. Discussões sobre violência: trabalhando a produção de sentidos. Psicol Reflex Crit. 2006; 19(1):122-30.
Scorsolini-Comin F. Guia de orientação para iniciação científica. São Paulo: Atlas; 2014.
Souza MT, Silva MD, Carvalho R. Revisão integrativa: o que é e como fazer. Einstein. 2010; 8(1):102-6.
Yin RK. Pesquisa qualitativa do início ao fim. Porto Alegre: Penso; 2016.
Tubert-Oklander J, Tubert RH. Operative groups: the latin-american approach to group analysis. London: Jessica Kingsley Publishers; 2004.
Castanho P. Um modelo psicanalítico para pensar e fazer grupos em instituições. [tese]. São Paulo: Pontifícia Universidade Católica de São Paulo; 2012.
Marques CC, Czermark R. O olhar da psicologia no abrigo: uma cartografia. Psicol Soc. 2008; 20(3):360-6.
Olmos JRD, Henriques WM. Grupo de reflexão: perfurando máscaras, levantando suspeitas e resgatando paixões. Rev SPAGESP. 2006; 7(2):1-10.
Oliveira AM, Cárita KP, Ernesto MLG. Cidadania: um tema possível no trabalho com vítimas de violência. Psic Rev. 2008; 17(1):113-30.
Freitas CPP, Habigzang LF. Percepções de psicólogos sobra a capacitação para intervenção com vítimas de violência sexual. Psicol Clín. 2013; 25(2):215-30.
Costa LF, Castilho EWV, Barreto FCO, Jacobina OMP. A eficiência das penas alternativas na perspectiva das vítimas. Psico. 2010; 41(3):346-55.
Silva LMP, Ferriani MGC, Silva MAI. O Poder Judiciário como última instância de proteção às crianças e aos adolescentes: ações intersetoriais, investimento em recursos humanos e estruturação dos serviços. Rev Latinoam Enferm. 2012; 20(3):9 telas.
Silva LMP, Ferriani MGC, Silva MAI. Violência sexual intrafamiliar contra crianças e adolescentes: entre a prevenção do crime e do ano. Rev Bras Saúde Mater Infant. 2012; 12(4):403-11.
Bussinger R, Novo H. Trajetória de vítimas de violência: dor e solidariedade entre mães de uma associação do Espírito Santo. RevPsicol Polít. 2008; 8(15):107-20.
Bocco F, Lazzarotto GDR. (Infr)atores juvenis: artesãos de análise. Psicol Soc. 2004; 16(2):37-46.
Machado MRC. Narrativa de mulheres vítimas de violência: passos do processo. Psicol Teor Prát. 2004; 6(1):97-104.
Ministério da Saúde (Br). Violência intrafamiliar: orientações para prática em serviço. Brasília, DF: Secretaria de Políticas de Saúde; 2002.
Autor notes