Gestión de la Calidad y Acreditación
Desarrollo e implementación de un proyecto de comunicación efectiva de valores críticos en un laboratorio público pediátrico
Development and implementation of an effective communication project of critical values in a pediatric public laboratory
Desenvolvimento e implementação de um projeto de comunicação efetiva de valores críticos em um laboratório público pediátrico
Desarrollo e implementación de un proyecto de comunicación efectiva de valores críticos en un laboratorio público pediátrico
Acta Bioquímica Clínica Latinoamericana, vol. 54, núm. 1, pp. 45-54, 2020
Federación Bioquímica de la Provincia de Buenos Aires
Recepción: 19 Junio 2019
Aprobación: 12 Septiembre 2019
Resumen: Los valores críticos (VC) son resultados de laboratorio que deben comunicarse inmediatamente al profesional responsable, representan una amenaza para la vida del paciente y requieren atención clínica urgente. La detección y comunicación efectiva de valores críticos (CEVC) impacta directamente en la seguridad del paciente y es responsabilidad del laboratorio. Entes acreditadores y la International Organization of Standardization (ISO-15189:2012) incluyen los VC entre sus requisitos. En 2017 se desarrolló un proyecto para garantizar la CEVC en el Hospital Garrahan. Se revisó el proceso de CEVC documentado en 2015. Se realizaron encuestas y reuniones dentro del laboratorio que evidenciaron falta de adherencia al mismo. Los VC no se comunicaban de la forma estandarizada y frecuentemente no se registraban. Se evaluaron las causas utilizando el diagrama de Ishikawa, lo que reflejó ausencia de consenso para elaborar el documento inicial. Se realizaron encuestas y reuniones intralaboratorio y con los servicios médicos, para consensuar aspectos relacionados con la CEVC y umbrales para diferentes analitos. Se acordó un nuevo listado de VC y otro de valores de informe inmediato en los que era necesario garantizar la comunicación efectiva, aunque no requirieran intervención médica urgente. Se protocolizó la CEVC: informe telefónico al médico tratante registrado en un formulario estándar. Se redactó y difundió un nuevo procedimiento. Se desarrolló un sistema de monitoreo con indicadores de calidad. Promover la mejora continua y desarrollar proyectos interdisciplinarios favorece la atención centrada en el paciente y su familia. El trabajo mancomunado de diferentes servicios permitió consensuar la lista de VC y un protocolo de comunicación acorde a las necesidades de esta institución pediátrica.
Palabras clave: Valores críticos, Pediatría, Seguridad del paciente.
Abstract: The critical values (CV) are laboratory results that should be reported immediately to the responsible professionals, representing a threat to the patient’s life and being required for urgent clinical attention. Detection and effective communication of the critical values (ECCV) impacts directly on the patient’s safety and it is the laboratory’s responsibility. Accrediting bodies and the International Organization of Standardization (ISO 15189:2012) include CV among their mandatory requisites. In 2017, a project was developed to guarantee the ECCV at the Hospital Garrahan. The ECCV process documented in 2015 was reviewed. Surveys and assemblies were carried out within the laboratory, finding evidence of the lack of compliance with standard procedures. The CV were neither reported according to the expected standardized rules nor registered regularly. The causes were evaluated using the Ishikawa diagram, which reflected the absence of consensus to elaborate the initial document. Surveys and intra-laboratory assemblies were performed alongside with medical Departments staff, in order to come to terms on aspects related to the ECCV as well as thresholds for different analytes. Agreement was reached on a new CV list and another list for immediate reporting, in which it is essential to guarantee effective communication, even though they do not require urgent medical intervention. The ECCV was standardized through a telephone report to the treating physician registered in standard forms. A new operation procedure was edited and shared. A monitoring system with quality indicators was developed. Promoting continuous improvements as well as developing interdisciplinary projects enhance patient and family-centred care. The joint work of different Service Departments made it possible to issue the CV list and a communication protocol according to the needs of this pediatric institution.
Keywords: Critical values, Pediatrics, Patient safety.
Resumo: Os valores críticos (VC) são resultados laboratoriais que devem ser imediatamente comunicados ao profissional responsável, representam uma ameaça para a vida do paciente e requerem atenção clínica urgente. A detecção e comunicação efetiva de valores críticos (CEVC) é de responsabilidade do laboratório e impacta diretamente na segurança do paciente. Organismos de acreditação e a Organização Internacional de Padronização (ISO-15189: 2012) incluem os VC entre seus requisitos. Em 2017, um projeto foi desenvolvido para garantir a CEVC no Hospital Garrahan. O processo do CEVC documentado em 2015 foi revisado. Pesquisas e reuniões foram realizadas dentro do laboratório, evidenciando a falta de adesão a ele. VC não se comunicavam de maneira padronizada e frequentemente não se registravam. As causas foram avaliadas, usando o diagrama de Ishikawa, refletindo a ausência de consenso para preparar o documento inicial. Pesquisas e reuniões foram realizadas dentro do laboratório e com os serviços médicos, para acordar aspectos relacionados à CEVC e limiares para diferentes analitos. Uma nova listagem de VC foi acordada e outra de valores de relatório imediato nas quais era necessário garantir a comunicação efetiva, mesmo que não exijissem intervenção médica urgente. O CEVC foi registrado: relatório telefônico para o médico responsável pelo tratamento registrado em um formulário padrão. Um novo procedimento foi escrito e divulgado. Um sistema de monitoramento com indicadores de qualidade foi desenvolvido. Promover a melhoria contínua e desenvolver projetos interdisciplinares favorece o cuidado centrado no paciente e sua família. O trabalho conjunto de diferentes serviços permitiu chegar a um consenso sobre a lista de VC e um protocolo de comunicação de acordo com as necessidades dessa instituição pediátrica.
Palavras-chave: Valores críticos, Pediatria, Segurança do paciente.
Introducción
Los laboratorios de análisis clínicos desempeñan un importante papel garantizando la seguridad del paciente mediante la comunicación oportuna de resultados con valores críticos (VC) que puedan tener un impacto significativo en las decisiones médicas y la evolución clínica del paciente. Un VC es el resultado de una prueba de laboratorio que representa una condición delpaciente potencialmente mortal, para la cual se deben tomar rápidamente medidas correctivas; este concepto fue definido originalmente por Lundberg en 1972 y se ha utilizado en todo el mundo (1) (2). Si bien se sabe que el informe de resultados críticos es un factor determinante en la evolución del estado de los pacientes, existe una falta de consenso en las publicaciones sobre qué parámetros y valores deben considerarse críticos (3).
La importancia que se le ha dado a los protocolos de seguridad y calidad de atención del paciente ha sido decisiva para mejorar la notificación de VC. Diferentes organizaciones internacionales han abordado este tema. College of Americans Pathologists (CAP), Joint Commission on Accreditation of Health Care Organizations (JCAHO), Clinical Laboratory Improvements Amendments (CLIA) e International Organization of Standardization (ISO), en su norma 15189:2012, incorporaron a los VC en sus recomendaciones y requisitos de acreditación. Estas regulaciones especifican que los laboratorios deben definir y comunicar los VC, pero no indican cuáles pruebas de laboratorio requieren límites críticos y notificación (4).
El CAP luego de realizar el estudio Q Probes en 2002, abandonó el intento de establecer una lista estándar nacional de VC por consenso, pero propuso una lista genérica que serviría como punto de partida para que cada laboratorio desarrollara su propio listado (5). Esta dificultad para el desarrollo de estándares tiene su origen en las diferencias poblacionales, estructurales y funcionales de las instituciones (4). El director del laboratorio es responsable de gestionar el diseño de la lista y el protocolo de comunicación de VC, teniendo en cuenta las características particulares de la institución, la población afectada, la prevalencia de enfermedades, las especialidades y sus programas. Para este proceso, es esencial consultar con el personal de los diversos servicios médicos involucrados. Es muy beneficioso que el conjunto de médicos, o un comité institucional, acuerde y apruebe la lista de VC. Esto asegura que sean plasmadas las necesidades reales del centro (6).
El Hospital de Pediatría “Prof. Dr. Juan P. Garrahan” es el centro pediátrico de referencia en salud pública, gratuita y de alta complejidad de la Argentina. La institución se encuentra comprometida con los valores de ética, equidad, accesibilidad y calidad, con el objetivo de brindar la mejor atención a todos los niños de la Argentina (7). En su misión, el laboratorio el Hospital Garrahan declara realizar e interpretar análisis clínicos en pacientes pediátricos cumpliendo con los requisitos de calidad que garanticen la correcta toma de decisiones y la seguridad del paciente (8). A pesar de que el laboratorio contaba, desde el año 2015, con un procedimiento escrito, la comunicación de VC no resultaba efectiva. En 2017 se constituyó un equipo de trabajo con el objetivo de implementar un proyecto para mejorar la comunicación efectiva de valores críticos (CEVC). Para ello, se propuso formalizar un procedimiento consensuado para el manejo de los resultados con VC en la institución que contemplara (9):
• La definición de VC
• La lista de VC
• La forma de comunicación de VC:
− ¿Cuál es el tiempo tolerable de informe?
− ¿Cómo y a través de qué canales de comunicación se notifican?
− ¿Quién puede informarlos?
− ¿Quién puede recibirlos?
− ¿Cómo se asegura la efectividad de la comunicación? (registro)
• Los indicadores de seguimiento del proceso de CEVC.
Materiales y Métodos
Se analizaron las políticas de CEVC, se evaluaron qué pruebas se deberían incluir en el listado y cuáles serían los umbrales críticos de acuerdo con las necesidades clínicas de la institución. Para esto se llevaron a cabo reuniones con equipos bioquímicos de los distintos laboratorios y también con los médicos responsables de los diferentes servicios médicos. Las reuniones interdisciplinarias se realizaron tanto con servicios de internación [Unidades de Terapia Intensiva (UTI), salas de Cuidados Intermedios y Moderados (CIM), Unidad de Trasplante de Médula Ósea (UTMO), Unidad de Trasplante Renal (UTR), Neonatología, Centro de Atención Integral del Paciente Hemato-Oncológico (CAIPHO)] como con servicios de atención ambulatoria [Bajo Riesgo, Mediano Riesgo y Emergencias].
Para determinar la causa raíz del déficit en la comunicación efectiva se realizó un análisis de causa-efecto utilizando el diagrama de Ishikawa con las conclusiones de las reuniones.
Con el fin de evaluar inicialmente la valoración médica del procedimiento y el listado de comunicación de VC implementado hasta el momento, se realizó una encuesta dirigida a 28 servicios médicos. La encuesta fue entregada a los jefes de servicio y se solicitó que para responderla realizaran un consenso entre los miembros de cada equipo (Tabla I).
Junto con la encuesta se presentó a los médicos el listado que se estaba utilizando para la comunicación de VC y los puntos de corte. La lista contaba con 7 analitos de Hematología y Hemostasia, 6 de Área Crítica y 23 de Química Clínica. Se solicitó la evaluación del listado y se discutió en una reunión posterior.
Resultados
Como primer paso se consensuó en definir a los VC como aquellos resultados de determinaciones de laboratorio que merecían ser comunicados de forma inmediata al médico responsable porque representaban una amenaza para la vida del paciente y requerían una acción médica urgente.
En el análisis de causa raíz del déficit en la CEVC (Fig. 1) se determinó que la poca adherencia al procedimiento general (PG) de comunicación de VC se debía a que la lista de VC y el PG utilizado para informarlos no habían sido consensuados con el personal del laboratorio, ni con los médicos responsables de los pacientes. Además, se detectó un déficit en la capacitación y motivación del personal necesarias para adherir al procedimiento. El acceso al documento era dificultoso debido a limitaciones en el software del sistema de control de documentos. En muchos casos, si bien los VC se informaban, no se registraba adecuadamente la comunicación debido a que no existía un sistema de registro unificado. Como consecuencia de ello el porcentaje de VC comunicados efectivamente era muy bajo. Por otra parte, el proceso no se monitoreaba y no se habían establecido indicadores de seguimiento.

Tabla I. Encuesta de opinión realizada a servicios médicos

Figura 1. Espina de pescado: Causas de error en la comunicación efectiva de valores críticos
De la encuesta de opinión se obtuvieron los siguientes resultados (Fig. 2):
El 78% de los servicios tenía conocimiento de que el laboratorio contaba con un procedimiento de notificación de VC.
• El 68% consideraba que los VC eran informados siempre y el resto que se hacía eventualmente.
• El 89% acordó con que los valores que informaban desde el laboratorio eran realmente críticos, pero un 11% respondió que excluiría una parte (variable).
• El 89% consideraba que no se informaban más VC de los necesarios, pero el 41% respondió que se reportaban de menos.
• El 48% consideraba que se debería hablar con el médico tratante del paciente a la hora de comunicar un VC, independientemente de tratarse de un médico de sala del hospital, residente o becario. El 22% acordaba con que debería comunicarse al médico de sala exclusivamente, estuviera o no a cargo del paciente. Al 26% le resultó indistinto. El servicio de UTMO consideró oportuno que la comunicación se hiciera al médico o al enfermero al cuidado del paciente, debido a que la atención del paciente en aislamiento de protección dificultaba la respuesta inmediata del médico al llamado.
• El 93% consideraba efectiva la comunicación por vía telefónica, el 7% restante no, y se plantearon como sugerencias que se realizara personalmente, o que se reemplazase el informe telefónico por alarmas en el sistema informático o mensajes de WhatsApp.

Figura 2. Resultados de la encuesta de opinión médica: valoración del procedimiento de comunicación efectiva de valores críticos
En cuanto al listado de VC con el que contaba el laboratorio: el 29% de los servicios encuestados no haría modificaciones, el 46% cambiaría menos de una cuarta parte de la lista, el 14% modificaría entre la cuarta parte y la mitad de la lista y el 11% de los servicios, más de la mitad de la lista (Fig. 3). Las modificaciones sugeridas incluían: cambio en el nivel umbral elegido para algunos analitos, eliminar analitos del listado, sumar al listado drogas inmunosupresoras que requieren monitoreo y comunicar el VC dependiendo de la patología de base.
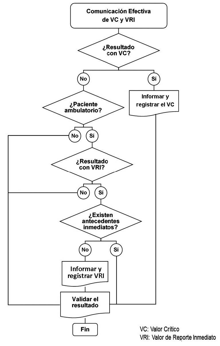
Conociendo los resultados de la encuesta y el análisis de causa raíz se realizaron nuevas reuniones con todos los servicios médicos para consensuar un listado único definitivo con umbrales armonizados. Se determinó que además de VC, existían otros resultados que, si bien no indicaban un riesgo para la vida del paciente, merecían ser comunicados prontamente al médico porque eran esenciales para abogar por la seguridad del paciente. Se definieron entonces como valores de reporte inmediato (VRI) a los resultados de una prueba de laboratorio que no reflejara una amenaza para la vida del paciente, pero sí una intervención médica inmediata que impactara positivamente en su condición y/o en la de su entorno. Se estableció que debían comunicarse en el caso de los pacientes ambulatorios sin antecedentes inmediatos. En tanto los VC debían ser comunicados siempre, independientemente de la procedencia del paciente y de la existencia o no de un antecedente inmediato.
Se estableció una lista consensuada de VC y VRI acorde a los requerimientos de la institución (Tabla II) (Tabla III). Se decidió que la comunicación de VC y VRI debía ser realizada de forma inmediata al médico tratante (o a enfermería solo para UTMO) por el bioquímico que detectara el resultado. La comunicación se realizaría por vía telefónica, utilizando la herramienta read back (10) (11). El VC/VRI debe ser registrado por el bioquímico en un formulario estandarizado en el que conste: fecha y hora; nombre y apellido del paciente, número de historia clínica, número de protocolo, servicio; VC/VRI comunicado; nombre, apellido y función de quien recibió el reporte; iniciales de quien lo realizó. La comunicación de VC o VRI se considerará efectiva cuando el resultado se ha informado en tiempo y forma y se ha efectuado el registro de la misma.
Se redactó una nueva versión del PG de CEVC, que fue incorporada al sistema de gestión de documentos y difundida en reuniones internas y entre los responsables de servicios médicos. Se estableció que este proceso se revisaría anualmente.
Para realizar el monitoreo del procedimiento se seleccionaron como analitos marcadores al potasio y la hemoglobina séricos. El indicador de seguimiento mensual se definió como el porcentaje de resultados con VC del analito marcador comunicado efectivamente en un mes respecto del total de resultados con VC del analito marcador en ese mes:
I% = (nCE/n) x 100 x mes
Siendo: I: indicador de seguimiento nCE: el número de resultados con VC del analito marcador comunicados efectivamente n: el número de resultados con VC del analito marcador
Se decidió monitorearlo en un principio cada 3 meses.
Se diseñó cartelería con el listado de VC/VRI y un diagrama de flujo que resumiera los pasos del proceso (Fig. 4) y se colocó en los distintos sectores del laboratorio.

Figura 3. Resultados de la encuesta de opinión médica: valoración de los analitos y umbrales de la lista de VC inicial
Tabla II. Valores críticos
| Todos los pacientes | ||
| Valores críticos de Hematología y Hemostasia | ||
| Analito | Límite | |
| Hemoglobina | ≤6 g/dL | |
| Recuento de plaquetas | ≤10.000/mm3 (crónicos) | |
| ≤20.000/mm3 (sin antecedentes) | ||
| TP | ≤20% | |
| APTT | ≥100 s | |
| Valores críticos de Área Crítica | ||
| Analito | Límite inferior | Límite superior |
| pH | ≤7,20 | ≥7,60 |
| Calcio iónico | ≤0,75 mmol/L | ≥1,50 mmol/L |
| pCO2 | ≤25 mmHg | ≥60 mmHg |
| Valores Críticos de Química Clínica | ||
| Analito | Límite inferior | Límite superior |
| Fósforo | ≤1,0 mg/dL | ≥8,0 mg/dL |
| Magnesio | ≤1,0 mg/dL | ≥4,9 mg/dL |
| Glucosa | ≤50 mg/dL | ≥500 mg/dL |
| Calcio | ≤6,0 mg/dL | ≥12,0 mg/dL |
| Sodio | ≤120 mEq/L | ≥155 mEq/L |
| Potasio | ≤2,0 mEq/L | ≥6,0 mEq/L |
| Valores críticos de Monitoreo de Drogas | ||
| Analito | Límite inferior | Límite superior |
| Ciclosporina (C0) | NA | ≥400 ng/mL |
| Tacrolimus/FK | NA | ≥10 ng/mL |
| Sirolimus | NA | ≥8 ng/mL |
| NA: No aplica; TP: Tiempo de protrombina: APTT: Tiempo de tromboplastina parcial activada; C0: Tiempo cero | ||
Discusión y Conclusiones
Los VC tienen un rol importante en la promoción de la seguridad del paciente. Es responsabilidad de cada laboratorio establecer listas de VC acordes a las características de la institución, utilizar políticas y procedimientos para informar resultados que indiquen situaciones potencialmente peligrosas para la vida y notificarlas de forma inmediata para que las intervenciones clínicas puedan realizarse de la manera y en el tiempo apropiados (4) (12).
No todas las pruebas de laboratorio deben tener VC asociados. Las listas de VC no deben obstaculizar la efectividad clínica de la notificación. Las listas que son demasiado inclusivas o con umbrales poco exigentes suponen una carga innecesaria para el personal del laboratorio. Estas listas fomentan una actitud negativa hacia servicios de laboratorio y proporcionan un beneficio adicional incierto para la atención del paciente. Por otro lado, las listas que son demasiado exclusivas o con umbrales extremos, pueden retrasar el reconocimiento de una situación clínica adversa. Se debe lograr un equilibrio (4).
Por otro lado, la lista de VC debería ser única para cada institución, lo más simplificada posible, para evitar que el procedimiento se vuelva de difícil cumplimiento. Salvo excepciones, como puede ser separar los resultados de neonatología y pediatría de los de adultos, no se recomienda la introducción de VC que varíen según patologías, programas, especialidades o cualquier otra característica diferencial de los pacientes. El desafío consiste en diseñar cuidadosamente una lista en cuanto a su amplitud y adecuado ajuste de los límites críticos, respetando el equilibrio entre la información necesaria y los recursos existentes para comunicarla, recibirla y establecer las acciones derivadas de ellas (6) (9).
Tabla III. Valores de reporte inmediato
| Pacientes ambulatorios | ||
| Valores de reporte inmediato de Hematología y Hemostasia | ||
| Analito | Límite | |
| Recuento de leucocitos | ≤1.500/mm3 | |
| Recuento de neutrófilos | ≤500/mm3 | |
| Hemoglobina | >6 y ≤7 g/dL | |
| Recuento de plaquetas | >20.000 y ≤50.000/mm3 | |
| Blastos | Blastos Sospecha / presencia | |
| TP | >20 y ≤40% | |
| APTT | ≥60 y <100 s | |
| Valores de reporte inmediato de Área Crítica | ||
| Analito | Límite inferior | Límite superior |
| pH | >7,20 y ≤7,25 | NA |
| Glucosa en LCR | ≤25 mg/dL | ≥400 mg/dL |
| Carboxihemoglobina | NA | ≥10% |
| Metahemoglobina | NA | ≥10% |
| Valores de reporte inmediato de Química Clínica | ||
| Analito | Límite inferior | Límite superior |
| Amonio | NA | ≥170 mg/dL |
| Cloro | ≤75 mEq/L | ≥125 mEq/L |
| Creatinina | NA | ≥7,4 mg/dL (patología renal) |
| NA | ≥2,0 mg/dL (sin antecedentes) | |
| CPK | NA | ≥1.000 U/L |
| Lactato | NA | ≥45 mg/dL |
| LDH | NA | ≥1.000 U/L |
| Lipasa | NA | ≥700 U/L |
| Fósforo | >1,0 y ≤2,0 mg/dL | NA |
| Ácido úrico | ≤1,0 mg/dL | ≥10,0 mg/dL |
| Urea | NA | ≥100 mg/dL |
| GOT - GPT | NA | ≥1.000 U/L |
| Glucosa | NA | ≥250 y <500 mg/dL |
| Calcio | >6 y ≤7,0 mg/dL | NA |
| Sodio | >120 y ≤130 mEq/L | ≥150 y <155 mEq/L |
| Potasio | >2 y ≤3,0 mEq/L | NA |
| Albúmina | ≤2,0 mg/dL | NA |
| Amilasa | NA | ≥200 U/L |
| Proteínas totales | ≤4,0 mg/dL | ≥12,0 mg/dL |
| Valores de reporte inmediato de monitoreo de drogas | ||
| Analito | Límite inferior | Límite superior |
| Ciclosporina (C0) | ND (<30 ng/mL) | NA |
| Tacrolimus/FK | ND (<2 ng/mL) | NA |
| Sirolimus | ND (<2 ng/mL) | NA |
| NA: No aplica; TP: Tiempo de protrombina: APTT: Tiempo de tromboplastina parcial activada; LCR: Líquido cefalorraquídeo; CPK: Creatinina fosfato quinasa; GOT: transaminasa glutámico-oxalacética; GPT: transaminasa glutámico-pirúvica; C0: Tiempo cero; ND: No dosable | ||

Figura 4. Diagrama de flujo del proceso de comunicación efectiva de VC y VRI
En este trabajo se estableció en forma consensuada un PG de CEVC acorde a las necesidades de la institución pediátrica. Para pacientes ambulatorios se incluyeron, además de los VC, los VRI que contemplan, independientemente del riesgo de vida, otros aspectos de la seguridad significativos para el tipo de población de esta institución pediátrica. Por ejemplo, un paciente ambulatorio con un recuento de 35.000 plaquetas/μL, sin antecedentes, puede no tener riesgo hemostático, pero merece ser contactado para evitar que se retire del hospital demorando un diagnóstico o conducta médica apropiada. Se estableció que los VRI solo ameritan comunicación si el paciente carece de antecedentes. En cambio, los VC se reportan cada vez que se presentan, independientemente del antecedente del paciente. La comunicación debe realizarse entre el bioquímico que detecta el VC y el médico tratante del paciente. Como excepción, enfermería de UTMO puede ser receptora del mensaje. En caso de no encontrar al médico tratante se debe comunicar al responsable del servicio o sala y en última instancia, a la alta dirección. La comunicación debe ser inmediata.
Se estableció que la vía de comunicación es la telefónica. La comunicación verbal es esencial tal cual lo refleja la bibliografía en torno a este tema (9).También la comunicación telefónica garantiza la confirmación de la recepción del mensaje, requisito fundamental para que la comunicación sea efectiva. Los errores que se producen durante los contactos telefónicos pueden corregirse fácilmente solicitando a los destinatarios que repitan el mensaje utilizando la herramienta read back.
El protocolo read back requiere que el receptor de una información verbal la repita o lea de modo de permitir al remitente monitorear y corregir cualquier inexactitud si fuera necesario (10) (11) (13). La comunicación a través de mensajes de WhatsApp no garantiza la comunicación efectiva dado que no contempla la herramienta de read back y se corre el riesgo de que el aviso se diluya entre todos los mensajes que se reciben a diario por esta aplicación.
Desafíos a futuro y posibles mejoras
De acuerdo a los resultados que se obtengan con los indicadores como objetivo inmediato se evaluará el funcionamiento del proceso y se realizarán los ajustes necesarios.
Se debe consensuar cuál es el tiempo que se considera adecuado para efectuar la comunicación y planificar el monitoreo del mismo. Para los VRI se elegiría el indicador intervalo de medición y meta.
A futuro se evaluará la posibilidad de incluir en el listado determinaciones de otros sectores del laboratorio, como por ejemplo Serología, y también aquellos cambios significativos en los resultados que, aunque no superen el umbral de VC/VRI, puedan ameritar comunicación efectiva por su significación clínica.
Debido a que los umbrales para neonatología podrían diferir de los del resto de los grupos etarios, se evaluará la necesidad de crear por consenso una lista de VC/VRI diferencial para estos pacientes.
Fuentes de financiación
El presente trabajo fue realizado sin haberse recibido una financiación específica.
Conflictos de intereses
Los autores declaran no tener conflictos de intereses respecto de este trabajo.
Correspondencia
Bioq. CAROLINA JULIANA GOEDELMANN
Valle 1225, piso 2, dpto. A
C1424 CIUDAD AUTÓNOMA DE BUENOS AIRES, Argentina
Correo electrónico: carogoedel@gmail.com
Referencias bibliográficas
1. Lundberg GD. When to panic over abnormal values. Med Lab Observer 1972; 4: 47–54.
2. Lundberg GD. Critical (panic) value notification: An established laboratory practice policy (parameter). JAMA 1990; 263 (5): 709.
3. Keng TB, De La Salle B, Bourner G, Merino A, Han JY, Kawai Y, et al. Standardization of haematology critical results management in adults: An International Council for Standardization in Haematology, ICSH, survey and recommendations. Int J Lab Hematol 2016; 38: 457‐71.
4. Genzen JR, Tormey CA. Pathology consultation on reporting of critical values. Am J Clin Pathol 2011; 135: 505-13.
5. Howanitz PJ, Steindel SJ, Heard VN. Laboratory critical values policies and procedures. A College of American Pathologists Q-Probes Study in 623 institutions. Arch Pathol Lab Med 2002; 126: 663-9.
6. Herrera Rodrigo C, Tapia-Ruano Díaz-Quetcuti C, Buño Soto A, García Montes M. Actuación del laboratorio ante la obtención de valores críticos. Rev Lab Clin 2010; 3 (2): 80–6.
7. Hospital de Pediatría “Prof. Dr. Juan P. Garrahan”. [Internet]. Buenos Aires (Argentina) [Acceso: 10 de septiembre de 2019]. Disponible en: http://www.garrahan.gov.ar/Lab/index.php/quienes-somos.
8. Hospital de Pediatría “Prof. Dr. Juan P. Garrahan”. [Internet], Buenos Aires (Argentina. [Acceso: 10 de septiembre de 2019]. Disponible en: http://www.garrahan.gov.ar/mision-vision/contenidos/misionvision.
9. Campbell CA, Horvath AR. Towards harmonization of critical laboratory results management. Review of literature and survey of australasian practices. Clin Biochem Rev 2012; 33: 149-60.
10. Barenfanger J, Sautter RL, Lang DL, Collins SM, Hacek DM, Peterson LR. Improving Patient safety by repeating (read-back) telephone reports of critical information. Am J Clin Pathol 2004; 121: 801-3.
11.Prabhakar H, Cooper JB, Sabel A, Weckbach S, Mehler PS, Stahel PF. Introducing standardized “readbacks” to improve patient safety in surgery: a prospective survey in 92 providers at a public safety-net hospital. BMC Surgery 2012; 12: 8.
12. Ye YY, Zhao HJ, Fei Y, Wang W, He FL, Zhong K, et al. Critical values in hematology of 862 institutions in China. Int J Lab Hem 2017: 39 (5): 513-20.
13. Guzmám AM, Solari S, Lagos M, Poggi H, Sánchez T, Madrid A, et al. Aviso de valores de alerta por parte del laboratorio clínico en una red de salud universitaria. Rev Méd Chile 2009; 137: 1137-44.
Notas de autor
carogoedel@gmail.com