Artículo de Investigación
Estudio experimental de conectores de corte tipo ángulo en posición L y V embebidos en losas compuestas con lámina metálica colaborante
EXPERIMENTAL STUDY OF ANGLE TYPE SHEAR CONNECTORS IN POSITION L AND V EMBEDDED IN COMPOSITE SLABS WITH STEEL DECKS
Estudio experimental de conectores de corte tipo ángulo en posición L y V embebidos en losas compuestas con lámina metálica colaborante
Gaceta Técnica, vol. 23, núm. 2, pp. 70-87, 2022
Universidad Centroccidental Lisandro Alvarado

Recepción: 20/05/2022
Aprobación: 13/07/2022
Resumen: Este artículo presenta un estudio de conectores de corte tipo ángulo, como nueva propuesta para un trabajo monolítico del sistema de losa compuesta con lámina colaborante, considerando que actualmente no hay normativa que valide su uso. Se presenta el análisis experimental de 14 probetas con conectores de corte tipo ángulo posicionados en planta a 90º (tipo L) y 45º (tipo V), ensayados con el método Push-Out dispuesto por el Eurocódigo 4. Se obtienen las propiedades mecánicas como la resistencia a corte, ductilidad y rigidez en función de la posición del conector, además del modo de falla. Los resultados demostraron que los dos grupos de probetas presentan resistencia a corte y ductilidad similares, diferenciándose los conectores tipo V con un valor de rigidez superior en 42% a los obtenidos en conectores tipo L. El modo de falla típico se presenta por un agrietamiento prematuro del hormigón en la sección transversal de la losa. Los resultados obtenidos de capacidad a corte son comparados con algunas expresiones empíricas de normativas internacionales y estudios previos de conectores similares.
Palabras clave: conector de corte, conector tipo ángulo, ensayo Push-Out, lámina colaborante.
Abstract: This article presents a study of angle-type shear connectors, as a new proposal for a monolithic work of the composite slab system with collaborating sheet, considering that there are currently no regulations that validate its use. The experimental analysis of 14 specimens with angle-type shear connectors positioned in plan at 90º (type L) and 45º (type V), tested with the Push-Out method established by Eurocode 4, is presented. Mechanical properties such as shear strength, ductility, and stiffness as a function of connector position, as well as failure mode. The results showed that the two groups of specimens have similar shear strength and ductility, differentiating between V-type connectors with a stiffness value 42% higher than differentiating between V-type connectors with a stiffness value those obtained in L-type connectors. The typical failure mode is due to premature cracking, of the concrete in the cross section of the slab. The results obtained for shear capacity are compared with some empirical expressions of international regulations and previous studies of similar connectors.
Keywords: shear connector, angle type connector, push-out test, collaborating sheet.
1. INTRODUCCIÓN
Una losa compuesta consiste en utilizar láminas metálicas perfiladas como encofrados capaces de soportar el vertido del hormigón, el acero de refuerzo y las cargas de ejecución. Posteriormente las láminas se combinan estructuralmente con el hormigón endurecido y actúan como reforzamiento a tracción [1]. La característica fundamental que define a la construcción compuesta es la acción simultánea del acero y hormigón para resistir las solicitaciones; debido a la interacción, en losas compuestas se presenta una transferencia de esfuerzos cortantes por los efectos de fricción presentados a medida que la losa de concreto trata de deslizarse con respecto a la viga, siendo necesario la incorporación de anclajes conocidos como conectores de corte [2].
Existen varios tipos de conectores de corte que se diferencian por su geometría, la distribución de las fuerzas y su comportamiento que está en función de la resistencia a corte y deformación [3]. Los conectores de corte más usados son los de tipo tornillo Stud, sin embargo, estos tienen menor popularidad en países en desarrollo debido a costos de fabricación, instalación y la escasez de mano de obra calificada. Debido a la necesidad de cubrir dichas falencias se ha venido incorporando en los últimos años conectores de corte más accesibles y con mayor facilidad de instalación, como son los conectores tipo ángulo [4].
Los conectores de corte tipo ángulo se han venido presentando en diversos estudios previos, que han buscado la inclusión de este tipo de conectores en la construcción, variando el posicionamiento y geometría de estos. El presente artículo pretende analizar el comportamiento de conectores tipo ángulo orientados a 90° (Tipo L) y 45° (Tipo V) en losas compuestas con lámina colaborante, mediante el uso de especímenes sometidos a ensayos Push-Out con base en normativas y estudios previos.
2. DESARROLLO
Los primeros análisis de conectores tipo ángulo se publicaron en 1987, en el cual se analizó la resistencia a corte y deformación de varios tipos de conectores incluyendo ángulos en posición C, canales y en forma de T. Se concluyó que la geometría y dirección de los conectores de corte, además de la resistencia del hormigón influyen en el modo de falla en los ensayos Push-Out [5]. Choi et al., presentaron en sus estudios el comportamiento de la resistencia a la fatiga de la junta de soldadura del conector de corte tipo ángulo en posición C y la placa inferior. Mediante ensayos de soldadura y análisis de elementos finitos, concluyeron que la concentración de esfuerzos en la junta de soldadura es baja y menor al límite de fatiga [6].
Estudios posteriores ampliaron el análisis de conectores tipo ángulo en posición C, enfocándose en la relación que existe entre en la resistencia a corte y desplazamiento relativo de este tipo de conector, como resultado indican un deslizamiento último de 0,02 veces la altura del conector [7]. Posteriormente, se presentaron nuevas propuestas para conectores tipo ángulo como es la posición tipo V, introducida por Shariati et al., la cual a través de un estudio experimental y un análisis por elementos finitos, demostraron un mejor comportamiento como conector al presentar una buena resistencia a corte y al levantamiento, suficiente ductilidad, y degradación baja de la resistencia ante cargas cíclicas, además de ser más rentable en comparación a conectores similares como los canales o ángulos en posición C. Con respecto a la inclinación se menciona que los conectores con mayor pendiente entre el conector y la viga poseen menor resistencia a corte y ductilidad [8].
Bezerra et al., presentaron otro tipo de conector con características similares al conector tipo V, obtenido del corte y doblado de perfiles tipo U conformados en frio. El estudio presentó un análisis comparativo con conectores tipo perno. Se determinó que este tipo de conectores distribuyen los esfuerzos de corte con mayor uniformidad al tener mayor área de contacto, además de poseer mayor rigidez [9]. Por su lado Arévalo et al., estudiaron los conectores de corte angulares orientados a 90° (Tipo L) y 45° (Tipo V) embebidos en losas macizas. Determinaron que estos tipos de conectores presentan buena ductilidad bajo los lineamientos dados por el Eurocódigo 4. Además, demostraron que los conectores a 45° presentan un mejor desempeño al tener menor dispersión en los resultados tanto de cargas como deslizamientos [10]. La presente investigación emplea conectores de similares características y orientaciones en losas compuestas con lámina colaborante, permitiendo realizar una comparación del comportamiento de estos conectores según el tipo de losa.
Rehman et al., presentaron en su investigación el comportamiento de conectores de corte desmontables en losas con lámina colaborante usando diferente resistencia a compresión del hormigón, número de conectores y diferentes diámetros; proponiendo una configuración geométrica para especímenes con un solo conector de corte por losa [11]. Así mismo, Wang [12] estudió con modelos tridimensionales de elementos finitos enfocados en el comportamiento de conectores de corte en diferentes ensayos Push-Out, variando la geometría de los especímenes, aplicación de las cargas y condiciones de contorno, planteándose especímenes con losas macizas y losas con lámina colaborante con y sin arrostramiento lateral.
Después Qureshi et al., contribuyeron con un modelo de elementos finitos enfocado en sistemas compuestos con losas de lámina colaborante con nervaduras orientadas perpendicularmente respecto al eje de la viga, además de un análisis de la posición de los conectores de corte en diferentes puntos de la nervadura [13]. Más tarde Zaki et al., estudiaron el comportamiento de conectores de corte tipo tornillo con la implementación de lámina colaborante, enfocándose en el posicionamiento de los conectores, el efecto del borde la lámina y los efectos de flexión producidos en los especímenes, así como también la influencia en los conectores [2].
3. METODOLOGÍA
El Eurocódigo 4 establece el procedimiento de ensayo de los conectores de corte. Sin embargo, los detalles proporcionados se aplican para cuatro conectores de corte embebidos en losas macizas de hormigón. Rehman et al., sugieren un ajuste geométrico al ensayo estándar descrito por el Eurocódigo 4 para conectores en losas compuestas con placa colaborante [11].
3.1. Descripción de las Probetas
Las probetas están conformadas por dos losas compuestas de hormigón armado sobre placas colaborantes, el espesor de las losas y longitud del conector de corte se determina con base en los requisitos establecidos en la sección I3.2c del AISC 360 [14].

Para este caso de estudio se emplean conectores tipo ángulo de 40x40x4 mm de 95 mm de longitud, embebidos en la posición fuerte de las losas compuestas de 110 mm de espesor, 500 mm de alto y 300 mm de ancho, como se muestra en la Figura 1. Las losas se encuentran conectadas por medio de los conectores soldados a los patines de una viga de acero estructural de perfil I, con dimensiones 210x100x5 mm con una longitud de 500 mm, misma que cumple con los requisitos de diseño axial y revisiones de efectos por pandeo descritos en el AISC [14]. La posición de los conectores es de 90° (Tipo L) y 45° (Tipo V). En la Figura 2 se muestra la geometría de las probetas basadas en la propuesta presentada por Rehman et al. [11].

El estudio consta de 14 probetas divididas en 2 grupos de 7. El primer grupo de probetas con conectores tipo ángulo a 90° (Tipo L) y un segundo grupo con conectores a 45° (Tipo V). En la Tabla 1 se expone la codificación de cada probeta en función del grupo y el tipo de ensayo ejecutado.
| Tipo | Ensayo cíclico | EnsayoMonotónico | |||||||
| L | L1 | L2 | L3 | L4 | L5 | L6 | L7 | ||
| V | V1 | V2 | V3 | V4 | V5 | V6 | V7 | ||
3.2. Materiales
Las propiedades de los materiales empleados son necesarias para la evaluación de los ensayos con base en el Eurocódigo 4. La resistencia a compresión del hormigón se obtiene del ensayo descrito en la ASTM C39M [16]. La resistencia a la compresión esperada f’c a los 28 día es de 24 MPa, la Tabla 2 evidencia la resistencia a la compresión promedio obtenida. La resistencia a tracción del conector de corte se obtiene del ensayo descrito en la ASTM E8 [17] de tres muestras extraídas, la Tabla 3 muestra los resultados obtenidos.


3.3. Descripción del Ensayo
El ensayo Push-Out se ha empleado desde las primeras investigaciones de Viest en 1956 en conectores de corte, consiste en aplicar carga axial sobre el perfil metálico de las probetas descritas previamente hasta la falla, de manera que exista transferencia de esfuerzos directamente a los conectores, permitiendo aislar el efecto de corte directo [18]. El Eurocódigo establece someter las probetas a 25 ciclos de carga y descarga entre el 5% y 40% de la carga última, misma que se obtiene a través de un ensayo monotónico realizado a una probeta de cada grupo como se muestra en la Figura 3. En el último ciclo de carga se lleva la probeta hasta el fallo en un tiempo no menor a 15 minutos [15].

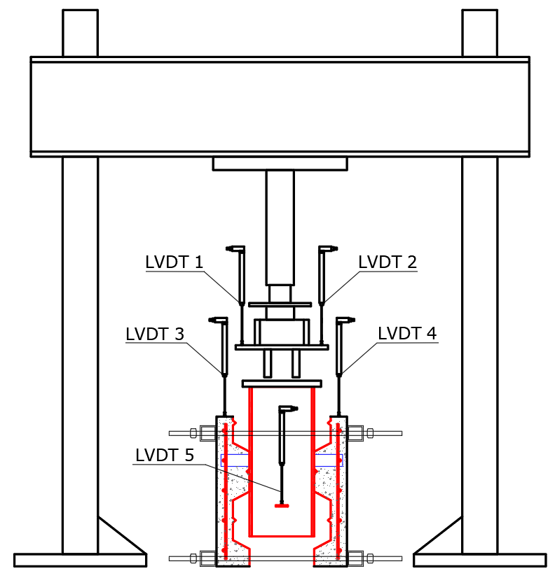
La carga es aplicada por medio de un gato hidráulico fijado a un marco de carga y registrada a través de una celda de carga. Se emplean 5 LVDTs (Lineal Variable Differential Transducer) localizados en la placa de carga (1,2), la parte superior de las losas (3,4) y en la sección I a la altura del conector de corte (5), con el propósito de obtener los deslizamientos relativos, como se muestra en la Figura 4.

4. RESULTADOS Y DISCUSIÓN
4.1. Relación Carga-Deslizamiento
Las curvas carga-deslizamiento se obtienen relacionando la carga por conector, obtenida de los valores registrados en el ensayo divididos para el número de conectores, para este caso 2, y el promedio de los deslizamientos relativos entre la losa y la viga conforme a la disposición de los LVDTs presentado en la Figura 4. Como punto de partida se establecen los parámetros obtenidos de los ensayos monotónicos de los especímenes V7 Y L7, como se aprecia en la Figura 5 y descritos en la Tabla 4.


El análisis del comportamiento de conectores de corte en los ensayos cíclicos sigue procedimientos similares a bibliografías previas como Deng et al., considerando las curvas carga-deslizamiento obtenida después de 25 ciclos de carga y descarga [20], expuestas en las Figuras 6 y 7 para los conectores angulares tipo L y V respectivamente.


4.2. Valores de Resistencia y Deslizamiento en Base al Eurocódigo 4
Para descartar inconsistencias en los resultados se realiza el tratamiento de datos atípicos por medio del criterio para único valor atípico de la ASTM E178-16 [21], aplicado en los resultados de carga última del conector Pu y el deslizamiento último del conector δu, valores puntuales de las curvas carga-deslizamiento obtenido de los ensayos experimentales de los especímenes sometidos al ensayo Push-Out. Por medio del tratamiento de datos atípicos se califica la carga última del conector de la probeta V6 como atípica, descartándola para posterior análisis, visualizado en la ecuación 1. El valor característico de resistencia C se toma como el mínimo de las cargas últimas da cada familia de probetas reducida en un 10%, como dispone el Eurocódigo 4 [15].
(1)Si el error respecto a la media de las cargas últimas registradas en el ensayo supera al 10%, el Eurocódigo 4 establece que el valor característico debe determinarse estadísticamente de acuerdo con el anexo D del Eurocódigo 0, mostrado en la ecuación 2 [15].
(2)Donde, kn corresponde al coeficiente dado en la tabla D1 del Eurocódigo 0 y Vpu es el coeficiente de varianza de las cargas últimas obtenidas. En la Tabla 5 se presentan los valores de resistencia característica para cada familia de especímenes en estudio.

Como los valores de error de las cargas últimas respecto a la media no superan el 10%, se tomó el valor de resistencia característica PRK de 52,83 kN y 53,02 kN para conectores tipo L y V respectivamente. El Eurocódigo 4 establece que la capacidad de deslizamiento último δu, es el correspondiente a la carga característica PRK. Analizando la consistencia de deslizamientos últimos obtenidos se presenta como atípico el deslizamiento último presentado en la probeta V5, siendo descartada para posteriores análisis. Las Figuras 8 y 9 presentan los deslizamientos últimos mínimos obtenidos δu,min para los grupos L y V respectivamente.


El deslizamiento característico δuK resulta del mínimo de los deslizamientos últimos δumin reducidos un 10%, según el Eurocódigo 4, la Tabla 6 presenta un resumen de los valores de resistencia y deslizamiento característicos para cada grupo de probetas.

4.3. Ductilidad y Rigidez
Según el Eurocódigo 4, un conector puede ser determinado dúctil si la capacidad de deslizamiento característico es de al menos 6 mm [15]. Según los resultados obtenidos en el presente estudio, los conectores tipo L y V en losas con lámina colaborante presentan valores menores al límite. Shariati et al., representan la ductilidad de un conector de corte mediante un factor de ductilidad obtenido de la relación entre un deslizamiento de fluencia ∆y y un deslizamiento máximo ∆max.

Donde ∆y es el deslizamiento correspondiente a la intersección de dos líneas rectas, la primera que representa la rigidez inicial que va desde el origen e interseca con la curva carga-deslizamiento en un 75% de la carga última, y la segunda correspondiente a la carga última. ∆max corresponde al deslizamiento después de la falla, dado al 80% de la carga última registrada [22] (ver Figuras 10 y 11).

La American Society of Civil Engineers (ASCE) califica la ductilidad de estructuras o componentes sometidos a cargas cíclicas en función del factor de ductilidad μ. Denominando ductilidad baja para un factor menor a 2, ductilidad moderada en rango de 2 a 4 y ductilidad alta con valores mayores a 4 [23]. En base a los resultados de ductilidad dispuestos en la Tabla 7, se observa que los conectores tipo L y V poseen una media del factor de ductilidad de 2,78 y 2,63 respectivamente. Categorizándose en un rango de ductilidad moderada. El deslizamiento relativo entre conectores de corte y losas determinan la degradación de la rigidez a corte, y esta a su vez se ve descrita por la expresión 3 [20]. Donde, ki es la rigidez de cada espécimen, Pi es el valor de carga y ∆i deslizamiento correspondiente al valor de carga (ver Figuras 12 y 13).
(3)


La rigidez disminuye drásticamente en el primer milímetro de deslizamiento, posteriormente tiende a presentar un decremento suavizado. El Eurocódigo 4 toma la rigidez de un conector de corte por efecto del deslizamiento como la relación existente entre el 70% de la carga característica PRK y su respectivo deslizamiento δ0,7 [15]. Este tipo de rigidez característica KRk presenta valores semejantes a los obtenidos al finalizar la degradación de rigidez inicial como se observa en la Tabla 7.

4.4. Modo de Falla
La Figura 14a detalla el modo de falla presente en la totalidad de los especímenes para cada posición de análisis, presentando una grieta transversal al ancho de la losa y ubicado en el cambio de sección de la losa. Es sabido que este tipo de falla es común en especímenes que poseen losas con lámina colaborante, algunos autores nombran este tipo de falla como break breaking o rolling fracture debido a que se presenta como una combinación de fractura del hormigón en la zona de nervadura y rotación del último conector, en caso de tener más de uno, como se aprecia en la Figura 14b [13].

En la Figura 15 se presenta un análisis gráfico de las fuerzas internas resultantes, obtenido del modelo de elementos finitos presentado por Wang, la cual se evidencia en especímenes con lámina colaborante, la presencia de grandes fuerzas de compresión en la última nervadura acompañada con considerables esfuerzos de tracción en el último conector, que por consecuencia producen momentos flectores como acciones secundarias en la zona de menor sección de la losa [12].

Wang indicó que este tipo de falla reduce la capacidad de resistencia de carga en las probetas. Además, recomienda el uso de arrostramientos laterales como medida de prevención ante dicha falla prematura [12]. Hicks et al., propusieron este tipo de arrostramiento como una carga normal en las caras de la losa no mayor al 10% de la carga de corte, en adición a la tradicional prueba Push-Out dispuesta por el Eurocódigo 4 [24].
4.5. Evaluación con Ecuaciones de Diseño
El presente apartado presenta una evaluación comparativa de los resultados de resistencia a corte del presente artículo, con ecuaciones de diseño de normativas internacionales y estudios previos. Para la elección de estas, se consideran las expresiones para conectores de corte en condiciones similares, principalmente el tipo de losa y la forma del conector. Las ecuaciones escogidas son resumidas en la Tabla 8. Con base en las normativas internacionales se eligieron las expresiones dispuestas por la ANSI/AISC 360 [14], Eurocódigo 4 [15] y GB50017 [25], las cuales describen el comportamiento de la resistencia a corte de conectores tipo tornillo en presencia de lámina colaborante, mismas que son adaptadas a las disposiciones geométricas de los conectores angulares usados.
Las expresiones tomadas de estudios previos consideran las sugerencias de tres autores. La primera considera la expresión dispuesta por la ANSI/AISC 360 para conectores tipo canal sugerida por Al-kroom et al., por tener similitud con la resistencia de conectores similares al tipo V [26]. En segundo lugar, se utiliza la ecuación dada por Bezerra et al., que predice la resistencia a corte similares al tipo V [9]. Por último, Tahmasbi et al., como el estudio más reciente en publicar un modelo matemático enfocado a conectores angulares en posición C [27].

La Tabla 9 muestra la relación entre los valores obtenidos de resistencia característica de conectores tipo L y V y las resistencias previstas por ecuaciones de diseño.

Las ecuaciones 4, 5, 6 correspondientes a las de diseño para conectores de corte tipo tornillo en lámina colaborante obtenidas de diferentes normativas, presentan mejor ajuste en comparación con las resistencias características obtenidas, siendo la ecuación dispuesta por el Eurocódigo 4 (5) la de menor variación, sin embargo, es la única expresión que subestima en 10% en relación con los datos experimentales. Por lo tanto, se considera la ecuación dada por la GB50017 (6) como la de mejor relación con 1,5 veces mayor a los resultados de las resistencias características. Las sugeridas por varios autores 7, 8 y 9 sobreestiman más del doble de la capacidad característica obtenida, siendo la expresión dada por Bezerra et al. (8) la de menor variación en relación con los datos experimentales.
5. CONCLUSIONES
Se observa que las probetas con lámina colaborante tienden a presentar fallas prematuras por efecto de pandeo, generando agrietamiento transversal y un comportamiento no dúctil según lo dispuesto en el Eurocódigo. La resistencia a corte característica media obtenida es de 52,83 kN para conectores Tipo L y 53,02 kN para conectores tipo V, concluyendo que la posición del conector de corte no afecta significativamente la capacidad a corte.
Los valores de deslizamientos característicos de 3,76 mm y 3,42 mm para conectores tipo L y V respectivamente no cumplen con el criterio de ductilidad dispuesto por el Eurocódigo 4, sin embargo, con base en lo propuesto por la American Society of Civil Engineers (ASCE) [23], los dos tipos de conectores tienen una ductilidad moderada. El análisis de los valores obtenidos de resistencia muestra un comportamiento más favorable del conector tipo ángulo ubicado a 45° (tipo V) para ser empleado en la construcción, por tener una rigidez de 42,27% mayor a los conectores ubicados en 90° (tipo L) y poseer características de ductilidad similares.
En la Tabla 9 se observa que las expresiones empericas consideras para el presente estudio sobreestima la capacidad del conector de corte. La expresión propuesta por el Eurocódigo 4 genera los valores más próximos a los obtenidos. Experimentalmente se obtiene un mejor desarrollo del conector de corte tipo ángulo en losas macizas durante el ensayo Push-Out, se observa que las losas compuestas con placa colaborante tienden a presentar una falla prematura en el hormigón por un efecto de pandeo.
6. AGRADECIMIENTOS
Expresamos nuestro agradecimiento al Centro de Investigación de la Vivienda de la Escuela Politécnica Nacional, por todas las facilidades de personal técnico y equipos para el desarrollo de esta investigación.
7. FINANCIAMIENTO
El financiamiento de esta investigación lo realizó en su totalidad la Escuela Politécnica Nacional.
8. CONFLICTOS DE INTERÉS
Los autores declaran no tener ningún conflicto de interés. Los financiadores no tuvieron ningún papel en el diseño del estudio; en la recopilación, análisis o interpretación de datos; en la redacción del manuscrito; o en la decisión de publicar.
9. CONTRIBUCIÓN DE LOS AUTORES
Conceptualización, L.H.; metodología, H.V., F.V. y E.G.; validación, E.G. y L.H.; análisis formal, H.V., F.V. y E.G.; investigación, H.V., F.V., E.G. y L.H.; datos curaduría, H.V., F.V., E.G, redacción – preparación del borrador original, H.V., F.V.; redacción – revisión y edición, E.G. y L.H.; mostrar, E.G.; supervisión, E.G. y L.H. Todos los autores han leído y aceptado la versión publicada del manuscrito.
10. REFERENCIAS
[1] M. López, R. Larrúa y C. Recarey, “Un nuevo sistema de diseño de embuticiones en láminas de acero para maximizar resistencia de losas compuestas” Revista Ingeniería de Construcción, vol. 22, pp. 145-156, 2007, doi : 10.4067/S0718-50732007000300001
[2] R. Zaki, J. Butterworth y C. Clifton, “Shear Stud Capacity in Profiled Steel Decks,” New Zealand Heavy Engineering Research Association, 2003
[3] S. Shahabi, H. Ramlim Sulong, M. Shariati, M. Mohammadhassani y S. Shah, “Numerical analysis of channel connectors under fire and a comparison of performance with different types of shear connectors subjected to fire,” Steel and Composite Structures, vol. 20, nº 3, pp. 651-699, 2016, doi: 10.12989/scs.2016.20.3.651.
[4] K. Khorramian, S. Maleki, M. Shariati y R. Sulong, “Behavior of Tilted Angle Shear Connectors,” PLoS ONE, vol. 10, nº 12, p. e0144288, 2015, doi: 10.1371/journal.pone.0144288 e0144288.
[5] H. Yokota y S. Maleki, “Load Carrying Capacity of Shear Connectors made of Load Carrying Capacity of Shear Connectors made of Shape Steel in Steel-Concrete Composite Members,” PARI Technical Note 0595, 1987.
[6] S. Choi, K. Tateishi, D. Uchida, K. Asano y K. Koba-yashi, “Fatigue strength of angle shape shear connector used in steel-concrete composite slab,” Int J Steel Struct, vol. 8, nº 3, pp. 199-204, 2008.
[7] S. ROS y H. Shima, “Shear Force-Relative Displacement Relationships of L-shape Shear Connector Subjected to Strut Compressive Force,” コンクリート工学年次論文集, vol. 33, nº 2, pp. 1219-1224, 2011.
[8] M. Shariati, N. Ramli Sulong, A. Shariati y M. Arabnejad Khanouki, “Behavior of V-shaped angle shear connectors: experimentaland parametric study,” Materials and Structures, vol. 49, nº 9, pp. 3909-3926, 2015, doi: 10.1617/s11527-015-0762-8 3909-3926.
[9] L. M. Bezerra, O. O. Cavalcante, L. Chater y B. Jorge , “V-shaped shear connector for composite steel-concrete beam,” Journal of Constructional Steel Research, vol. 150, pp. 162-174, 2018, doi: 10.1016/j.jcsr.2018.07.016. 162-174, 2018.
[10] D. Arévalo, H. Luis, C. Gómez, G. Velasteguí, E. Guaminga, R. Baquero y R. Dibujés, “Structural performance of steel angles hear connectors with different orientation,” CaseStudiesinConstructionMaterials, vol. 14, pp. 1-20, 2021, doi: 10.1016/j.cscm.2021. e00523 1-20, 2021.
[11] N. Rehaman, D. Lam, X. Dai y A. Ashour, “Experimental study on demountable shear connectors in composite slabswith profiled decking,” Journal of Constructional Steel Research, vol. 122, pp. 178-189, 2016, doi: https://doi.org/10.1016/j.jcsr.2016.03.021
[12] A. J. Wang, “Numerical Studies on Structural Behaviour ofShear Connectors in Push-Out Tests,” stralian Journal of Structural Engineering,, vol. 9, nº 2, pp. 76-96, 2009, doi: https://doi.org/10.1016/j.jcsr.2016.03.021 1080/13287982.2009.11465012.
[13] J. Qureshi, D. Lam y J. Ye, “Effect of shear connector spacing and layout on the shear connector capacity in composite beams,” JournalofConstructionalSteelResearch, vol. 67, pp. 706-719, 2011, doi: https://doi.org/10.1016/j.jcsr.2010.11.009.
[14] ANSI/AISC 360, Specification for Structural Steel Buildings., Chicago: American Institute of Steel Construction, 2016.
[15] UNE-EN-1994., Eurocódigo 4: Proyecto de estructuras mixtas de acero y hormigón Parte 1-1: Reglas generales y reglas para edificios, Asociación Española de Normalización y Certificación (AENOR), 2013.
[16] C39/C39M-20, Standard Test Method for Compressive Strength of Cylindrical Concrete Specimens, ASTM International, 2021.
[17] AST International, E8/E8M Standard Test Methods for Tension Testing of Metallic Material, U.S.A.: ASTM Inf., 2010.
[18] X. Hurtado, M. Molina y D. Linero, “Comportamiento de conectores de cortante tipo tornillo de resistencia grado dos para un sistema de sección compuesta,” Revista ingenieria e investigación , vol. 8, nº 2, pp. 4-14, 2008.
[19] D. Ayala, C. Chicaiza, L. Hernández, G. Velástegui y R. Baquero, “Comparación del comportamiento entre conectores de corte angulares de diferente espesores bajo cargas monotónicas y cíclicas,” Gaceta Técnica , vol. 22, nº 2, pp. 3-22, 2021, doi: http://dx.doi.org/10.13140/RG.2.2.18659.27684.
[20] W. Deng, Y. Xiong, D. Liu y . J. Zhang, “Static and fatigue behavior of shear connectors for a steel-concrete composite girder,” Journal of Constructional Steel Research, vol. 159, pp. 134-146, 2019, doi: https://doi.org/10.1016/j.jcsr.2019.04.031.
[21] ASTM E178-16, Standard practice for dealing with outlying observations, West Conshohocken, PA: ASTM International, 2016.
[22] A. Shariati, M. Shariati, N. Ramli Sulong, M. Suhatril, M. Arabnejad Khanouki y M. Mahoutian, “Experimental assessment of angle shear connectors under monotonic nd fully reversed cyclic loading in high strength concrete,” Construction and Building Materials, vol. 52, pp. 276-283, 2014, doi: https://doi.org/10.1016/j.conbuildmat.2013.11.036.
[23] ASCE/SEI 41-17, Seismic evaluation and retrofit of existing buildings, American Society of Civil Engineers, 2017.
[24] S. J. Hicks, A. Ciutina y C. Odenbreit, DEVELOPMENT OF A NEWPUSH TEST FOR EUROCODE 4 (LAC17.I), 2017.
[25] GB50017-2003, Code for desing of steel structures., Beijing: China Architecture &, 2006.
[26] H. Al-kroom, M. Thneibat, Y. Alghrir y V. Schmid, “An experimental investigation of new bent V-shaped shear connector,” Latin American Journal of Solids and Structures, vol. 18, nº 5, pp. 1-18, 2021, doi: https://doi.org/10.1590/1679-78256438.
[27] F. Tahmasbi, M. Shervin, M. Shariati, N. H. Ramli Sulong y . M. M. Tahir, “Shear Capacity of C-Shaped and L-ShapedAngle Shear Connectors,” PLOS ONE, vol. 11, nº 8, 2016, doi: https://doi.org/10.1371/journal.pone.0156989
Notas de autor