Artículo científico
Patrones de distribución a profundidad del carbono orgánico del suelo en diferentes usos del suelo y manejo
Soil organic carbon depth distribution patterns in different land uses and management
Patrones de distribución a profundidad del carbono orgánico del suelo en diferentes usos del suelo y manejo
Terra Latinoamericana, vol. 40, e1321, 2022
Sociedad Mexicana de la Ciencia del Suelo A.C.
Recepción: 14 Diciembre 2021
Aprobación: 16 Marzo 2022
Resumen: La distribución del carbono orgánico de los suelos (COS) a profundidad es importante para definir almacenes de carbono y analizar los impactos de diferentes mecanismos y procesos de desestabilización. La modelación de la distribución vertical del COS ha sido aproximada por enfoques empíricos o usando modelos de cinéticas de primer orden con multi-compartimentos. En este trabajo se introduce un modelo de cinética de orden n, que generaliza desarrollos previos de uso de un solo compartimento. El modelo es ajustado a perfiles de suelo del Proyecto de Manejo Sustentable de Laderas en la Sierra Norte de Oaxaca, México, en tres microcuencas de las regiones Mazateca, Cuicateca y Mixe. Los protocolos de muestreo, diseño experimental, sistemas y laboratorio son presentados. El modelo de cinética de orden n se ajustó bien a los datos experimentales (R2 > 0.99), aunque se encontró alta variabilidad (horizontal y a profundidad), la cual fue discutida como una posible relación con la posición de los puntos de muestreo en campo.
Palabras clave: cinética de orden n, modelo mono-compartimento, Oaxaca, Proyecto de Manejo Sustentable de Laderas, puntos de muestreo, Sierra Norte.
Summary: The distribution of soil organic carbon (SOC) at depth is important to define carbon stocks and for analyzing the impacts of different destabilization mechanisms and processes. The modeling of the vertical distribution of the SOC has been approximated by empirical approaches or using first order kinetic models with multi-compartments. This paper introduces a kinetic model of n order, which generalizes previous developments of use of a single compartment. The model is adjusted to soil profiles of the Hillside Sustainable Management Project in the Sierra Norte of Oaxaca, Mexico, in three microbasins of the Mazateca, Cuicateca and Mixe regions. Sampling protocols, experimental design, systems and laboratory are presented. The kinetic model of n order was adjusted well to the experimental data (R2 > 0.99), although high variability (horizontal and vertical) was found, which was discussed as a possible relationship with the position of the field sampling points.
Index words: n order kinetic, mono-compartment model, Oaxaca, Hillside Sustainable Management Project, sampling points, Sierra Norte.
Introducción
La captura de carbono orgánico del suelo (COS) está asociado a los usos del suelo y prácticas de manejo del suelo (Lal, 2004). Las ganancias o pérdidas de COS asociadas a los cambios de uso del suelo (Smith, 2008) son de alto interés en relación al cambio climático por lo que es importante caracterizar estos almacenes (Penman et al., 2003) (Eggleston, 2006). En lo particular, el potencial de captura de los suelos agrícolas está asociado a mejores prácticas de manejo lo cual ha sido enfatizado como una estrategia de alto impacto para mitigar las emisiones de gases efecto invernadero (Paustian, Larson, Kent, Marx y Swan, 2019). Aunque se ha avanzado en el conocimiento de los mecanismos y procesos de estabilización del COS (Sollins, Homann y Caldwell, 1996; von Lützow et al., 2006; Schrumpf et al., 2013), aun quedan vacíos en el conocimiento para entenderlos (Chabbi y Rumpel, 2009; Stockmann et al., 2013; Bailey, Hicks y Lajtha, 2019).
Es práctica común determinar los almacenes del COS a profundidades someras (0 a 30 cm), recomendado para los inventarios nacionales (Penman et al., 2003; Eggleston, 2006), bajo el argumento de que el COS a profundidades mayores es estable/recalcitrante, con tiempos de residencia grandes y tasas de descomposición bajas (Lorenz y Lal, 2005; Jenkinson, Poulton y Bryant, 2008; Jenkinson y Coleman, 2008; Rumpel y Kögel-Knabner, 2011; Schrumpf et al., 2013). El COS a profundidad en el suelo puede ser desestabilizado al cambiar las practicas de manejo o condiciones ambientales (Bernal et al., 2016; Gross y Harrison, 2019), por lo que la practica de medirlo a mayor profundidad (0 a 1 m) es necesaria (Harrison, Footen y Strahm, 2011).
Ha sido necesario un modelado de la dinámica del COS para entender procesos y realizar proyecciones ante diferentes escenarios de cambio climático o perturbaciones antropogénicas (Lal, 2009) y también el modelado de la distribución del COS a profundidad ha sido planteado como un requerimiento para las nuevas generaciones de modelos (Stockmann et al., 2013; Campbell y Paustian, 2015). Los enfoques del modelo deben ser costo-efectivos, aplicables a la dinámica del COS en paisajes y usar parametrizaciones que puedan ser asociadas a mediciones de laboratorio y con complejidad reducida (Stockmann et al., 2013).
Los modelos de distribución a profundidad del COS han sido de tipo empírico (Paz y Etchevers, 2016; Murphy, Wilson y Koen, 2019) o mecanicista (Hilinski, 2001; Jenkinson y Coleman, 2008). En lo general los modelos mecanicistas temporales y espaciales (profundidad) de la dinámica del COS representan cinéticas de primer orden y múltiples compartimentos o almacenes del COS (Paustian, Collins y Paul, 1997; Manzoni et al., 2012), lo cual los hace complejos de parametrizar.
La distribución vertical del COS esta asociada mayormente con el tipo de vegetación (Jobbágy y Jackson, 2000 y 2001) debido a que en su mayoría es producto de los ingresos de la muerte y descomposición de las raíces (Jackson et al., 2017; Hicks-Pries et al., 2018; Gross y Harrison, 2019), aunque la distribución del COS se extiende más allá de la profundidad radical, implicando procesos adicionales (descomposición, transporte, bioturbación) a los ingresos provenientes de las raíces y mantillo (superficie).
Un punto importante de la distribución vertical del COS es la caracterización de su “firma” (Franzluebbers, 2002 y 2010) para el desarrollo de indicadores de la calidad del suelo y del tipo de vegetación y manejo. Si se considera el uso de modelos simplificados de la dinámica del COS (modelos de estados y transiciones; Covaleda, Paz y Ranero, 2016 y 2018), es necesario conocer si el sistema esta en estado de equilibrio o transitorio, dado que esta consideración puede conducir a sobre o subestimaciones del COS (Sanderman y Baldock, 2010).
Un aspecto importante en la caracterización de los almacenes de carbono orgánico de los suelos es su alta variabilidad espacial (Post, Izaurralde, Mann y Bliss, 2001; Paz, Argumedo, Cruz, Etchevers y de Jong, 2016) y su dependencia de la escala de muestreo (Paz, Etchevers, Martínez y Ortiz, 2008, 2009 y 2010). Para inventariar el COS a nivel de paisajes o regiones, se han utilizado técnicas que modelar el COS a profundidad y su variación espacial (Mishra et al., 2009; Meersmans, van Weswmael, De Riddery van Molle, 2009; Kempen, Brus y Stoorvogel, 2011), para poder caracterizar la distribución tridimensional del COS.
El objetivo de este trabajo es analizar y modelar los patrones de la distribución vertical del COS. En este trabajo se estudiaron perfiles del suelo localizados en tres microcuencas de regiones de la Sierra Norte de Oaxaca, México, con el objetivo de analizar y modelar los patrones de la distribución vertical del COS asociado a diferentes y práctica de manejo.
Materiales y Métodos
La base de perfiles de suelo analizada en este trabajo proviene del Proyecto Manejo Sustentable de Laderas (PMSL) coordinado por el Colegio de Postgraduados (PMSL, 2001), que inicio operaciones en 1999 en las regiones Mazateca, Cuicateca y Mixe pertenecientes a la Sierra Norte de Oaxaca, México.
Los detalles de los sitios de muestreo seleccionados, tales como su descripción, prácticas culturales, rendimientos y análisis económicos de los sistemas implementados pueden ser encontrados en Cortés (2001) y Cortés et al. (2005). El diseño muestral y protocolos de campo y laboratorio se pueden encontrar en varias publicaciones (Etchevers, 2001; Etchevers, Acosta, Monreal, Quednow y Jiménez, 2001;Acosta, Etchevers, Monreal, Quednow e Hidalgo, 2001; Etchevers et al., 2003 y 2005a; Monreal et al., 2005). Las estimaciones de los almacenes del COS en los sistemas analizados, incluyendo su distribución a profundidad puede encontrarse en varias publicaciones (Etchevers, 2001; Acosta et al., 2001; Etchevers, Vergara, Acosta, Monreal y Jiménez, 2005b; Monreal et al., 2005). Adicionalmente, información sobre la fertilidad de los suelos puede encontrarse en Etchevers et al. (2005b) y Vergara-Sánchez y Etchevers (2006).
La variación espacial (profundidad 0 a 20 cm y 20 a 40 cm) ha sido analizada por Vergara-Sánchez, Etchevers y Vargas (2004) y revisada en relación con los protocolos de muestreo y laboratorio por González-Molina, Etchevers e Hidalgo (2008).
La modelación de la dinámica del COS (2000-2004) en la capa superficial de algunos sitios de muestreo en diferentes sistemas ha sido implementada por González-Molina, Etchevers, González y Paz (2010).
No obstante, se presenta una breve descripción de las regiones de estudio, sistemas, sitios de muestreo, diseño experimental, protocolos de campo y laboratorio.
Regiones de la sierra norte de Oaxaca, México
Se muestra en la Figura 1, la localización de las regiones de la Sierra Norte de Oaxaca, México. En la región Mazateca la microcuenca se encuentra localizada entre las coordenadas 18° 08’ 57” - 18° 10’ 13” N y 96° 53’ 30” - 96° 54’ 43” O, en Santa Catarina, municipio de San Jerónimo Teocoatl. La superficie de la microcuenca es de 319 ha, con una altitud entre 1300 a 1900 m. La mayor parte de las pendientes rebasan 30% y los suelos dominantes son luvisol, rendzina, feozem y acrisol, con precipitación > 2000 mm y temperatura de 16 a 27 °C. Los principales sistemas son milpa tradicional de maíz (Zea mays) intercalado con fríjol (Phaseolus vulgaris), y ocasionalmente calabaza (Cucurbita pepo) y arvenses; pastizal; bosque de aile (Alnus acuminata), bosque de liquidambar (Liquidambar staryflua), por lo general secundarios; y cafetales (Coffea arabica) cultivado bajo sombra de árboles de Inga sp.

En la región Cuicateca, la microcuenca se encuentra localizada entre las coordenadas 17° 50’ 202” y 17° 51’ 25” N y 96° 51’ 55” y 96° 52’ 35” O, en Concepción Pápalo, en municipio del mismo nombre. La microcuenca tiene una superficie de 174 ha, con una altitud entre 1700 y 2200 m. La mayor parte de las pendientes del terreno rebasan el 30% y los suelos dominantes son luvisol, rendzina, feozem y acrisol. La precipitación anual esta entre 500 y 700 mm y la temperatura entre 18 y 20 °C. Los principales sistemas son milpa de maíz, pastizal, bosque de encino (Quercus sp.) y matorrales con una mezcla de diferentes especies arbustivas y arbóreas, tipo bosque abierto.
Finalmente, en la región Mixe, la microcuenca se localiza entre las coordenadas 17° 00’ 45” y 17° 01’ 16” N y 95° 53’ 53” y 95° 54’ 10” O, en Zompantle, municipio de Cacalotepec. La microcuenca tiene una superficie de 32 ha y la altitud varia entre 1280 y 1520 m. La pendiente que predomina esta entre 25 y 70%, con suelos dominantes acrisol y cambisol. La precipitación anual es de 1500 a 2000 mm año-1 y la temperatura es de 17 a 27 °C. Los principales sistemas son milpa de maíz, café bajo sombra y acahuales (esto es, sucesión secundaria, generada en el descanso de las parcelas de cultivo después de dos a tres años de uso de las parcelas de cultivo).
Sistemas y prácticas de manejo
En las tres regiones la mayoría de las familias cultivan su milpa usando el sistema de Roza-Tumba-Quema (RTQ), que consiste en el cultivo de maíz por un periodo corto (dos a tres años), seguido por un periodo de descanso (acahual) que permite la recuperación de la fertilidad, donde este periodo varía en función de la recuperación del suelo y la presión para su uso agrícola.
A partir de 1999, en las regiones de estudio se implementaron tecnologías mejoradas a las existentes: labranza de conservación, sistemas agroforestales y milpa intercalada con árboles frutales (MIAF), realizándose el primer muestreo del carbono orgánico en los perfiles seleccionados de suelos en 2000.
El Cuadro 1 muestra los sistemas en cada región, agrupados por las siguientes clases genéricas: Sistemas de Vegetación Forestal (SVF), Sistemas Agrícolas Permanentes (SAP), Sistemas Agrícolas Mixtos (SAM) y Sistemas Agrícolas Anuales (SAA).

De acuerdo a la pendiente del terreno se usó el método de siembra manual o con tracción animal (Cuadro 1).
En el Cuadro 1 se observa la diversidad de clima, topografía, prácticas culturales, así como los distintos usos y manejo del suelo entre los sistemas implementados.
Bajo la consideración de que las mediciones de los sistemas mejorados o alternativos tienen un año de su implementación, en el Cuadro 1 se describe el uso del suelo previo, para tener el contexto del legado del sitio o parcela (Foster et al., 2003).
Diseño experimental en sitios de muestreo
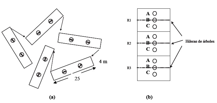
Para el Sistema de Vegetación Forestal y Sistema Agrícola Permanente, se utilizaron 5 parcelas de muestreo distribuidas al azar en los sistemas, de 25 m de longitud y de 4 m de ancho, Figura 2a. En cada parcela se establecieron dos puntos de muestreo (relojes) y en cada reloj se realizaron dos mediciones, por lo que el total de mediciones (perfiles) fue de 20 (=5×2×2). Los puntos de medición fueron realizados en círculos fijos (varillas enterradas), midiéndose el año 2000 (T0, primer año) en el punto de las 12 y 6 horas, Figura 3. Los otros puntos del reloj se midieron en años posteriores, pero solo en la capa superficial del suelo.
En el caso del Sistema Agrícola Mixto (SAM) y Sistema Agrícola Anual (SAA) se utilizó una parcela de 9 m de longitud y anchura variable, dependiente del tratamiento utilizado. En cada parcela se utilizaron tres repeticiones (R1, R2 y R3), Figura 2b, y se establecieron tres puntos (relojes) de medición en cada repetición (puntos A, B y C, Figura 2b), perpendicular a la hilera de las plantas del sistema. El punto B se colocó cercano a las plantas, por lo que la influencia de éstas es mayor que en los puntos A y C.


Protocolo de muestreo y análisis de laboratorio
Los muestreos en los puntos de medición fueron realizados con una barrena de 3.17 cm de diámetro interno (JMC Backsaver N-3 Handle) en la región Mazateca y de 4.17 cm (AMS Soil Sampling Equipment) en la región Cuicateca y Mixe. El cambio de barrena se justica por la dificultad suelos con pedregosidad interna.
Los muestreos fueron realizados nominalmente a intervalos de 15 cm, hasta la profundidad de 105 cm. En los casos que no se pudo llegar a la profundidad de 105 cm, por capa endurecida o roca, el muestreo se terminó hasta el punto de mayor profundidad.
Después de identificar las muestras de campo se trasladaron al laboratorio en bolsas de plástico. En el laboratorio de seco al aire hasta peso constante y se retiraron manualmente las raíces visibles, además de otros residuos de fauna y materia vegetal y gravas.
Las muestras de suelo fueron disgregadas con un martillo de madera hasta hacer pasar la muestra de suelo por una malla de 2 mm, después de homogeneizar (muestreo representativo) la muestra. Después se tomo una submuestra representativa de 5 g, se secó a 105 °C y se molió durante tres minutos en un molino (Speck 8000 Mixer/Mill). La muestra molida se secó a 105 °C durante dos horas y se colocó en un desecador antes de la determinación del contenido del C en un autoanalizador (Shimadzu TOC 5000-A). Previo al análisis de la muestra principal, se utilizaron muestras representativas para comprobar que no hubiere C inorgánico (carbonatos) en las muestras.
Modelos de la distribución del COS a profundidad
Los modelos empíricos más usados (Paz y Etchevers, 2016; Murphy et al., 2019), con dos parámetros, fueron:
donde: C es el COS (g C kg-1 suelo) a la profundidad Z (cm) y Z0 = Z - Z15 cm.
El uso de Z0 + 1 en el modelo logarítmico y potencial, es para tener C = C0 (15 cm) cuando Z = Z0.
En vez de utilizar cinéticas de orden uno y múltiples compartimentos como es clásico, se utilizó un solo almacén genérico:
que es una reacción de cinética de orden n, con tasa de reacción kn . Los modelos exponenciales, y la gran mayoría de los modelos mecanicistas (Manzoni et al., 2012), son de orden n = 1, por lo que dinámica de la relación (4) difiere de este tipo de reacciones La solución a la relación (4), para diferentes valores de n está mostrada en muchos textos de la literatura clásica de cinética de reacciones (p. ej. El Seoud, Baader y Bastos, 2016).
Cinética de orden n = 0
Cuya solución es:
que representa un patrón gradacional, de acuerdo con la tipología de patrones del COS a profundidad de Minasny, Stockmann, Hartemink y McBratney (2006).
Cinética de orden n = 1
Cuya solución es:
que representa un patrón no lineal en la tipología de Minasny et al. (2006), y es uno de los modelos más usados, particularmente por tener bases teóricas asociadas al transporte y descomposición del COS a profundidad (Nakane y Shinozaki, 1978; O´Brien y Stout, 1978).
Cinética de orden n = 2
Cuya solución es:
La cinética de orden 2 ha sido utilizada previamente en las ciencias del suelo (Stanford, 1969; Whitmore, 1996a y b). En el caso de la mineralización del suelo, Whitmore (1996a y b) planteo la cinética en función del producto de dos componentes: una proporcional al substrato (p. ej. αC) y la otra de los microorganismos derivados del substrato (p. ej. [1-α]C). La cinética de orden n = 2 queda entonces como:
cuya solución es:
Cinética de orden n ≠ 1
Con:
Cuya solución es:
La solución general de la relación (13), n ≠ 1, implica un proceso iterativo (en profundidad o en el tiempo) que puede tener valores de n < 1 o n > 1 de subprocesos (relación 12), incluyendo el caso n < 0. El modelo exponencial es solo un caso de las soluciones de la cinética de orden n, por lo que los ajustes satisfactorios con este modelo avalan la dinámica.
Análisis estadísticos
Para la evaluación de los ajustes empíricos de los modelos presentados, se usó una comparación entre lo medido (Yi) y lo estimado (Ŷi), en función de su pendiente (t) e intersección o sesgo (s):
Además del uso del coeficiente de determinación R2, las métricas de error de los ajustes estadísticos fueron la raíz del error cuadrático medio (RECM):
Resultados y Conclusiones
En lo general, todos los análisis del COS a profundidad se realizaron usando la profundidad media de las mediciones (7.5, 22.5, 37.5, 52.5, 67.5, 82.5, 97.5 cm), con algunos casos de valores de profundidad diferentes por el uso de muestreos diferentes de los nominales.
Distribución vertical del contenido de COS en los sistemas
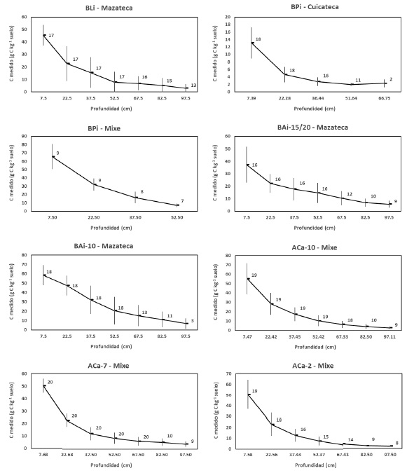
La Figura 4 muestra la distribución de los estadísticos, promedio ± 1 desviación estándar, del COS a profundidad para los Sistemas de Vegetación Forestal, donde se aprecia la variabilidad del COS en los perfiles. En lo general, los patrones de la Figura 4 son del tipo no lineal, con el COS decreciendo en forma continua con la profundidad.

La Figura 5 muestra los Sistemas Agrícolas Permanente, donde para el caso de la región Mazateca (CBS y PRA) se observa gran variación del COS a profundidad. Los patrones son decrecientes, con algunos casos donde se observan pequeños rompimientos de la tendencia (ligero incremento en vez de disminución).

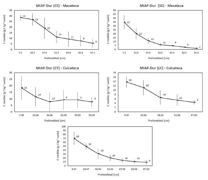
En el caso de los Sistemas Agrícolas Mixtos, la Figura 6 muestra los patrones, donde se presentan situaciones de efectos en el estrato superficial (MIAF-Dur CS) de labranza e incrementos ligeros, en vez de decrementos, del COS a profundidad (MIAF-Dur CY), reflejando la situación del poco tiempo de establecimiento.

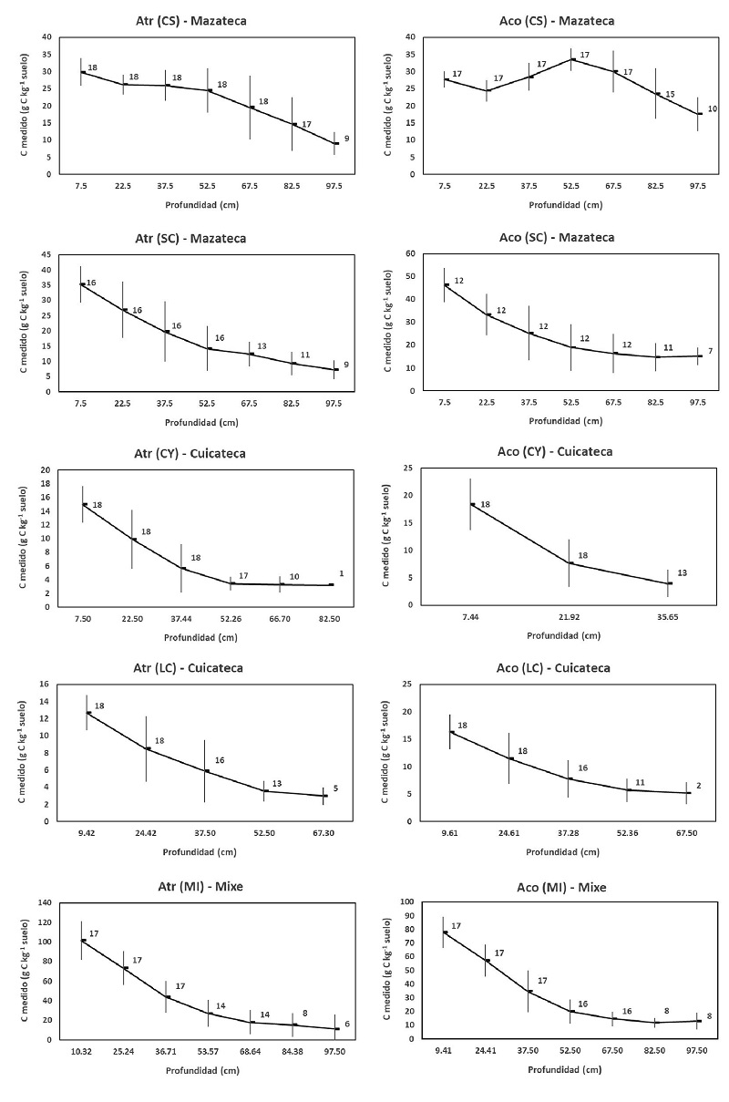
Finalmente, en la Figura 7 se observan los patrones de la distribución vertical del COS de los Sistemas Agrícolas Anuales, donde el patrón de ACO (CS) en la región Mazateca tiene horizontes enriquecidos de C en las profundidades medias, por lo que este sistema no fue analizado en lo siguiente por representar discontinuidades. Los patrones del COS son decrecientes (convexos), con excepción de ATtr (CS) de la región Mazateca que es cóncavo.

Ajustes estadísticos de los modelos
Para analizar los ajustes estadísticos de los modelos propuestos (exponencial, logarítmico, potencial y cinética de orden n), usando regresión no lineal (función Solver de ExcelMR), se utilizaron los perfiles del COS de la región Mazateca, para los casos de la profundidad media de 82.5 y 97.5 cm. En el Cuadro 2 se presentan los resultados de los ajustes estadísticos.

Del Cuadro 2, resulta claro que el modelo de cinética de orden n resulto en el mejor ajuste, siendo el modelo exponencial el segundo mejor. Dado que el modelo exponencial es parte del de cinética de orden n, entonces es claro que en lo general este modelo genera resultados de ajustes estadísticos buenos (R2 > 0.99).
Ajustes del modelo de cinética de orden n para promedios de la distribución del COS en los perfiles
La Figura 8 y el Cuadro 3 muestran los ajustes estadísticos (regresión no lineal) del modelo de cinética de orden n a los diferentes sistemas de las tres regiones analizadas. Los ajustes fueron realizados considerandos solo los perfiles con una profundidad hasta 105 cm, hasta 90 cm, hasta 75 cm y hasta 65 cm, para no considerar perfiles con numero de datos variables. Solo el patrón atípico de Aco (CS) de la región Mazateca y Aco (CY) de la región Cuicateca (datos hasta la profundidad de 45 cm) no se consideraron.


Para analizar la relación orden n-tasa de reacción kn , bajo la consideración de cuando -kn → 0, entonces exp(kn ) → 1, se analizó el espacio n-exp(kn ), Figura 8. Cuando n = 1 (modelo exponencial) se puede establecer como un umbral donde el COS a profundidad está en equilibrio, dado que exp(kn ) es cercano a 1. Para valores de n > 1, exp(kn ) tiende a estar más cerca de 1. Los valores de exp(kn ) cercanos a uno implican una “profundidad media de residencia” muy grande, por lo que el modelo depende solo de su grado de estabilidad o equilibrio (orden n).
Los patrones de la relación n - exp(kn ) están asociados a dos tendencias: n > 1 de sistemas en equilibrio o estables y n < 1 con patrones no en equilibrio, asociados a sistemas en sucesión o de agricultura tradicional.
En la Figura 8c (profundidad hasta 75 cm), se observa que el patrón hacia no equilibrio de n-exp(kn ) tiene dos tendencias: la mostrada dentro de la elipse en rojo de la Figura 8c representa los sistemas Atr (LC) y MIAF-Dur (CS) de la región Cuicateca que presentan patrones transitorios diferentes al resto: Bai-10, MIAF-Caf. Aco, CBS y Acahuales, que son del tipo transicional, pero con tendencia diferente a los previos. Algo similar sucede para la profundidad de 0 a 60 cm, Figura 8d, donde los mostrados dentro de la elipse de línea roja corresponden a MIAF-Dur, Atr y Aco del sitio LC de la región Mazateca. Una posible razón de estas tendencias es el número de datos usados, ya que para los casos de profundidades de 0 a 105 cm y 0 a 90 cm, se observa una sola tendencia.
Ajustes del modelo de cinética de Orden n para perfiles individuales de la distribución del COS
Para analizar el ajuste del modelo de cinética de orden n a perfiles individuales de los sistemas, se consideraron solo perfiles con profundidades de 0 a 105 cm o 0 a 90 cm, dando un total de 74 perfiles. La Figura 9 muestra los ajustes estadísticos y la relación n-exp(kn ) para este caso, donde se observa un solo patrón general entre n y exp(kn ), similar al de la Figura 8a y b.

Cronosecuencia de sucesión de los acahuales en la región Mixe
En la región Mixe se muestreo la distribución vertical del COS en una secuencia de acahuales de 2, 7 y 10 años, por lo que resultante interesante su análisis en términos de tendencias hacia el equilibrio (bosque maduro). La Figura 10 muestra los resultados de los ajustes del modelo, 23 perfiles donde 21 son de la profundidad de 0 a 105 cm, 1 de la profundidad 0 a 90 cm y 1 de la profundidad de 0 a 75 cm.
De la Figura 10 se observa que la relación orden n-exp(kn ) es variable para las diferentes edades de los acahuales, pudiendo implicar que los sitios de muestreo (cerca o alejados de árboles) y la distribución espacial de las plantas define situaciones de equilibrio y transitorias.

Discusión
El modelo de cinética de orden n, un solo almacén, generaliza modelos previos, presentando flexibilidad en los ajustes estadísticos y representando una relación entre el orden n y la tasa de reacción kn que sigue la tendencia de condiciones de equilibrio o transitorias de las dinámicas del uso del suelo.
Una característica del caso estudio analizado es la alta variación espacial (horizontal y vertical) natural. González-Molina et al. (2008) revisaron si esta variabilidad es producto de protocolos de laboratorio, concluyendo que, para el caso de las concentraciones del carbono, los resultados son reproducibles y no sesgados por los procedimientos analíticos utilizados.
Una posible explicación de la variabilidad observada en los parámetros ajustados al modelo cinético de orden n es la posición de muestreo utilizada. En el Cuadro 4 se presentan los parámetros del modelo para algunos casos de sitios de medición definidos en la Figura 2b (Sistemas Agrícolas Mixtos y Anuales), el punto B esta bajo la influencia del árbol o planta de cultivo. Se observa de este cuadro que la posición de muestreo B muestra patrón de mayor equilibrio (orden n) que los muestreos sin alta influencia de la vegetación. Los perfiles considerados en el análisis del Cuadro 4 corresponde a las profundidades 0 a 105 centímetros.

Para el COS distribuido a profundidad, el mayor ingreso proviene de las raíces de las plantas (Rasse, Rumpel y Dignac, 2005; Gross y Harrison, 2019), por lo que la zona de la rizosfera (Uren, 2007) define las interacciones con el carbono orgánico del suelo (Hafner, Wiesenberg, Stolnikova, Merz y Kuzyakov, 2014). En los Sistemas Agrícolas Mixtos (agroforestales), la posición de muestreo con relación a la ubicación de los troncos de los árboles define la concentración de los nutrientes, incluido el carbono (Zinke, 1962; Rhoades, 1996; Pardon et al., 2017) y su distribución vertical (Rhoades, 1996; Bayala et al., 2019); aunque también la pendiente y la posición en la misma influyen sobre las concentraciones del COS (Wei, Shao, Fu y Horton, 2010). En caso de cultivos agrícolas y tipos de labranza, la posición del muestreo en relación a las hileras y espacio entre hileras, también cambia la concentración del COS y las emisiones de CO2 y estructura de la matriz del suelo (da Silva, Ball, Tormena, Giarola y Guimarães, 2014; Ferreira et al., 2015). El uso de promedios aritméticos no refleja los pesos de los puntos de muestreo en términos de una función de decaimiento de la influencia de los árboles o plantas, por lo es necesario realizar un promedio ponderado para considerar esta situación.
La modelación de la distribución vertical del COS asociado a diferentes usos del suelos y prácticas de manejo permite caracterizar sus patrones. El considerar el carbono orgánico a profundidad (integrado) permite analizar en forma completa los efectos del manejo de los cultivos, y así evitar enfoques parciales de evaluación de prácticas como la labranza de conservación (Baker, Ochsner, Venterea y Griffis, 2006).
Conclusiones
La distribución del carbono a profundidad debe considerarse para tener una visión mejor del almacén y sus mecanismos de estabilización y desestabilización, implicados en el orden de la cinética. La modelación del carbono orgánico del suelo a profundidad requiere de esquemas alternativos simples (menos parámetros), pero que consideren la complejidad de los procesos asociados, en forma genérica.
El modelo de cinética de orden n introducido se ajustó a los datos de diferentes perfiles de suelos asociados a diferentes usos del suelo y prácticas de manejo, generando resultados aceptables (generalmente R2 > 0.99), por lo que su aplicación empírica quedó demostrada.
El uso de una cinética de reacción de orden n implica un proceso iterativo de modificación del carbono orgánico en el suelo (profundidad y tiempo), que podría modelar un gran número de subprocesos. En esta perspectiva, de acuerdo a la evidencia empírica presentada, es necesario el desarrollo teórico para la modelación continua de la dinámica del carbono, bajo la consideración de un solo almacén, que no utiliza almacenes virtuales y cinéticas asociadas.
Declaración de Ética
No aplicable.
Consentimiento para Publicación
No aplicable.
Disponibilidad de Datos
Los datos están disponibles de los autores previa solicitud razonable.
Conflicto de Intereses
Los autores declaran que no tienen intereses en competencia.
Contribución de los Autores
Conceptualización y diseño: M.A.M. y F.P.P. Protocolo de laboratorio y supervisión: C.H.M y J.E.B. Revisión resultados: J.E.B. Escritura: F.P.P. y M.A.M. Revisión manuscrito: J.E.B. y C.H.M.
Literatura Citada
Acosta, M., Etchevers, J. D., Monreal, C., Quednow, K., & Hidalgo, C. (2001). Un método para la medición del carbono en los compartimentos subterráneos (raíces y suelos) de sistemas forestales y agrícolas en terrenos de ladera en México. Simposio Internacional Medición y Monitoreo de la Captura de Carbono en Ecosistemas Forestales (pp. 9-18). Valdivia, Chile. Disponible en http://www.iufro.org/download/file/6976/153/ws13papeles1_pdf/
Bailey, V. L., Hicks Pries, C., & Lajtha, K. (2019). What do we know about soil carbon stabilization? Environmental Research Letters, 14(8), 1-15. https://doi.org/10.1088/1748-9326/ab2c11
Baker, J. M., Ochsner, T. E., Venterea, R. T., & Griffis, T. J. (2006). Tillage and soil carbon sequestration - What do we really know? Agriculture, Ecosystems and Environment, 118(1-4), 1-5. https://doi.org/10.1016/j.agee.2006.05.014
Bayala, J., Sanou, J., Bazié, H. R., Coe, R., Kalinganiere, A., & Sinclair, F. L. (2019). Regenerated trees in farmers’ fields increase soil carbon across the Sahel. Agroforestry Systems, 94, 401-415. https://doi.org/10.1007/s10457-019-00403-6
Bernal, B., McKinley, D. C., Hungate, B. A., White, P. M., Mozdzer, T. J., & Megonigal, J. P. (2016). Limits to soil carbon stability, deep, ancient soil carbon decomposition stimulated by new labile organic inputs. Soil Biology and Biochemistry, 98, 85-94. https://doi.org/10.1016/j.soilbio.2016.04.007
Campbell, E. E., & Paustian, K. (2015). Current developments in soil organic matter modeling and the expansion of model applications: a review. Environmental Research Letters, 10(12), 123004. https://doi.org/10.1088/1748-9326/10/12/123004
Chabbi, A., & Rumpel, C. (2009). Organic matter dynamics in agro-ecosystems - the knowledge gaps. European Journal of Soil Science, 60(2), 153-1572. https://doi.org/10.1111/j.1365-2389.2008.01116.x
Cortés-Flores, J. I. (2001). Subproyecto III: Tecnologías alternativas sustentables. En Proyecto Manejo Sostenible de Laderas (PMSL) de las regiones Cuicateca, Mazateca y Mixe del estado de Oaxaca, México (pp. 52-63). Montecillo, México: COLPOS.
Cortés-Flores, J. I., Turrent, A., Díaz, P., Jiménez, L., Hernández, E., & Mendoza, R. (2005). Hillside agriculture and food security in Mexico: Advances in the sustainable hillside management project. In R. Lal, N. Uphoff, B. A. Stewart, & D. O. Hansen. (Eds.). Climate change and global food security (pp. 569-588), chapter 23. Boca Raton, FL, USA: CRC Press. https://doi.org/10.1201/9781420028614
Covaleda, S., Paz, F., & Ranero, A. (2016). Carbono edáfico en Chiapas: planteamiento de políticas públicas de mitigación de emisiones. Terra Latinoamericana, 34(1), 97-112.
Covaleda, S., Paz, F., & Ranero, A. (2018). Escenarios de mitigación de emisiones para el sector rural del Estado de Chiapas utilizando modelos de estados y transiciones. Madera y Bosques, 24(núm. especial), e2401897. https://doi.org/10.21829/myb.2018.2401897
da Silva, A. P., Ball, B. C., Tormena, C. A., Giarola, N. F. B., & Guimarães, R. M. L. (2014). Soil structure and greenhouse gas production differences between row and interrow position under no-tillage. Scientia Agricola, 71(2), 157-162.
Eggleston, H. S., Buendia, L., Miwa, K., Ngara, T., Tanabe, K., & Intergovernmental Panel on Climate Change. (2006). Agriculture, forestry and other land use IPCC Guidelines for National Greenhouse Gas Inventories. Hayama, Japan: IPCC.
El Seoud, O. A., Baader, W. J., & Bastos, E. L. (2016). Practical chemical kinetics in solution. In Z. Wang (Ed.). Encyclopedia of physical organic chemistry (pp. 1-68). New York, NY, USA: John Wiley and Sons. https://doi.org/10.1002/9781118468586.epoc1012
Etchevers, J. D. (2001). Subproyecto II: Metodología para la medición de la captura de carbono. Informe (2001). En Proyecto Manejo Sostenible de Laderas (PMSL) de las regiones Cuicateca, Mazateca y Mixe del estado de Oaxaca, México. Montecillo, México: COLPOS.
Etchevers, J. D., Acosta, M., Monreal, C., Quednow, K., & Jiménez, L. (2001). Los stocks de carbono en diferentes compartimientos de la parte aérea y subterránea en sistemas forestales y agrícolas de ladera en México. En Memorias del Simposio Internacional Medición y Monitoreo de la Captura de Carbono en Ecosistemas Forestales (pp. 39-50).Valdivia, Chile: Universidad Austral de Chile.
Etchevers, J. D., Acosta, M., Monreal, C., Hidalgo, C., Padilla, J., & Jiménez, L. (2003). Below-ground (roots and soil) compartments of carbon in forest and agricultural systems on hillsides of Mexico. In C. A. Scott Smith (Ed.). Soil organic carbon and agriculture: Developing indicators for policy analysis (pp. 163-172). Ottawa, ON, Canada: Agriculture and Agri-Food Canada
Etchevers, J. D., Monreal, C. M., Hidalgo, C., Acosta, M., Padilla, J., & López, R. M. (2005a). Manual para la determinación de carbono en la parte aérea y subterránea de sistemas de producción en laderas. Texcoco, Edo. de México, México: Colegio de Postgraduados.
Etchevers, J. D., Vergara, M. A., Acosta, M., Monreal, C. M., & Jiménez, L. (2005b). Soil organic carbon, quality index, and soil fertility in hillside agriculture. In R. Lal, B. A. Stewart, N. Uphoff, & D. O. Hansen (Ed.). Climate change and global food security (pp. 589-604). Boca Raton, FL, USA: Taylor and Francis.
Ferreira, C. J. B., Tormena, C. A., Moreira, W. H., Zotarelli, L., Betioli, E., & Anghinoni, G. (2016). Sampling position under no-tillage systems affect the results of soil physical properties. Revista Brasileira de Ciência do Solo, 40. https://doi.org/10.1590/18069657rbcs20150189
Foster, D., Swanson, F., Aber, J., Burke, I., Brokaw, N., Tilman, D., & Knapp, A. (2003). The importance of land-use legacies to ecology and conservation. BioScience, 53(1), 77-88. https://doi.org/10.1641/0006-3568(2003)053[0077:TIOLUL]2.0.CO;2
Franzluebbers, A. J. (2002). Soil organic matter stratification ratio as an indicator of soil quality. Soil and Tillage Research, 66(2), 95-106. https://doi.org/10.1016/S0167-1987(02)00018-1
Franzluebbers, A. J. (2010). Depth distribution of soil organic carbon as a signature of soil quality. In R. J. Gilkes, & N. Prakougkep (Eds.). Proceedings of the 19th World Congress of Soil Science (pp. 1-6). Brisbane, Qld., Australia: WCSS.
González-Molina, L., Etchevers, J. D., González, J. M., & Paz, F. (2010). Soil organic carbon changes at the plot level in hillside systems. Agriculture, Ecosystems and Environment, 139(4), 508-515. https://doi.org/10.1016/j.agee.2010.09.010
González-Molina, L., Etchevers-Barra, J. D., & Hidalgo-Moreno, C. (2008). Carbono en suelos de ladera: factores que deben considerarse para determinar su cambio en el tiempo. Agrociencia, 42(7), 741-751.
Gross, C. D., & Harrison, R. B. (2019). The case of digging deeper: soil organic carbon storage, dynamics, and controls in our changing world. Soil Systems, 3(2), 28 https://doi.org/10.3390/soilsystems3020028
Hafner, S., Wiesenberg, G. L. B., Stolnikova, E., Merz, K., & Kuzyakov, Y. (2014). Spatial distribution and turnover or root-derived carbon in alfalfa rhyzosphere depending in top- and subsoil properties and mycorrhization. Plant and Soil, 380(1), 101-115. https://doi.org/10.1007/s11104-014-2059-z
Harrison, R. B., Footen, P. W., & Strahm, B. D. (2011). Deep soil horizons: contribution and importance to soil carbon pools in assessing whole-ecosystem response to management and global change. Forest Science, 57(1), 67-76. https://doi.org/10.1093/forestscience/57.1.67
Hicks-Pries, C. E., Sulman, B. N., West, C., O´Neill, C., Poppleton, E., Porras, R. C., … Torn, M. S. (2018). Root litter decomposition slows with soil depth. Soil Biology and Biochemistry, 125, 103-114. https://doi.org/10.1016/j.soilbio.2018.07.002
Hilinski, T. E. (2001). Implementation of exponential depth distribution of organic carbon in the CENTURY model. Dep. of Soil and Crop Sci. Fort Collins, CO, USA: Colorado State Univ.
Jackson, R. B., Lajtha, K., Crow, S. E., Hugelius, G., Kramer, M. G., & Piñeiro, G. (2017). The ecology of soil carbon pools, vulnerabilities, and biotic and abiotic controls. Annual Review of Ecology, Evolution, and Systematics, 48, 419-445. https://doi.org/10.1146/annurev-ecolsys-112414-054234
Jenkinson, D. S., & Coleman, K. (2008). The turnover of organic carbon in subsoils. Part 2. Modelling carbon turnover. European Journal of Soil Science, 59(2), 400-413. https://doi.org/10.1111/j.1365-2389.2008.01026.x
Jenkinson, D. S., Poulton, P. R., & Bryant, C. (2008). The turnover of organic carbon in subsoils. Part 1. Natural and bomb radiocarbon in soil profiles from the Rothamsted long-term field experiments. European Journal of Soil Science, 59(2), 391-399.
Jobbágy, E. G., & Jackson, R. B. (2000). The vertical distribution of soil organic carbon and its relation to climate and vegetation. Ecological Applications, 10(2), 423-436. https://doi.org/10.1890/1051-0761(2000)010[0423:TVDOSO]2.0.CO;2Citations
Jobbágy, E. G., & Jackson, R. B. (2001). The distribution of soil nutrients with depth: global patterns and the imprint of plants. Biogeochemistry, 53(1), 51-77. https://doi.org/10.1023/A:1010760720215
Kempen, B., Brus, D. J., & Stoorvogel, J. J. (2011). Three-dimensional mapping of soil organic matter content using soil type-specific depth functions. Geoderma, 162(1-2), 107-123. https://doi.org/10.1016/j.geoderma.2011.01.010
Lal, R. (2004). Soil carbon sequestration to mitigate climate change. Geoderma, 123(1-2), 1-22. https://doi.org/10.1016/j.geoderma.2004.01.032
Lal, R. (2009). Challenges and opportunities in soil organic matter research. European Journal of Soil Science, 60(2), 158-169. https://doi.org/10.1111/j.1365-2389.2008.01114.x
Lorenz, K., & Lal, R. (2005). The depth distribution of soil organic carbon in relation to land use and management and the potential of carbon sequestration in subsoil horizons. Advances in Agronomy, 88, 35-66. https://doi.org/10.1016/S0065-2113(05)88002-2
Manzoni, S., Piñeiro, G., Jackson, R. B., Jobbágy, E. G., Kim, J. H., & Porporato, A. (2012). Analytical models of soil and litter decomposition: solutions for mass loss and time-dependent delay rates. Soil Biology and Biochemistry, 50, 66-76. https://doi.org/10.1016/j.soilbio.2012.02.029
Meersmans, J., van Weswmael, B., De Ridder, F., & van Molle, M. (2009). Modelling the three-dimensional spatial distribution of soil organic carbon (SOC) at the regional scale (Flanders, Belgium). Geoderma, 152(1-2), 43-52. https://doi.org/10.1016/j.geoderma.2009.05.015
Minasny, B., Stockmann, U., Hartemink, A. E., & McBratney, A. B. (2006). Measuring and modelling soil depth functions. In: A. E. Hartemink, & B. Minasny (Eds.). Digital soil morphometrics. Progress in Soil Science (pp. 225-240). Switzerland: Springer, Cham.. https://doi.org/10.1007/978-3-319-28295-4_14
Mishra, U., Lal, R., Slater, B., Calhoun, F., Liu, D., & Van Meirvenne, M. (2009). Predicting soil organic carbon stock using profile depth distribution functions and ordinary kriging. Soil and Water Management and Conservation, 73(2), 614-621. https://doi.org/10.2136/sssaj2007.0410
Monreal, C. M., Etchevers, J. D., Acosta, M., Hidalgo, C., Padilla, J., López, R. M.,... Velázquez, A. (2005). A method for measuring above-and below-ground C stocks in hillside landscapes. Canadian Journal of Soil Science, 85(Special Issue), 523-530. https://doi.org/10.4141/S04-086
Murphy, B. W., Wilson, B. R., & Koen, T. (2019). Mathematical functions to model the depth distribution of soil organic carbon in a range of soils from New South Wales, Australia under different land uses. Soil Systems, 3(3), 46. https://doi.org/10.3390/soilsystems3030046
Nakane, K., & Shinozaki, K. (1978). A mathematical model of the behavior and vertical distribution of organic carbon in forest soils. Japanese Journal of Ecology, 28(2), 111-122. https://doi.org/10.18960/seitai.28.2_111
O´Brien, B. J., & Stout, J. D. (1978). Movement and turnover of soil organic matter as indicated by carbon isotope measurements. Soil Biology and Biochemistry, 10(4), 309-312. https://doi.org/10.1016/0038-0717(78)90028-7
Pardon, P., Reubens, B., Reheul, D., Mertens, J., De Frenne, P., Coussement, T., … Verheyen, K. (2017). Trees increase soil organic carbon and nutrient availability in temperate agroforestry systems. Agriculture, Ecosystems and Environment, 247, 98-111. https://doi.org/10.1016/j.agee.2017.06.018
Paustian, K., Collins, H. P., & Paul, E. A. (1997). Management controls on soil carbon. In E. A. Paul, E. T. Elliott, K. Paustian, & C. V. Cole (Eds.). Soil organic matter in temperate agroecosytems: Long term experiments in North America (pp. 15-49). Boca Raton, FL, USA: CRC Press. https://doi.org/10.1201/9780367811693
Paustian, K., Larson, E., Kent, J., Marx, E., & Swan, A. (2019). Soil C sequestration as a biological negative emission strategy. Frontiers in Climate, 1, 8. https://doi.org/10.3389/fclim.2019.00008
Paz, F., Balbontín, C., Etchevers, J., Martínez, M., & Ortiz, C. (2008). Análisis multifractal del carbono en los suelos 1. Función universal de escalamiento. Terra Latinoamericana, 26(2), 183-191.
Paz, F., Balbontín, C., Etchevers, J., Martínez, M., & Ortiz, C. (2009). Análisis multifractal del carbono en los suelos 2. Divergencia de momentos estadísticos. Terra Latinoamericana, 27(3), 257‑264.
Paz, F., Balbontín, C., Etchevers, J., Martínez, M., & Ortiz, C. (2010). Análisis multifractal del carbono en los suelos 3. Estimaciones escalantes. Terra Latinoamericana, 28(1), 89‑95.
Paz, F., & Etchevers, J. (2016). Distribución a profundidad del carbono orgánico en los suelos de México. Terra Latinoamericana, 34(3), 339-355.
Paz, F., Argumedo, J., Cruz, C. O., Etchevers, J. D., & de Jong, B. (2016). Distribución espacial y temporal del carbono orgánico del suelo en los ecosistemas terrestres de México. Terra Latinoamericana, 34(3), 289-310.
Penman, J., Gytarsky, M., Hiraishi, T., Krug, T., Kruger, D., Pipatti, R.,... & Wagner, F. (2003). Good practice guidance for land use, land-use change and forestry. Japan: IPCC.
PMSL (Proyecto Manejo Sostenible de Laderas). (2001). Manejo sostenible de laderas. Regiones Cuicateca, Mazateca y Mixe, estado de Oaxaca, México. Investigación/Desarrollo 1999-2005. Texcoco, Edo. de México, México: Colpos.
Post, W. M., Izaurralde, R. C., Mann, L. K., & Bliss, N. (2001) Monitoring and verifying changes of organic carbon in soil. In N. J. Rosenberg, & R. C. Izaurralde (Eds.). Storing carbon in agricultural soils: A multi-purpose environmental strategy (pp. 73-99). Dordrecht: Springer. https://doi.org/10.1007/978-94-017-3089-1_4
Rasse, D. P., Rumpel, C., & Dignac, M. F. (2005). Is soil carbon mostly root carbon? Mechanisms for a specific stabilization. Plant and Soil, 269(1), 341-356. https://doi.org/10.1007/s11104-004-0907-y
Rhoades, C. C. (1996). Single-tree influences on soil properties in agroforestry: lessons from natural forest and savanna ecosystems. Agroforestry Systems, 35(1), 71-94. https://doi.org/10.1007/BF02345330
Rumpel, C., & Kögel-Knabner, I. (2011). Deep soil organic matter - a key but poorly understood component of terrestrial C cycle. Plant and Soil, 338, 143-158. https://doi.org/10.1007/s11104-010-0391-5
Sanderman, J., & Baldock, J. A. (2010). Accounting for soil carbon sequestration in national inventories: a soil scientist´s perspective. Environmental Research Letters, 5(3), 034003.
Schrumpf, M., Kaiser, K., Guggenberger, G., Persson, T., Kögel-Knabner, I., & Schulze, E. D. (2013). Storage and stability of organic carbon in soils as related to depth, occlusion within aggregates, and attachment to minerals. Biogeosciences, 10(3), 1675-1691. https://doi.org/10.5194/bg-10-1675-2013
Smith, P. (2008). Land use change and soil organic carbon dynamics. Nutrient Cycling in Agroecosystems, 81(2), 169-178. https://doi.org/10.1007/s10705-007-9138-y
Sollins, P., Homann, P., & Caldwell, B. A. (1996). Stabilization and destabilization of soil organic matter: mechanisms and controls. Geoderma, 74(1-2), 65-105. https://doi.org/10.1016/S0016-7061(96)00036-5
Stanford, G. (1969). Extraction of soil organic nitrogen by autoclaving in wáter: 2. A kinetic approach to estimating the NAOH-distillable fraction. Soil Science, 107(5), 323-328.
Stockmann, U., Adams, M. A., Crawford, J. W., Field, D. J., Henakaarchchi, N., Jenkins, M., … Zimmeermann, M. (2013). The knowns, known unknowns and unknowns of sequestration of soil organic carbon. Agriculture, Ecosystems and Environment, 164, 80-99. https://doi.org/10.1016/j.agee.2012.10.001
Uren, N. (2007). Types, amounts, and possible functions of compounds released into the rhizosphere by soil-grown plants. In R. Pinton, Z. Varanini, & P. Nanipieri (Eds.). The rhizosphere. Biochemistry and organic substances at the soil-plant interface (pp. 35-56). Boca Rato, FL, USA: CRC Press.
Vergara-Sánchez, M. Á., & Etchevers-Barra, J. D. (2006). Relación entre el uso de la tierra y su fertilidad en las laderas de la Sierra Norte de Oaxaca, México. Agrociencia, 40(5), 557-567.
Vergara-Sánchez, M. Á., Etchevers-Barra., J. D., & Vargas-Hernández, M. (2004). Variabilidad del9 carbono orgánico en suelos de ladera del sureste de México. Terra Latinoamericana, 22(3), 359-367.
von Lützow, M., Kögel-Knabner, I., Ekschmitt, K., Matzner, E., Guggenberger, K., Marschner, B., & Flessa, H. (2006). Stabilization of organic matter in temperate soils: mechanisms and their relevance under different soil conditions - a review. European Journal of Soil Science, 57(4), 426-445. https://doi.org/10.1111/j.1365-2389.2006.00809.x
Wei, X., Shao, M., Fu, X., & Horton, R. (2010). Changes in soil organic carbono and total nitrogen after 28 years grassland afforestation: effect of tree species, slope position, and soil order. Plant and Soil, 331(1), 165-179. https://doi.org/10.1007/s11104-009-0243-3
Whitmore, A. P. (1996a). Alternative kinetic laws to describe the turnover of the microbial biomass. Plant and Soil, 181(1), 169-173. https://doi.org/10.1007/BF00011304
Whitmore, A. P. (1996b). Describing the mineralization of carbon added to soil in crop residues using second-ordeer kinetics. Soil Biology and Biochemistry, 28(10-11), 1435-1442. https://doi.org/10.1016/S0038-0717(96)00153-8
Zinke, P. J. (1962). The pattern of influence of individual forest trees on soil properties. Ecology, 43(1), 130-133. https://doi.org/10.2307/1932049
Zhong, L., & Qiguo, Z. (2001). Organic carbon content and distribution in soils under different land uses in tropical and subtropical China. Plant and Soil, 231, 175-185. https://doi.org/10.1023/A:1010350020951
Notas
Notas de autor
‡ Autor para correspondencia (ferpazpel@gmail.com)