Desde la Academia
Simulación de esfuerzos mecánicos en materiales para la ingeniería
Simulations of Mechanical Stress in Materials for Engineering
Simulación de esfuerzos mecánicos en materiales para la ingeniería
Epistemus (Sonora), vol. 18, no. 36, e3602314, 2024
Universidad de Sonora, División de Ingeniería
Received: 23 April 2023
Accepted: 23 January 2024
Published: 07 February 2024
Resumen: El trabajo desarrollado en este artículo corresponde en enseñar a los estudiantes de ingeniería como a través del uso de una simulación con el software SolidWorks® es posible obtener los mismos resultados al hacer un análisis matemático de los esfuerzos mecánicos en materiales. El artículo explica una serie de pasos a seguir en dicho software para obtener los resultados del análisis de esfuerzos. Primero, se explica de forma breve el análisis matemático en un tipo de material (dos placas de metal). Después se obtienen los mismos resultados utilizando el software, ya que solo con entender los conceptos fundamentales de esfuerzos, el estudiante será capaz de comprender y predecir los resultados que arroja el SolidWorks® sin estudiar a fondo las matemáticas que conlleva dicho análisis en el material.
Palabras clave: SolidWorks, Esfuerzo, Esfuerzo mecánico.
Abstract: The work developed in this article corresponds to teaching engineering students how, through the use of a simulation with SolidWorks® software, it is possible to obtain the same results as doing a mathematical analysis of mechanical stresses in materials. The article explains a series of steps to follow in this software to obtain stress analysis results. First, the mathematical analysis in a type of material (two metal plates) is briefly explained. Then, the same results are obtained using the software, as by understanding the fundamental concepts of stresses, the student will be able to comprehend and predict the results generated by SolidWorks® without studying the mathematics involved in the analysis of the material in-depth.
Key words: SolidWorks, Stress, Mechanical stress.
Introducción
Para aquellos estudiantes que se encuentran matriculados en programas de licenciatura o ingeniería, y que poseen un sólido y profundo entendimiento de los fundamentos teóricos y prácticos relacionados con los esfuerzos y los desarrollos analíticos asociados, se les brinda una serie de herramientas especializadas que les permiten aplicar sus conocimientos de manera efectiva y solucionar problemas concretos y de relevancia práctica. Este aspecto adquiere una trascendental importancia en campos como la ingeniería, donde los principios fundamentales relacionados con la fuerza juegan un papel crítico en el diseño óptimo de estructuras y dispositivos.
No obstante, es preciso reconocer que existen otros estudiantes que enfrentan dificultades considerables al intentar comprender a cabalidad estos conceptos, debido a la notable complejidad matemática que los acompaña. Resulta frecuente que estos educandos se sientan abrumados por las fórmulas y cálculos involucrados, lo cual puede desalentarlos y generar cierta aprehensión ante la perspectiva de tener que dominar de manera exhaustiva dichos temas.
Por ende, es de suma importancia que los profesores y los programas educativos aborden de forma sistemática y efectiva esta dificultad. Dado el nivel de relevancia que ostentan los conceptos de esfuerzos y los desarrollos analíticos en campos aplicados como la ingeniería, resulta esencial que los estudiantes adquieran un conocimiento profundo y una comprensión sólida de los mismos. Aunque es cierto que estos conceptos pueden plantear desafíos debido a la complejidad inherente de las matemáticas aplicadas, también es innegable que estos desafíos son igualmente intrínsecos para los docentes universitarios.
Uno de los enfoques ampliamente empleados con el objetivo de resolver o aproximar la respuesta a los esfuerzos mecánicos presentes en estructuras o elementos de maquinaria es conocido como "Análisis de Elementos Finitos" (Finite Element Analysis, FEA). Este método, cuya naturaleza se encuentra basada en el empleo de técnicas numéricas y aproximaciones, implica la discretización de una ecuación diferencial que describe de manera precisa la geometría del sistema en un conjunto de elementos finitos.
En el contexto específico del FEA aplicado a los esfuerzos mecánicos, se hace uso de ecuaciones matemáticas altamente sofisticadas para modelar y representar la distribución de los esfuerzos y las deformaciones presentes en la estructura. Asimismo, se utiliza software especializado en FEA para resolver estas ecuaciones y proporcionar información detallada y precisa sobre la respuesta mecánica de la estructura en cuestión, incluyendo la distribución de esfuerzos, deformaciones, desplazamientos y grados de libertad asociados.
El presente trabajo se enfoca en la exhaustiva explicación de los esfuerzos de tensión que se manifiestan en materiales de acero o ingeniería, utilizando como herramienta principal de simulación el software SolidWorks®. Se aborda un ejemplo representativo cuidadosamente seleccionado de la bibliografía pertinente.
Estado del arte
El concepto fundamental de esfuerzo en materiales se refiere a la capacidad intrínseca de un material para resistir deformaciones frente a la aplicación de fuerzas, expresada en términos de la relación entre la magnitud de la fuerza aplicada y el área de la sección transversal afectada. De esta manera, los materiales exhiben propiedades elásticas y plásticas cuyo comportamiento puede variar en mayor o menor grado según su composición interna y características inherentes. En numerosos diseños ingenieriles que emplean materiales, se ubican en la región elástica o lineal [1, 2]. Cabe destacar que todos los materiales experimentan deformaciones al someterlos a cargas, siendo imposible evitar dicha deformación. La deformación elástica denota la capacidad del material de retornar a sus dimensiones originales una vez que la carga ha sido retirada, en contraste con la región plástica donde la deformación se torna permanente. En ciertos diseños ingenieriles, se considera la inclusión de componentes o piezas en la región plástica [3].
Existen tres tipos principales de esfuerzos que se generan en los materiales al ser sometidos a cargas: tensión [4, 5], compresión [6, 7] y corte [8, 9, 10]. Estos esfuerzos lineales constituyen la base para la aparición de esfuerzos no lineales [11, 12] y residuales [13, 14]. Los esfuerzos no lineales se refieren al comportamiento de los materiales ante cargas que inducen deformaciones permanentes o situaciones en la región plástica del material. Por otro lado, los esfuerzos residuales persisten después de retirar la carga, manteniendo el material una memoria de esfuerzo. Este último aspecto es de especial relevancia en la fabricación de estructuras y componentes, donde se han desarrollado distintos métodos para medir las tensiones residuales en diversos tipos de componentes, con el objetivo de obtener evaluaciones precisas, como en el caso de equipos ópticos y de ultrasonido [15, 16]. Asimismo, es importante mencionar la existencia de una rama de investigación que se centra en el estudio de los esfuerzos de los materiales en respuesta a cambios de temperatura y su comportamiento subsiguiente [17, 18].
Con el propósito de garantizar el correcto funcionamiento y la seguridad de una estructura o elemento de máquina, además de lograr un diseño óptimo y rentable, los ingenieros hacen uso de una poderosa herramienta matemática conocida como elementos finitos, la cual permite calcular los esfuerzos involucrados en dichas estructuras o elementos de máquinas fabricados con los materiales mencionados anteriormente [19].
Ejemplo analítico de esfuerzo aplicado a dos placas fijas por un extremo.
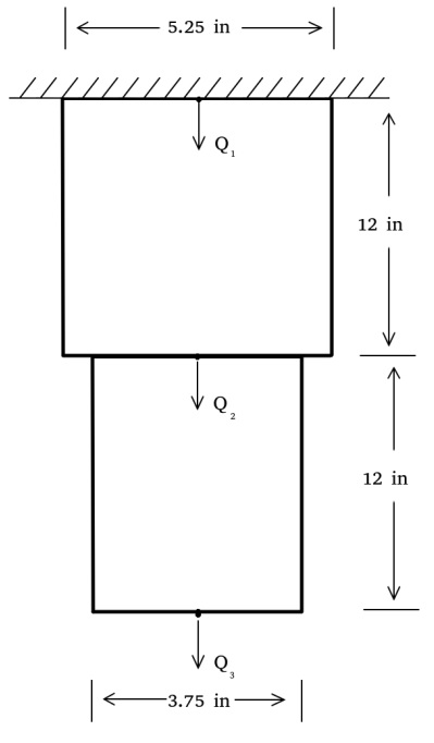
En el siguiente ejemplo se consideran dos placas metálicas en donde se aplican operaciones básicas con matrices para obtener la solución. Dichas placas tienen un espesor de t = 1 in., módulo de Young E = 30 X 10⁶ psi y densidad de peso ρ = 0.2836 lb/in³. Además, la placa está sujeta a una fuerza de 100 lb. ¿Encontrar los esfuerzos y la deformación en ellas? [20].
Al examinar atentamente la figura 1, podemos identificar la presencia de tres nodos claramente definidos, a saber, Q₁, Q₂ y Q₃. Es importante destacar que, en virtud de su posición en el sistema, el valor atribuido al nodo Q₁ se establece en cero, debido a la inexistencia de cualquier tipo de deformación en dicho punto.

La ecuación para la matriz de rigidez es:
Donde Ee es el módulo de Young, A el área del elemento y le la longitud del elemento. Las expresiones para los dos elementos son:
1 2 → Gdl. Global
Grado de libertad (Gdl)
2 3 → Gdl. Global
La ecuación del vector fuerza es,
Donde leAe son el volumen y f la fuerza por unidad de volumen.
Realizando la sustitución de los valores correspondientes a cada elemento, se obtiene como resultado, Gdl Global
La matriz de rigidez global de se ensambla a partir de k¹ y k² como,
1 2 3
Similar al vector también, lo es para el vector
El siguiente paso es obtener los valores de los grados de libertad y el esfuerzo en cada placa.
La longitud en la que se deforman las placas en la dirección de la fuerza, son el valor de Q₁ y Q₂.
Es evidente que la comprensión del desarrollo previo requiere de un sólido dominio del álgebra matricial y de conocimientos matemáticos. La falta de destreza en estos aspectos puede generar dificultades y frustración en los lectores. No obstante, se han desarrollado programas informáticos con el propósito específico de obtener resultados en este ámbito, lo cual simplifica considerablemente la tarea. En consecuencia, el desafío principal radica en la interpretación de los resultados obtenidos, que puede resultar ardua.
Diseño de una pieza en la herramienta SolidWorks®
En primer lugar, se procede a la creación y diseño de la geometría correspondiente mediante el uso del software SolidWorks®. Este programa se selecciona como herramienta principal debido a su capacidad para generar modelos tridimensionales precisos y detallados. La representación gráfica de la geometría en cuestión se encuentra ilustrada en la figura anterior, la cual se identifica específicamente como figura 2.

En el conjunto integral de herramientas proporcionado por el software SolidWorks®, se incluye una sección específica denominada 'SolidWorks® Simulation', la cual posee un conjunto de funcionalidades y capacidades destinadas al análisis y simulación de diseños (ver figura 3). En este contexto, se le recomienda al usuario que proceda a seleccionar dicha sección dentro de la interfaz del programa con el fin de acceder a las herramientas pertinentes.

Posteriormente, se procede al siguiente paso, que consiste en la selección de la opción denominada 'Editar material' o 'Edit material' en el caso de la versión en inglés, con el propósito de generar un nuevo material o bien optar por uno previamente existente en la vasta biblioteca de materiales provista por SolidWorks® (ver figura 4).

Al momento de generar un nuevo componente que no se encuentre previamente registrado en la biblioteca de software, es imprescindible ejercer una cautela meticulosa respecto a las propiedades mecánicas, térmicas y densidad que se incorporen en dicho material. Procederemos haciendo clic derecho en la ventana de edición de materiales y, a continuación, seleccionaremos la opción denominada "Nueva librería" o bien "New Library", tal como se ilustra en la figura 5.

En consecuencia, al realizar dicha acción, se desplegará una nueva interfaz en la cual se solicitará la creación de un nombre para la biblioteca adicional. A continuación, se procederá a la incorporación de nuevas categorías, tales como aceros, plásticos, aluminios, entre otras (ver Figura 6).

Finalmente, se procederá a ingresar los datos correspondientes a los materiales o a las propiedades inherentes a los mismos, completando así el proceso (ver Figura 7).

Proceda seguidamente a realizar la selección de la opción denominada 'Nuevo Estudio (Estático)' o 'New Study (Static)', y a continuación, haga clic en la opción designada como 'Geometría fija' o 'Fixtures'. En este paso, se le recomienda al usuario que dirija su atención hacia la parte superior de la figura, con el objetivo de establecer una sujeción firme y estable para la base de la pieza en consideración (ver figura 8).

A continuación, haga clic en 'External Loads' o 'Fuerzas externas' y seleccione 'Load' o 'Fuerza', indicando la fuerza requerida y su dirección. Finalmente, haga clic en la parte de la pieza donde desea aplicar la fuerza (ver figura 9).

Falta determinar los elementos a calcular o el mallado como se muestra en la figura 10. Mientras más fino sea este, mejor será el resultado y se aproximará más al valor real, pero se requerirá más tiempo de cómputo.

Para culminar este proceso, es necesario realizar la selección de la opción "Ejecutar" con el fin de iniciar la resolución del análisis, y una vez finalizado, el software proporcionará los resultados pertinentes. Dichos resultados se encuentran visualmente representados en las figuras 11 y 12, las cuales exhiben de manera gráfica y precisa la información obtenida a través de dicho análisis.


Al realizar una observación detallada de las figuras 11 y 12, se puede apreciar que la representación gráfica emplea una codificación cromática en la cual el color rojo indica una concentración más intensa de esfuerzo dentro del material, mientras que el color azul señala una menor concentración de esfuerzo. Específicamente, la figura 11 muestra la distribución de esfuerzos en unidades de psi, mientras que la figura 12 ofrece una representación visual de la deformación total experimentada por el material analizado.
Conclusiones
Tras realizar un análisis exhaustivo de los esfuerzos mecánicos mediante la utilización del software SolidWorks®, diseñado específicamente para estudiantes universitarios de licenciatura, se llega a la conclusión de que dicho análisis constituye una herramienta efectiva para verificar la capacidad de una pieza en resistir las cargas a las que estará expuesta durante su funcionamiento normal o en el desempeño de su función específica. Asimismo, este análisis posibilita la determinación de la idoneidad del diseño para soportar la carga aplicada, permitiendo así tomar medidas para fortalecer la pieza o efectuar modificaciones en el diseño a fin de garantizar su seguridad y confiabilidad. Además, este análisis proporciona una orientación para examinar las zonas críticas del material, lo cual resulta de vital importancia para optimizar el diseño y prever posibles fallos mecánicos en el futuro. En este contexto, es pertinente destacar que los gráficos generados por este software contribuyen significativamente a la comprensión de los resultados obtenidos.
En consecuencia, un estudiante que logre adquirir un profundo entendimiento del análisis de esfuerzo en SolidWorks® obtendrá habilidades prácticas y conocimientos sumamente valiosos para su futura carrera profesional. Esta competencia resulta especialmente beneficiosa para alcanzar un mayor nivel de comprensión en el campo de la ingeniería mecánica, sin necesidad de involucrarse en complejos cálculos matemáticos asociados a los elementos finitos. Por lo tanto, resulta suficiente que el estudiante asimile los conceptos fundamentales de los esfuerzos mecánicos para comprender adecuadamente el comportamiento de los materiales y extraer conclusiones pertinentes en lo que respecta al diseño de máquinas, estructuras o elementos mecánicos.
Referencias:
(2010). Mecánica de materiales (No. TA405. B43 1994.). Mc Graw Hill.
Hancock, J. W., & Mackenzie, A. C. (1976). On the mechanisms of ductile failure in high-strength steels subjected to multi-axial stress-states. Journal of the Mechanics and Physics of Solids, 24(2-3), 147-160. DOI: https://doi.org/10.1016/0022-5096(76)90024-7
Salehinia, I., Shao, S., Wang, J., & Zbib, H. M. (2014). Plastic deformation of metal/ceramic nanolayered composites.Jom,66, 2078-2085. DOI: https://doi.org/10.1007/s11837-014-1132-7
Karuppasamy, K. S. K., Balaji, P. S., & Sahoo, N. (2020). Introduction to Stress-Strain Relationship and Its Measurement Techniques. In Applications and Techniques for Experimental Stress Analysis (pp. 22-38). IGI Global. DOI: 10.4018/978-1-7998-1690-4.ch002
Tu, S., Ren, X., He, J., & Zhang, Z. (2020). Stress-strain curves of metallic materials and post‐necking strain hardening characterization: A review. Fatigue & Fracture of Engineering Materials & Structures, 43(1), 3-19. DOI: https://doi.org/10.1111/ffe.13134
Nemati, K. M., Monteiro, P. J., & Scrivener, K. L. (1998). Analysis of compressive stress-induced cracks in concrete. ACI Materials Journal, 95, 617-630.
Nakamitsu, M., Oyama, K., Imai, H., Fujii, S., & Oaki, Y. (2021). Ultrahigh‐sensitive compression‐stress sensor using integrated stimuli‐responsive materials. Advanced Materials, 33(14), 2008755. DOI: https://doi.org/10.1002/adma.202008755
Naughton, J. W., & Sheplak, M. (2002). Modern developments in shear-stress measurement. Progress in Aerospace Sciences, 38(6-7), 515-570. DOI: https://doi.org/10.1016/S0376-0421(02)00031-3
Fu, P., & Dafalias, Y. F. (2011). Study of anisotropic shear strength of granular materials using DEM simulation.International Journal for Numerical and Analytical Methods in Geomechanics,35(10), 1098-1126. DOI: https://doi.org/10.1002/nag.945
Towle, L. C., & Riecker, R. E. (1968). Empirical relationship between shear strength, pressure, and temperature-II. Applied Physics Letters, 13(5), 159-161. DOI: https://doi.org/10.1063/1.1754828
Varghese, T., Ophir, J., & Krouskop, T. A. (2000). Nonlinear stress-strain relationships in tissue and their effect on the contrast-to-noise ratio in elastograms. Ultrasound in medicine & biology, 26(5), 839-851. DOI: https://doi.org/10.1016/S0301-5629(00)00199-X
Amijima, S., & Adachi, T. (1979). Nonlinear stress-strain response of laminated composites. Journal of composite materials, 13(3), 206-218. DOI: https://doi.org/10.1177/0021998379013003
Rossini, N. S., Dassisti, M., Benyounis, K. Y., & Olabi, A. G. (2012). Methods of measuring residual stresses in components. Materials & Design, 35, 572-588. DOI: https://doi.org/10.1016/j.matdes.2011.08.022
Parlevliet, P. P., Bersee, H. E., & Beukers, A. (2007). Residual stresses in thermoplastic composites-A study of the literature-Part I: Formation of residual stresses. Composites Part A: Applied Science and Manufacturing, 37(11), 1847-1857. DOI: https://doi.org/10.1016/j.compositesa.2006.12.005
Suárez, J. C., Remartınez, B., Menéndez, J. M., Güemes, A., & Molleda, F. (2003). Optical fibre sensors for monitoring of welding residual stresses. Journal of materials processing technology, 143, 316-320. DOI: https://doi.org/10.1016/S0924-0136(03)00481-3
Sanderson, R. M., & Shen, Y. C. (2010). Measurement of residual stress using laser-generated ultrasound. International journal of pressure vessels and piping, 87(12), 762-765. DOI: https://doi.org/10.1016/j.ijpvp.2010.10.001
Guo, L. C., & Noda, N. (2010). An analytical method for thermal stresses of a functionally graded material cylindrical shell under a thermal shock. Acta Mechanica, 214(1-2), 71-78. DOI: https://doi.org/10.1007/s00707-010-0315-8
Reddy, J. N., & Chin, C. D. (1998). Thermomechanical analysis of functionally graded cylinders and plates. Journal of thermal Stresses, 21(6), 593-626. DOI: https://doi.org/10.1080/01495739808956165
isiak-Myszke, M., Marciniak, D., Bieliński, M., Sobczak, H., Garbacewicz, Ł., & Drogoszewska, B. (2020). Application of finite element analysis in oral and maxillofacial surgery-A literature review. Materials, 13(14), 3063. DOI: https://doi.org/10.3390/ma13143063
Chandrupatla, T. (2004). Finite Element Analysis for Engineering & Tech. Universities Press.
Cómo citar este artículo:
Author notes
*Autor de Correspondencia: Jesús Manuel Gutiérrez Villarreal, jmgutierrezv6@gmail.com