Estudios e Investigaciones
Explorando el sistema de protección de la niñez en El Salvador*
Exploring the Child Protection System in El Salvador
Explorando o sistema de proteção infantil em El Salvador
Explorando el sistema de protección de la niñez en El Salvador*
Revista Latinoamericana de Ciencias Sociales, Niñez y Juventud, vol. 21, núm. 1, pp. 95-118, 2023
Centro de Estudios Avanzados en Niñez y Juventud Cinde - Universidad de Manizales
Recepción: 07 Septiembre 2022
Aprobación: 24 Octubre 2022
Publicación: 16 Diciembre 2022
Resumen (analítico) : Se exploran las prácticas institucionales que facilitan u obstaculizan la protección de los derechos de niños, niñas y adolescentes en el sistema de protección de la niñez en El Salvador. Partiendo de un diseño de etnografía institucional, se realizaron 61 entrevistas a trabajadores pertenecientes al sistema de protección. Como resultado, se identificó la ausencia de manuales que establezcan prácticas concretas en la aplicación de la Ley de Protección Integral de la Niñez y Adolescencia, obstruyendo su óptimo funcionamiento. A través del uso de la teoría del interaccionismo simbólico, se explora cómo la interpretación discrecional o no entendimiento de la ley forma instituciones aisladas del sistema; también se analiza el grado en que las dinámicas socioeconómicas del país ponen en desventaja a los sectores rurales para acceder a estos servicios.
Palabras clave: Sistema de protección, niñez y adolescencia, interaccionismo simbólico, El Salvador, ley Lepina, coordinaciones de sistemas, protocolos de prácticas, derechos humanos, prácticas institucionales. Tesauro de Ciencias Sociales de la Unesco.
Abstract (analytical) : This study explores the institutional practices that support or hinder the rights of children and young people in the child protection system in El Salvador. Using an institutional ethnography approach, 61 individuals who worked directly or indirectly in the child protection system were interviewed. The findings highlight a lack of manuals that establish concrete practices in accordance with the application of the Law of Comprehensive Protection for Children and Youth, which reduces the effectiveness of the country’s child protection system. Through an analytical approach based on symbolic interactionism, this study explored how the individual interpretations of the law, or lack thereof, combine with socioeconomic disadvantages to create difficulties for rural child protection institutions in terms of accessing operational resources.
Keywords: Child protection system, children and youth, symbolic interactionism, El Salvador, Lepina Law, systems coordination, practice protocols, human rights, institutional practices.
Resumo (analítico) : O presente estudo explora as práticas institucionais que apoiam ou dificultam os direitos de crianças e jovens no sistema de proteção infantil em El Salvador. Utilizando um desenho de etnografia institucional, foram entrevistados 61 indivíduos que trabalhavam ou trabalham no sistema de proteção à criança. Os achados indicam que faltam manuais que estabeleçam práticas concretas em consonância com a aplicação da Lei de Proteção Integral da Infância e Juventude o que dificulta a efetividade do sistema de proteção. Por meio de um entendimento baseado no interacionismo simbólico, este estudo explorou como as interpretações individuais da lei, ou a falta dela, e a desvantagem socio-econômica das instituições colocam os setores rurais em desvantagem no acesso aos recursos.
Palavras-chave: Sistema de proteção à criança, crianças e jovens, interacionismo simbólico, El Salvador, Lei Lepina, coordenação de sistemas, protocolos de prática, direitos humanos, práticas institucionais.
Introducción
Desde el cese del conflicto armado en los años noventa, El Salvador ha implementado una visión de inclusión en cuanto a la promoción y garantía de los derechos humanos, buscando formas que permitan el acceso fácil y equitativo a herramientas que promuevan su protección. La firma de los acuerdos de paz de Chapultepec en 1992 fue un evento fundamental, ya que dio paso a entender a los derechos humanos como pilares fundamentales en la reestructuración de la sociedad salvadoreña. En especial, dicha firma permitió avanzar en favor de la reconstrucción de un sistema garante de los derechos de los niños, niñas y adolescentes (en adelante NNA), basándose en lo consignado en la Convención de los Derechos del Niño. Esta situación coincide temporalmente con la campaña internacional de protección de los derechos de los NNA en distintos países latinoamericanos y de otras regiones del mundo (Gülgönen, 2016; Olivares & Reyes Espejo, 2016; Padilla, 2019). Desde entonces, El Salvador ha estado trabajando en una serie de modificaciones a su modelo de leyes y políticas públicas con el propósito de progresar en el campo de protección y atención a los derechos de NNA (Monterrosa et al., 2012).
No obstante, la intención de implementar modelos internacionales basados en la Convención de los Derechos del Niño se ha dificultado ya que, históricamente, El Salvador se ha desenvuelto en una atmósfera violenta y autoritaria que ha sido el fundamento de las relaciones públicas, institucionales y personales (Fondo de las Naciones Unidas para la Infancia [Unicef], 2014; Mejía-Dietrich & Mendoza, 2018; Robinson et al., 2022; Padilla, 2019). Dentro de este marco, la Ley de Protección Integral de la Niñez y Adolescencia (en adelante Lepina) es aprobada en 2009 como la normativa que asegura los derechos y deberes que poseen los NNA en el país, bajo un contexto posconflicto (Orellana- Villalobos, 2014). Esta ley es una herramienta que promueve la creación de instituciones, instrumentos y mecanismos para la conservación y protección de los derechos de los NNA (Martínez-Franzoni, 2014). La función principal de la Lepina es proveer la normativa de un sistema de acción operativo que ponga en balance políticas públicas, planes y programas que garanticen la protección y prevención de vulneración de derechos (Unicef, 2014; Rodríguez-Portillo et al., 2014). Sin embargo, el desarrollo e implementación de estándares de prácticas los respectivos manuales de actuación para implementar estos principios es un proceso de continuo avance.
La introducción de la Lepina buscaba mejorar las rutas jurídicas que permitieran la garantía del pleno goce de derechos, a través de la creación del Sistema de Protección Integral de la Niñez, un instrumento que surge bajo pilares de acceso democrático, eficiente y eficaz (Orellana-Villalobos, 2015). Siguiendo los lineamientos propuestos en el libro segundo, la Lepina introdujo la organización del sistema de protección buscando descentralizar las labores realizadas por servicios de protección a menores y bajo la idea de garantizar una coordinación en las decisiones administrativas a nivel nacional y local. Las siguientes organizaciones son propuestas en el artículo 113: Consejo Nacional de la Niñez y la Adolescencia, los Comités Locales de Derecho de la Niñez y de la Adolescencia, las Juntas de Protección de la Niñez y de la Adolescencia, Asociaciones de Promoción y Asistencia, el Instituto Salvadoreño para el Desarrollo Integral de la Niñez y Adolescencia, miembros de la Red de Atención Compartidas, el poder judicial, la Procuraduría General de la República y la Procuraduría General de la Defensa de los Derechos Humanos (Morlachetti, 2013).
Como plantean Rodríguez-Portillo et al. (2014), es necesario tener la configuración de instituciones que soporten lo estipulado legislativamente, puesto que la ley en su forma teórica no aporta lo suficiente para dar solución a problemáticas presentes. Este es el caso de El Salvador, lugar donde se resalta un avance significativo en materia de aprobación de leyes, pero limitado en cuanto a creación de rutas de acción (Padilla, 2019). El proceso de reforma trajo consigo confusión acerca de la interpretación de la ley y el rol de las instituciones dentro del sistema, tanto para profesionales de dichas instituciones como para usuarios beneficiarios del sistema de protección (Martínez-Franzoni, 2014). De esta manera, la problemática fundamental que se evidencia en el sistema es la dificultad para identificar el concepto de protocolo de actuación dentro de lo consignado en la ley y cómo esta limitante afecta la coordinación entre las instituciones firmantes. Al hacer una revisión a los conceptos claves que enmarcan los procesos de protección, se encuentra que la ley, para hacer referencia a la operación del sistema en la práctica, utiliza el concepto de acción de protección, lo cual intenta delimitar los pasos de un protocolo, pero es limitado en delinear pasos concretos en la práctica. La acción de protección se define como:
La petición o mecanismo por medio del cual se pretende la protección judicial de intereses colectivos o difusos (intereses comunes a un grupo de niños, niñas y adolescentes determinados o indeterminados) de la niñez y adolescencia, mediante la imposición de una determinada prestación o conducta al funcionario, autoridad o particular responsable de su vulneración. (Martínez-Ramos et al., 2011, p. 3)
Los problemas en la eficiencia del sistema se ven conectados a la ausencia de protocolos que expliquen tanto la intervención conjunta institucional como la distinción entre las faltas que atentan en contra de los derechos del NNA (Martínez-Franzoni, 2014). Parada et al. (2016) mencionan la importancia de tener estrategias e intervenciones efectivas, ya que la violencia puede tomar distintas formas y las políticas públicas deben estar enfocadas en la preservación del bienestar de los NNA. Adicionalmente, se identifican varias fallas tempranas en la implementación de la Ley, debido en mayor parte a la falta de estructuración de instituciones como el Consejo Nacional de la Niñez y de la Adolescencia, órgano principal del sistema (Monterrosa et al., 2012). Desde su inicio, la Lepina propuso un sistema descentralizado como mecanismo base para dar atención a los casos de protección y vulneración de derechos, donde cada institución se establece y administra de manera independiente, pero busca estar en constante comunicación con el resto de las instituciones del sistema (Morlachetti, 2013). Esto se asemeja a modelos de protección descentralizados implementados en México y Estados Unidos, los cuales han reportado una serie de limitaciones debido a las restricciones en el acceso a servicios de protección por parte de los usuarios del sistema y la atención de casos entrantes (Steen & Durán, 2014; Valencia et al., 2020).
En consecuencia, la Lepina a menudo otorga discrecionalidad sustancial a las autoridades de ejecución de manera independiente, siguiendo lo establecido por el concepto de procedimiento administrativo, el cual
se configura como una garantía que tiene el ciudadano de que la Administración no va a actuar de un modo arbitrario y discrecional, sino siguiendo las pautas del procedimiento administrativo, procedimiento que por otra parte el administrado puede conocer y que, por tanto, no va a generar indefensión. (Martínez-Ramos et al., 2011, p. 23)
Si bien se necesita cierto nivel de discreción, particularmente cuando se brindan servicios de primera línea en el sistema de protección infantil, se ha identificado la necesidad de herramientas estandarizadas para establecer el riesgo y las protecciones que se deben otorgar a los NNA a fin de reducir la incertidumbre de la evaluación y la toma de decisiones (Segatto et al., 2020); adicionalmente, dicha discrecionalidad puede afectar la decisión de dar atención y reportar un caso. Por ejemplo, y resaltando el caso de estudio realizado por la organización World Vision, se identifica que tanto instituciones gubernamentales como otras pertenecientes al sistema de protección desisten de reportar los casos de vulneración que se estaban presentando dentro de la región (Robison et al., 2022).
Discutiendo la relación ley-estándares de práctica y manuales de actuación, Mejía Dietrich y Mendoza (2018) mencionan que, hasta la fecha, se encuentran instrumentos que solo hacen referencia a cómo el Estado debería tomar acción para preservar la integridad de los derechos de los NNA, mas no se evidencia un protocolo de acción concreto. Por consiguiente, a pesar de tener normativas estipuladas a través de la ley, cuando se refiere a la práctica, estas no se ven reflejadas en el accionar diario (Mejía-Dietrich & Mendoza, 2018). En el actual contexto, la implementación de la Lepina en la cotidianidad de las instituciones parece carecer de un procedimiento paso a paso o estándares de práctica para ejecutar un proceso de protección de los derechos de los NNA (Rodríguez-Portillo et al., 2014). El estudio de Monterrosa et al. (2012) indica que la población encuestada, en general, afirma conocer la ley solo por su nombre, pero no el contenido o cómo funciona el proceso de protección. La falta de manuales o instructivos que expliquen las conexiones entre las instituciones participantes del sistema han generado que estas desarrollen programas o instructivos de manera independiente, limitando la coordinación y eficacia del sistema (Orellana-Villalobos, 2014).
El número de estudios enfocados en el sistema de protección en El Salvador es limitados; sin embargo, en un estudio realizado al sistema de salud en distintas regiones latinoamericanas y del Caribe, Wirtz et al. (2016) describen que, si bien es cierto El Salvador define los conceptos de violencia contra los NNA y el contexto socioeconómico en el cual estas violencias son recurrentes, las acciones tomadas para dar respuesta al posible caso son independientes en cada unidad de salud y son estructuradas bajo una interpretación personal de la ley. Esta falta de coordinación en el uso de manuales de actuación que integren las prácticas institucionales puede disminuir la cooperación entre instituciones (Instituto Salvadoreño para el Desarrollo Integral de la Niñez y la Adolescencia, 2019), lo cual no se alinea con los objetivos de ofrecer una respuesta eficiente a casos que atenten contra la integridad de derechos de NNA (Mejía-Dietrich & Mendoza, 2018).
Varios autores indican que la baja inversión en recursos humanos y económicos en el sistema de protección de los NNA afecta negativamente la implementación de los objetivos principales de garantizar los derechos integrales de dicha población. Esto afecta a los comités de atención local entre otros, lo cual limita acceso equitativo a dichas instituciones (Morlachetti, 2013; Orellana-Villalobos, 2015; Padilla, 2019).
El objetivo principal del estudio1 fue visibilizar cómo las prácticas institucionales pueden ayudar o impedir la aplicación de los principios de la Lepina. La investigación intentó analizar la diferencia entre lo que oficialmente se entiende en la aplicación de los principios de la Lepina y lo que se lleva a cabo en la cotidianidad por los encargados de implementar dichos principios; así mismo, entender cómo la presencia o ausencia de protocolos de acción influye en el tipo de prácticas institucionales que se llevan a cabo en el quehacer cotidiano. La pregunta de investigación que guió este estudio fue: ¿cuáles son las prácticas cotidianas que guían las interacciones institucionales en el sistema de protección de la niñez y adolescencia en El Salvador? Este estudio forma parte del proyecto internacional Rights for Children and Youth Partnership.
Método
Se empleó la teoría del interaccionismo simbólico propuesta por Blumer (1986) y la Escuela de Chicago, la cual se entiende como el estudio a nivel micro de cómo nuestras sociedades son creadas y mantenidas a través de las interacciones sociales y la reproducción de estas interacciones (Blumer, 1969; Carter & Fuller, 2016; Salvini, 2019). Blumer (1986) explica que estas provienen de la relación que se tiene con los símbolos, y el significado de los símbolos emerge de la manera como los seres humanos interactúan con ellos. Según este autor (1986), nosotros vivimos dentro de un mundo de símbolos. Estos son objetos, eventos o acciones que representan algo abstracto y expresan una idea o un valor (St-Amant et al., 2021). El significado de los símbolos permite que un individuo predique el accionar de otros individuos con relación al símbolo en común (Hewitt & Shulman, 2011). Blumer (1986) propone tres aspectos fundamentales en su teoría: primero, las personas actúan hacia las cosas y otras personas, basándose en los significados que tienen para ellos; segundo, estos significados provienen de las interacciones sociales con otros individuos; y, tercero, estos significados son manejados y transformados a través de un proceso interpretativo que la gente usa para dar sentido a los objetos y acciones que constituyen sus mundos sociales (Blumer, 1969; Salvini, 2019; St-Amant et al., 2021).
Sin embargo, esta investigación se enfoca en explorar el segundo principio: el significado de las cosas o símbolos proviene de las interacciones sociales que se tiene con otras personas. En El Salvador se puede considerar a la Lepina y a las instituciones formantes como símbolos, ya que las familias interactúan con estas en los esfuerzos de proteger los derechos de los NNA. Sin embargo, la desconexión en la aplicación de la ley en la práctica, o poco entendimiento del símbolo, limita la utilidad y adecuación de los servicios proveídos en función de la protección de los NNA (Rodríguez-Portillo et al., 2014).
Por otro lado, Blumer (1969) explica que las instituciones solo existen siempre y cuando haya interacción entre las personas, y los símbolos permiten condicionar las disposiciones de comportamiento de un individuo, las cuales, a su vez, pueden ser reproducidas por otra persona (Hewitt & Shulman, 2011). De esta manera, la Lepina como símbolo funciona como la base primaria de las instituciones que conforman el sistema de protección en El Salvador y condiciona la manera en cómo estas instituciones operan dentro del mismo sistema. Orellana-Villalobos (2014) indica que existe una falta de cooperación entre diferentes organismos del sistema de protección; es decir, que los diferentes símbolos son interpretados de manera disímil por distintos actores del sistema, entre los cuales se encuentran, por ejemplo, las juntas locales de protección y los comités locales (Rodríguez- Portillo et al., 2014).
Diseño
El presente estudio utiliza la etnografía institucional como método de indagación; esta fue postulada por la sociología canadiense Dorothy Smith (1987, 1990a, 1990b, 1999, 2005, 2006). Dicho método busca visibilizar cómo la vida cotidiana de cada persona está organizada, tanto dentro como fuera de las instituciones por una serie de relaciones de regulación social más allá de la cotidianidad (Parada, 2011; Smith, 1987, 1990a, 2006). Pero la indagación comienza y se mantiene con actores reales tales como abogados, trabajadores sociales, psicólogos, entre otros, quienes interactúan a través de prácticas cotidianas concretas en su quehacer institucional, más allá de las interpretaciones de los discursos institucionales. En este sentido, los actores no son el foco de atención, sino las prácticas institucionales que se llevan a cabo diariamente (Smith, 1987, 1990a, 1990b). Estas prácticas pueden no representar lo consignado en marcos legislativos; es decir, los trabajadores dentro del sistema pueden reinterpretar su rol institucional de manera alternativa a lo establecido en el marco legal, actuando conforme a su propia interpretación de los protocolos (Parada, 2011).
El interés particular del estudio fue entender cuáles son las prácticas cotidianas dentro de los diferentes organismos que regulan tanto a los profesionales del sistema como a las familias que lo utilizan. Poniendo esto en perspectiva, es importante aclarar que el marco legal que orienta las relaciones y procedimientos que se llevan a cabo a través de la Lepina es organizado extralocalmente. Sin embargo, en algunas ocasiones las prácticas que se manejan no son el reflejo de lo que está consignado en la legislación (Parada, 2011; Suazo et al., 2020). Con esto en mente, y teniendo en cuenta la falta de información acerca de manuales que explícitamente expliquen los procedimientos para otorgar medidas de protección a los NNA, es necesario trazar una ruta de acceso que permita entender tanto las operaciones que se realizan cotidianamente en el sistema como las posibles prácticas que se desvían de lo contenido en la ley, afectando de esta manera la protección integral de derechos de NNA.
Participantes
Siguiendo la base metodológica de la etnografía institucional, el punto de partida para acceder a las prácticas institucionales fueron los trabajadores pertenecientes al sistema de protección infantil, tanto de instituciones privadas como públicas. Es necesario reiterar que son las prácticas, y no los trabajadores, el objeto de estudio mismo. Se entrevistó aquellos participantes cuyo rol: 1) estuviese directamente vinculado al sistema de protección; y, 2) tuviese algún tipo de contacto cotidiano con el sistema de protección desde la institucionalidad. Bajo este criterio, se obtuvieron entrevistas con abogados/as (12), docentes (9), psicólogos/as (7), técnicos en niñez (5), promotores sociales (3), jueces (3), trabajadores sociales (4), funcionarios del sistema de salud (3), Policía Nacional del Estado Civil (3), capacitadores en derechos (3) y demás funcionarios del sistema de protección, incluyendo organizaciones no gubernamentales (9). Es importante resaltar que la mayoría de las entrevistas provienen de trabajadores residentes en zonas urbanas. Como resultado, durante el periodo de agosto 2020 a agosto 2021, se entrevistó a 61 participantes.
Técnicas de recolección de datos
Debido a la continua emergencia sanitaria causada por el covid-19, la mayoría de las entrevistas se llevaron a cabo a través de la plataforma Zoom, siguiendo los lineamientos estipulados por el Comité Ético de la Universidad Metropolitana de Toronto. En los casos donde no fue posible acordar una reunión a través de dicha plataforma, se dispuso enviar el formato con las preguntas vía WhatsApp. Adicionalmente, se dispuso solicitar un consentimiento informado por cada entrevista y se utilizó un sistema de codificación para mantener la confidencialidad de los participantes.
Proceso de análisis de datos
En un primer momento, se procedió a realizar un mapeo acerca de los procesos, interacciones y rutas de acceso descritas en las entrevistas recolectadas. Esto con el objetivo de visualizar las conexiones entre las instituciones pertenecientes al sistema, así como para entender los posibles puntos de partida a los cuales los usuarios tienen acceso. A través de este mecanismo, fue posible establecer diferentes flujos e interacciones entre las instituciones mencionadas y la forma en que estas están coordinadas. La elaboración del mapa fue posible gracias al empleo de un software especializado para la creación de diagramas (Lucidchart). Adicionalmente, siguiendo los principios de la etnografía institucional, simultáneamente se llevó a cabo un proceso de codificación usando el software NVivo (v. 12) para identificar temas pertinentes al proceso de mapeo.
Resultados
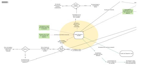
El proceso de mapeo permitió identificar los diferentes puntos de acceso al sistema de protección. También se pudo observar la manera en que se desarrolla el sistema descentralizado según los lineamientos descritos por distintos funcionarios dentro del sistema. Por ejemplo, la figura 1 representa cómo se manejan los casos dentro de los centros educativos.

En estos espacios la admisión de casos puede llegar de distintas fuentes, pero la remisión a otras instituciones dentro del sistema queda a discrecionalidad del centro educativo, siguiendo sus normativas internas. Como describen algunos de los participantes, los centros educativos se disponen a resolver de manera independiente los casos de vulneración entrantes, tratando de abarcar lo constituido en la Lepina, pero sin contar con un protocolo estandarizado.
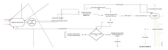
Por otro lado, la figura 2 muestra cómo la Junta de Protección solo tiene dos puntos de entrada: primero, las denuncias directas por parte de usuarios y, segundo, las remisiones por parte de otras instituciones. En contraste con los centros educativos, las juntas de protección tienen protocolos internos ya establecidos y estandarizados para dar manejo a los casos recibidos. En ellos se observan los pasos a seguir dependiendo del caso y se establecen los tiempos en los que se debe completar cada uno. Sin embargo, algunos de los participantes reflexionan sobre cómo el alto volumen de casos entrantes limita el cumplimiento de los tiempos establecidos por su protocolo.

De forma simultánea, se procedió a hacer la codificación de las entrevistas en donde a cada participante se le asignó un código según el orden en que se transcribió la entrevista.
La siguiente sección describe los temas identificados, entre los cuales se incluyen: la ausencia de protocolos estructurados, el desarrollo de protocolos independientes, los diferentes niveles de profesionalización y un llamado de apoyo para la solidificación del sistema.
Ausencia de protocolos estructurados
A partir de las entrevistas se encontró que la mayoría de las instituciones reportan no contar con protocolos o manuales que ilustren la manera de actuar diariamente de acuerdo con los casos que ingresen a su facilidad: «No tendríamos; no podría decirle que seguimos un protocolo en sí, un protocolo marcado. Estamos en eso de fortalecer» (Participante 25, comité local de derechos, promotor social, zona urbana). Esto presenta una barrera al momento de atender los casos ya que, como varios participantes expresaron, la falta de especificidad frente a cómo responder genera inseguridad para remitir los casos a la instancia correspondiente; en algunos casos particulares incluso se omite la realización del reporte. Por ejemplo, un técnico de niñez perteneciente al sistema recalca la importancia de especificar rutas de acción eficientes siguiendo lo que ya está consignado en la ley:
Se necesita que el mandato de la ley sea más explícito y sea más amplio y sea más abarcativo, incluso en la intervención de otras entidades. Por ejemplo, este tema, en los temas de las denuncias, la rigurosidad en el hecho que se da admite el nombre del niño. La rigurosidad legal, so pena de no intervenir de que se identifica el denunciante y esa preocupación que muchas veces tenemos más por querer llenar hasta la última casilla de los datos cuando es importante hacer acciones de intervención muy rápidas porque las vulneraciones son graves. (Participante 8, analista de sistema de protección, técnico de niñez, zona urbana)
A su vez, la falta de un protocolo o manual de atención rápida genera que los funcionarios asuman tareas adyacentes a su labor, lo que genera ineficacia al momento de responder ante posibles casos de vulneración, como lo explica una docente de la zona rural:
No tenemos ningún instrumento. Eso cuando uno va a la departamental ellos asumen que uno como docente tome ese cargo y uno va de casa en casa a preguntar el porqué de la inasistencia. Entonces ellos lo ven como parte que uno tiene que hacer su protocolo para poder ir a buscar a ese estudiante que está ausente. Uno elabora el instrumento. Todo ocupa las herramientas que uno tiene para poder hacer de ese niño el regreso a la educación. (Participante 3, docente, zona rural)
Adicionalmente, varios participantes indicaron su descontento frente al modelo actual que se emplea para dar respuesta a los casos de protección, debido a un desinterés colectivo frente a la aplicación de la ley a la práctica cotidiana. Como relata un funcionario de una alcaldía, la falta de interés frente a la adaptación de la ley se presentó como una limitante significativa:
De por sí nunca se aplicó correctamente la ley como tal (…); los protocolos siempre estuvieron bastante desfasados por la falta. Quizás después del interés como el poco, no sé ni cómo decirlo, poco interés quizá que se le ha dado al tema. (Participante 5, Alcaldía, promotor social, zona urbana)
Durante este proceso, el intento de adaptación de la ley a la práctica no ha estado en sintonía con las actualizaciones propuestas por la misma ley. Como comenta un técnico de niñez, la falta de análisis del contexto actual salvadoreño limita las prácticas de su accionar diario; particularmente, en aquellas instituciones que intentaron implementar lo estipulado en la ley a través de protocolos: «Es decir, la revisión en la actualización debe de suponer un ejercicio bastante constante y en ocasiones se utilizan algunos protocolos, ya hace muchos años, ante fenómenos que son bien cambiantes» (Participante 8, analista de sistema de protección, técnico de niñez, zona urbana).
Varios de los funcionarios formadores de las instituciones tienen claro que es necesario revisar lo que está consignado como protocolo para poder facilitar una mejor atención a los usuarios: «Y hacer el protocolo que se debe hacer para dar la mejor atención. En eso quizás estamos fallando como instituciones: cómo podemos coordinar» (Participante 23, Alcaldía, psicólogo, zona rural). Este sentir es colectivo, ya que los participantes manifestaron que, si se trabajara en la comunicación entre instituciones, la navegación en el sistema no sufriría mayor retraso ni colapsaría.
Desarrollo de protocolos independientes
En respuesta al ingreso constante de casos siguiendo el modelo descentralizado, se encontraron instituciones que optan por crear sus propios protocolos para dar una respuesta eficiente, tal como lo resalta un funcionario perteneciente al sistema de salud: «Como Ministerio de Salud, sí tenemos protocolos. Están la atención a víctimas de violencia de todas las edades. Allí están los programas también; y también damos el programa de atenciones según el caso que se amerite» (Participante 18, comité local de derechos, médico, zona urbana).
Cabe resaltar que estos protocolos individuales se inspiran en lo constituido en la Lepina y se busca que se alineen con cada uno de los artículos propuestos. Sin embargo, las interpretaciones no parecen basarse en estándares de prácticas. Un funcionario de una organización no gubernamental ilustra cómo dan respuesta a una llamada cotidiana de emergencia sin dirigirse a un protocolo estandarizado:
En sí no hay un formato, un papel, un informe que le puedo decir existen y bajo esto a esto nos las hacen llegar. No, usualmente los promotores son quienes se tratan de contactar con la secretaría. Una llamadita, un comentario en territorio, porque nos mantenemos en constante coordinación con ellos en el territorio y es así por ese medio que nos lo hacen saber. (Participante 13, ONG, trabajador social, zona urbana)
Los participantes explicaron que esto promueve el uso de la improvisación como mecanismo base para dar respuesta inmediata a los casos. Como lo expresa este técnico de niñez, se procede de acuerdo con lo que personalmente se considera pertinente, sin seguir alguna fundamentación comprobada: «Creo que la improvisación sigue siendo todavía muy alta, o la idea de que a mí me parece buena una idea sin que haya una base en alguna medida científica para poder hacer propuestas» (Participante 8, analista de sistema de protección, técnico de niñez, zona urbana).
Este proceso incrementa la posibilidad de que cada institución empiece a adoptar sus propios mecanismos, aislados de las estrategias que otras instituciones u organizaciones pongan en práctica. Por ejemplo, un participante perteneciente al sistema educativo en la zona rural describe cómo desarrolla su proceso de reporte y recolección de datos para posibles casos de manera independiente, al tiempo que trata de acatar las instrucciones por parte de superiores:
En todas las capacitaciones a uno le sugieren eso, pero uno lleva su expediente. Pero eso está sugerido. Tenemos un instrumento que lo proporciona la dirección cuando hay un caso de esos, de inasistencia. Luego se va anexando al expediente del niño. (…) Cuando hay una deserción del estudiante, la carga es para el docente porque a uno le cuestionan qué fue lo que usted hizo o cuáles herramientas usted utilizó para poder lograr que el niño volviera a su proceso educativo. (Participante 3, docente, zona rural)
Diferentes niveles de profesionalización
En las entrevistas se menciona que no siempre se cuenta con el personal capacitado para dar respuesta a los casos entrantes. Esto parte del nombramiento del personal a cargo de cada uno de los sectores públicos e institucionales que acompañan cada gabinete presidencial.
Estructuras jerárquicas de mando en institucionalidad del Estado que no están precisamente en una línea de formación con el enfoque de derechos humanos y ahí una tremenda debilidad, desde el nombramiento de un funcionario que no tiene la base, una experiencia y un conocimiento del sistema, se corre un gran riesgo que se siga viendo la dinámica de los niños y las niñas por lástima. (Participante 8, analista de sistema de protección, técnico de niñez, zona urbana)
Esto se presenta como una situación que delimita el objetivo de protección integral de los derechos. Si no se mantiene un personal que se alinea con las ideas de protección de la niñez, en la práctica se ve reflejada la inexperiencia para interpretar la ley y, por ende, se dificulta el proceso de construcción de manuales colectivos. Por ejemplo, un trabajador en el área de protección describe de qué manera se ven afectados los procesos de protección, esto siguiendo la intervención de personal proveniente de distintas áreas dentro del sistema:
Pero cuando vamos a la realidad tenemos un grupo bastante heterogéneo, donde podemos tener líderes comunitarios que tienen un nivel básico de estudio, tenemos los licenciados o las licenciadas que están en la unidad de salud, los maestros; entonces, tenemos características diferentes, y cómo poder tener la metodología de abordaje técnico que sea funcional para ambas, o sea, que sea comprensible y que, al mismo tiempo, ir fortaleciéndonos al mismo nivel. (Participante 30, Fundación Educo, área de protección zona rural)
Como se manifiesta, al contar con un personal que provee distintas perspectivas acerca del sistema, se hace necesario que haya supervisión constante sobre la manera en que se procede en la práctica. Esto se torna en un punto conflictivo, debido a la magnitud de responsabilidades que conlleva cada decisión: «Entonces, ahora pues han habido cambios y, como yo siempre le dicho al licenciado, estén cerca con su personal. Si ustedes no supervisan a la gente, van a hacer cualquier cosa menos lo que tienen que hacer» (Participante 9, técnico de niñez de ONG, zona urbana).
Por otro lado, esta inexperiencia provoca desconexión frente al análisis de cada uno de los casos entrantes. Como lo manifiesta un técnico de niñez, la parte operativa del trabajo se desconecta de la respuesta práctica que el caso conlleva:
Siguen trabajando en gran medida como islas, en el sentido de que hay un personal que está muy dedicado a sistematizar esta información y las produce, hace el esfuerzo de sistematización, se presentan muy sustantivos informes con las normas digamos de alta exigibilidad de todo el aparato crítico en los informes y en los estudios o en algunos prontuarios que se están produciendo; pero se sigue viendo una especie de tope y de divorcio desde las instancias de toma de decisión. (Participante 8, analista de sistema de protección, técnico de niñez, zona urbana)
Esta limitación en la interacción entre instituciones promueve retrasos al momento de resolver los casos de protección debido al poco personal que se encuentra en cada una de ellas. Como lo explica un abogado especialista en NNA, esto se ve reflejado en la constante demora para atender los casos entrantes y existentes: «Si vos dividís eso, digamos, implica dividir esos 44 entre las 16 juntas te da que cada junta tendría que resolver como 2 casos diarios, de 2 a 3; es imposible» (Participante 50, especialista en NNA, abogado, zona urbana). Los funcionarios que entienden el funcionamiento del sistema insisten en la importancia de tener un procedimiento claro para mejorar en la práctica. Por ejemplo, un trabajador social de una organización no gubernamental describe la posible base de un modelo eficaz basado en su experiencia en la práctica con el sistema: «Los pasos podrían mencionarse, primero es conocer el caso, que llegue a la instancia pertinente; luego investigar; posteriormente, intervenir, darle un seguimiento al caso hasta donde sea pertinente según la institución» (Participante 13, trabajador social de ONG, zona urbana).
Llamado de apoyo para solidificación del sistema
A su vez, con o sin manuales o procedimientos internos, la interpretación independiente de la ley se torna en un ejercicio ambiguo que no aporta a la solidificación de un mecanismo de acción concreto colectivo, dejando que cada institución responda como considere que sea la manera más acertada de manejar un caso. Un psicólogo perteneciente a una organización no gubernamental describe cómo su labor se basa en lo que personalmente considera es la manera más acertada de proceder:
Como le comento, cada proyecto es diferente y responde más que a todo a los requerimientos propios del tipo de atención que se va a dar y también a lo solicitado por el cooperante. Entonces, los lineamientos son más creados siempre realizando las posibles vulneraciones de derecho que pudiese haber, pero no establece. (Participante 4, psicólogo ONG, zona urbana)
Lo que sucesivamente lleva a que se presencie un sentimiento de confusión general, ya que no se tiene claro cuál es la mejor manera de acercarse al sistema y cómo hacer uso efectivo de este. Este sentimiento de confusión es expresado por un docente del área urbana:
Fíjese que como que a veces incluso yo me quedo algo confundido cuando vamos a unas capacitaciones y después viene otra persona y le han dicho cosas, o traemos información diferente (…), y son situaciones que nos encontramos en nuestro día a día. Tuvimos, ahorita no sé cómo estamos, pero cuando reportábamos, cuando dábamos aviso a la junta de protección, pasábamos la lista, el reporte de las embarazadas, de adolescentes embarazadas; ahí todavía el año pasado, le puedo decir, que había persona que si no llevaba el sello del médico no lo querían recibir. (Participante 18, docente, zona urbana)
Este último aspecto también deja como sugerencia que lo consignado en los protocolos debe ser explícito y preciso para poder evitar posibles malentendidos al momento de proceder: «Creo que teniendo los protocolos vamos a ir a lo que los protocolos plantean, vamos a ir viendo cuales son las prácticas que no son tan necesarias o convenientes» (Participante 50, especialista en NNA, abogado, zona urbana).
A pesar de la falta de «compromisos que [las instituciones] quieren asumir» (participante 22, miembro del sistema de protección, abogado, zona urbana), algunos participantes vislumbran la importancia de tener recursos que orienten su labor en la práctica. Como punto de partida, es necesario trabajar en una estrategia conjunta basada en los diagnósticos ya existentes acerca del sistema. Un técnico de niñez enfatiza que ya se tienen distintos reportes frente al funcionamiento del sistema en la práctica y es necesario actuar bajo estos análisis:
[El] nivel de incidencia que se ha tenido a la municipalidad en los gobiernos locales sigue siendo muy débil. Parece ser que aquí, insisto, esos temas de falta de recurso, pero también es un tema de falta de estrategia. Quizás que ni sería tan necesario hacer una acción de diagnóstico porque hay 20 000 diagnósticos sobre la situación municipal, como bien lo decía. (Participante 8, analista de sistema de protección, técnico de niñez, zona urbana)
Varios participantes recalcaron la importancia de tener una estrategia conjunta que guíe los procedimientos que se aplican a diario. Esto debido a la falta de seguridad acerca de cómo navegar el sistema y proceder con la remisión y análisis de los casos entrantes. Por ejemplo, un promotor social recalca la importancia de explicar el engranaje que tienen las instituciones y cuál es su función en la práctica:
Entonces, yo creo que deberían de hablar un poquito más de la integración de las instituciones en cada municipio para que se llevara un verdadero trabajo, porque en la ley está bien bonito, está bien claro, pero a la hora de aplicar, no sé, quedan demasiado vacíos. (Participante 5, Alcaldía, promotor social, zona urbana)
Por otro lado, varios participantes refuerzan el sentir acerca de la necesidad de mejorar la comunicación entre las instituciones. Las distintas tensiones entre aquellas formadas con el paso del tiempo no han fortalecido los esfuerzos para mejorar el sistema de protección y han causado fragmentaciones que afectan las prácticas diarias.
Esto solo tiene que ver con falta de voluntad política por parte de quienes tienen la competencia. Muchas veces, pues sí, puede tener que ver con una falta de comprensión o un desconocimiento, incluso del alcance de esa competencia. O podía haber barreras actitudinales, barreras en el procedimiento como van las técnicas. Es decir, es un conjunto de situaciones que pueden limitar el que se activen esos mecanismos que están regulados en la legislación. (Participante 24, psicólogo de ONG, zona urbana)
Como lo manifiesta un técnico de niñez, es importante trabajar en conjunto e informar acerca de un caso cada vez que es necesario:
Creo que es un trabajo de todos, de estar pendientes los gestores, de comunicar, de nosotros de hacer la diligencia correspondiente, de informar, porque estamos obligados a informar; y también de las instituciones que cumpla un caso en el que se tenga que retirar el menor; que un trabajo coordinado e importante que cada agente ponga de su parte para que el menor pues funcione. (Participante 7, Alcaldía, técnico de niñez, zona urbana)
Este último fragmento encapsula el sentir colectivo de los participantes salvadoreños acerca del sistema de protección, los cuales quieren seguir en la búsqueda de estrategias que se puedan aplicar en la práctica para realizar de manera más efectiva y eficiente sus labores diarias. Lo más importante, los participantes enfatizan que su labor busca garantizar la protección de los NNA en sus respectivas regiones; por ende, la creación de herramientas que optimicen sus tareas ayudaría al estancamiento que hoy por hoy vive el sistema de protección.
Hay instituciones que, aunque el objetivo sea velar por los derechos de la niñez y la adolescencia, no lo hacen como debe de ser. Y es un problema que se está dando en el país. Porque, lamentablemente, aunque no sea quizás lo correcto, estamos politizando esto. (Participante 23, Alcaldía, psicólogo, zona urbana)
Discusión
Los resultados presentados en este artículo reflejan cómo la ausencia de protocolos estructurados limitan en la práctica el funcionamiento eficaz del sistema de protección en El Salvador. Se reconoce que a través de la Lepina el país ha progresado en cuanto a la consolidación de un marco legal que busca garantizar la protección integral de derechos de los NNA. Sin embargo, como reflexiona Parada (2011), lo estipulado en las leyes se desvincula en ocasiones de lo que se necesita en la práctica; en consecuencia, se identifica el malestar general expresado por distintos funcionarios pertenecientes al sistema. Esta desconexión entre lo escrito en papel y lo que se aplica en la práctica cotidiana ha incentivado interpretaciones aisladas acerca de cómo funciona el sistema, promoviendo de manera involuntaria una obstaculización en los canales de comunicación entre las instituciones.
Principalmente, se encuentra que la ausencia de protocolos emerge como resultado del modelo descentralizado que actualmente emplea el sistema de protección de la niñez de El Salvador. Como lo mencionan los participantes, cada institución es responsable de manejar de manera independiente el caso que llegue a sus instalaciones. Se manifestó que las alarmas o avisos acerca de posibles casos graves de vulneración se producen a discreción de cada funcionario que los atiende, condicionado a su interpretación acerca de la ley en la práctica. Los funcionarios que expresan no tener protocolos enfatizan que se buscan recursos o mecanismos de manera aleatoria para dar respuesta al caso; es decir, se procede a buscar distintas formas para incentivar los puentes de comunicación entre las instituciones desde lo que personalmente se considera eficiente. Adicionalmente, los participantes resaltan cómo la falta de interés por parte de las mismas instituciones genera limitaciones que impactan la manera en que se procesan los casos. Esto, en consecuencia, aumenta la frustración al momento de procesarlos y limita la eficacia en su resolución.
Por otro lado, se encuentra que la descentralización del sistema promueve que las instituciones desarrollen e implementen protocolos de manera independiente. Esto como respuesta al ingreso constante de nuevos casos y la necesidad de dar respuesta a ellos de manera inmediata. Los participantes reportan que los protocolos creados en distintas ocasiones surgen de la improvisación y no están del todo estructurados. Estas herramientas están sujetas a constantes cambios dependiendo de la necesidad del caso y de la manera en que individualmente el funcionario interpreta la ley y su posible ejecución en la práctica. Como ejemplo, se encuentra que los participantes no se sienten totalmente seguros al momento de clasificar los distintos tipos de faltas que atentan en contra los derechos de los NNA, generando que el reporte del caso queda nuevamente a discreción del funcionario (Ravetllat, 2020).
La discrecionalidad es esencial en el sistema de protección infantil (Segatto et al., 2020) pero puede ser limitante si se considera la falta de profesionalización de los trabajadores en primera línea. Es importante resaltar que, para los participantes, uno de los principales desafíos en algunas instancias es contar con un personal con limitada experiencia en temas de protección para niñez y adolescencia. Esto se suma a otros factores que limitan el desarrollo de un mecanismo que garantice la solución rápida de los casos, como la improvisación en la respuesta de los entrantes. No contar con un personal capacitado y orientado en temas de protección es un factor que pone en riesgo la garantía de los derechos de los NNA y compromete su bienestar (Gülgönen, 2016).
Por otro lado, no entender el funcionamiento del sistema aumenta la desconexión y los problemas de comunicación entre instituciones, lo cual genera retrasos en el análisis de los casos y aumenta el tiempo que se necesita para darles un cierre. Al no dar solución expedita al caso recibido, los NNA siguen expuestos a factores que atentan contra su bienestar y salud mental, física y emocional. Los NNA expuestos a distintas series de maltrato, por ejemplo, son más vulnerables a desarrollar trastornos relacionados con estrés postraumático, traumas emocionales, dificultades con el apego, entre otros desafíos (Zuluaga- Gómez, 2018). En consecuencia, retrasar la solución de un caso influye directamente en el bienestar del menor y puede llegar a generar dificultades mayores en su desarrollo.
Los participantes de esta investigación hacen un llamado colectivo para buscar una forma de solidificar el funcionamiento del sistema de protección en la práctica. Se tiene claro que el marco legal está presente y hace alusión a distintos puntos que se deben tener en cuenta para evaluar la posible vulneración de derechos de los NNA. Sin embargo, es necesario establecer herramientas que proporcionen explicaciones concisas acerca de la aplicación de la ley en la práctica y cómo las instituciones partícipes del sistema operan en conjunto. Por ende, se considera que la creación de un protocolo estructurado puede promover un mejor entendimiento de la ley fuera del modelo descentralizado que actualmente se emplea. De hecho, Steen y Durán (2014) reportan que aquellas locaciones que manejan un sistema centralizado pueden llegar a procesar un 10 % más de casos en comparación a sistemas descentralizados o híbridos. Esto impactaría de manera significativa en el bienestar y desarrollo de los NNA al aumentar la agilidad de la respuesta a la vulneración de derechos.
En casos particulares, como las unidades de salud, se encuentra que la estructuración de protocolos de acción basados en labores cotidianas fomenta la resolución de casos de manera más eficiente y permite al funcionario tener un mejor entendimiento sobre cómo proceder en la práctica. Este último punto se alinea con los hallazgos presentados por Wirtz et al. (2016), donde se comenta que los trabajadores de la salud en El Salvador cuentan con definiciones y procesos concisos que orientan su labor, y los cuales están enfocados en priorizar el bienestar de los NNA en situaciones de violencia.
Finalmente, esta investigación aporta conocimiento al escaso cuerpo de literatura relacionada al sistema de protección de la niñez y adolescencia en El Salvador. Como recomendación para investigaciones futuras, se considera de vital importancia escuchar y entender las perspectivas que tienen los usuarios que no están involucrados directamente con las instituciones u organizaciones pertenecientes al sistema. Esto con el fin de obtener una perspectiva fuera de las prácticas institucionales internas para entender cómo estas tienen un efecto en los procesos de protección de los NNA. La etnografía institucional es un método de indagación para explorar lo cotidianidad en el trabajo, el hogar y la comunidad, lo cual es particular a cada país, contexto e institución (Parada, 2022). Es necesario que estudios utilizando la etnografía institucional se continúen para evaluar los diversos contextos de cada país e institución. De esa forma, se pueden desarrollar políticas y prácticas relacionadas con las prácticas cotidianas.
Agradecimientos
Los autores desean reconocer las contribuciones de Kevin Cruz y el equipo del proyecto Rights for Children and Youth Partnership
. Los autores reconocen el apoyo financiero de parte del Social Sciences and Humanities Research Council de Canadá, Partnership Grant (895-2015-1014).
Referencias
Blumer, H. (1969). Symbolic interactionism: Perspective and method. Prentice-Hall.
Blumer, H. (1986). Symbolic interactionism: Perspective and method. University of California Press.
Carter, M., & Fuller, C. (2016). Symbols, meaning, and action: The past, present, and future of symbolic interactionism. Current Sociology, 64(6), 931-961.https://doi.org/10.1177/0011392116638396
Fondo de las Naciones Unidas para la Infancia. (2014). Informe de la niñez y adolescencia en El Salvador: transformar inequidades en oportunidades para todas las niñas, niños y adolescentes.https://bit.ly/3FR3WhF
Gülgönen, T. (2016). Participación infantil a nivel legal e institucional en México: ¿Ciudadanos y ciudadanas? Revista Latinoamericana de Ciencias Sociales, Niñez y Juventud, 14(1), 81-93.https://doi.org/10.11600/1692715x.1414081014
Hewitt, J. O., & Shulman, D. (2011). Self and society: A symbolic interaction social psychology. Allyn & Bacon; Pearson.
Instituto Salvadoreño para el Desarrollo Integral de la Niñez y la Adolescencia. (2019). Avances y desafíos del sistema nacional de protección integral de la niñez y la adolescencia.
Martínez-Franzoni, J. (2014). Protección social para la infancia en El Salvador, Guatemala y Honduras: avances y desafíos. Cepal; Unicef; Universidad Católica de El Salvador.
Martínez-Ramos, J. E., Riviera de Peralta, L., & Martínez, V. (2011). Glosario de términos jurídicos de la Lepina. Comisión Coordinadora del Sector de la Justicia.
Mejía-Dietrich, R., & Mendoza, A. (2018). Derechos de la niñez y la adolescencia en el contexto de la violencia intrafamiliar en El Salvador. Revista sobre la Infancia y la Adolescencia, (15), 29-57.https://doi.org/10.4995/reinad.2018.7984
Monterrosa, L., Orellana, Y., & Rivera, I. (2012). Como la construcción del sistema de protección integral de derechos de la niñez y adolescencia efectiviza los derechos de los niños(as) y adolescentes a partir de la ley de protección integral de la niñez y adolescencia en el municipio de San Salvador [Tesis de grado]. Universidad de El Salvador.
Morlachetti, A. (2013). Sistemas nacionales de protección integral de la infancia: fundamentos jurídicos y de estado de aplicación en América Latina y el Caribe. Cepal, Unicef.https://repositorio.cepal.org/bitstream/handle/11362/4040/1/S2012958_es.pdf
Olivares, B., & Reyes-Espejo, M. I. (2016). Evaluación de un programa social en infancia desde los principios de la Psicología Comunitaria. Revista Latinoamericana de Ciencias Sociales, Niñez y Juventud, 14(1), 431-444.https://doi.org/10.11600/1692715x.14129090215
Orellana-Villalobos, J. (2014). Efectividad en la ejecución de las medidas judiciales garantes del principio de protección integral de la niñez y adolescencia, en el departamento de Santa Ana durante el año 2013. Universidad Católica de El Salvador.
Orellana-Villalobos, J. (2015). La política implementada por el Sistema Nacional de Protección Integral de la Niñez y de la Adolescencia para la Protección integral de los derechos de los menores bajo acogimiento institucional, en el departamento de Santa Ana, año 2014. Universidad Católica de El Salvador.
Padilla, L. (2019). Los derechos humanos en El Salvador desde los acuerdos de paz de Chapultepec. Revista de Estudios, (38), 509-537.
Parada, H. (2011). Prácticas institucionales en el sistema de protección de niños, niñas y adolescentes: etnografía institucional. Unicef Press.
Parada, H. (2022). La organización social de prácticas cotidianas: etnografía institucional. En H. Parada, B. Villeda, & K. Cruz (Eds.) Derechos de la niñez en Centroamérica y República Dominicana: un acercamiento a los sistemas de protección y sus prácticas institucionales. Instituto de Análisis e Investigación de los Problemas Nacionales.
Parada, H., Silver, S., Burke, M., & Ibarra, A. (2016). Evaluación de los Centros Infantiles de Atención Integral (Ciani) y las Juntas Locales de Protección y Restitución de Derechos (JLPRD) en la República Dominicana. Búho Editorial.
Ravetllat, I. (2020). Ley de garantías y protección integral de los derechos de la niñez y la adolescencia el niño, niña y adolescente como epicentro del sistema. Revista de Derecho Universidad De Concepción, 88(248), 293-324.https://doi.org/jqkr
Robinson, M., Payes, S., & Gutiérrez, M. (2022). Child protection and the COVID-19: El Salvador case study. World Vision El Salvador.https://bit.ly/3W10U0a
Rodríguez-Portillo, C., Hernández-Hernández, S., & Rodríguez-Portillo, J. (2014). El proceso de protección integral de la niñez y adolescencia, en el caso específico de acogimiento familiar en sede judicial y la eficacia de las instituciones [Tesis de grado]. Universidad de El Salvador.
Salvini, A. (2019). The methodological convergences between symbolic interactionism and constructivist grounded theory. Przegląd Socjologii Jakościowej, 15(3), 10-29.https://doi.org/10.18778/1733-8069.15.3.02
Segatto, B., Ben, A. D., & Giacomin, S. (2020). The use of discretion in decision-making by social workers at child protection services in Italy. European Journal of Social Work, 23(5), 779-789.https://doi.org/10.1080/13691457.2020.1751588
Smith, D. E. (1987). The everyday world as problematic: A feminist sociology. University of Toronto Press.
Smith, D. E. (1990a). Texts, facts, and femininity: Exploring the relations of ruling. Routledge.https://doi.org/10.4324/9780203425022
Smith, D. E. (1990b). The conceptual practices of power: A feminist sociology of knowledge. University of Toronto Press.
Smith, D. E. (1999). Writing the social: Critique, theory and investigations. University of Toronto Press.https://doi.org/10.3138/9781442683747
Smith, D. E. (2005). Institutional ethnography: A sociology for people (Gender Lens) (ed. digital). Alta Mira Press.
Smith, D. E. (2006). Institutional ethnography as practice (ed. digital). Rowman & Littlefield.
St-Amant, O., Rummens, J. A., Parada, H., & Wilson-Mitchell, K. (2021). The COVID-19 Mask: Toward an understanding of social meanings and responses. Advances in Nursing Science, 45(2), 100-1143.https://doi.org/10.1097/ANS.0000000000000393
Steen, J. A., & Durán, L. (2014). Entryway into the child protection system: The impacts of child maltreatment reporting policies and reporting system structures. Child Abuse & Neglect, 38(5), 868-874.https://doi.org/10.1016/j.chiabu.2013.11.009
Suazo, M. L., Cruz, K. A., & Parada, H. (2020). Explorando el sistema de protección de la niñez en Honduras. Revista Latinoamericana de Ciencias Sociales, Niñez y Juventud, 18(2), 33-57.https://doi.org/10.11600/1692715x.18207
Valencia, N. O., López, M., Frías, M., & Grietens, H. (2020). Child protection in Mexico: A review of policy, system structure and current challenges. Children and Youth Services Review, 112.https://doi.org/10.1016/j.childyouth.2020.104878
Wirtz, A., Álvarez, C., Guedes, A. C., Brumana, L., Modvar, C., & Glass, N. (2016). Violence against children in Latin America and Caribbean countries: A comprehensive review of national health sector efforts in prevention and response. BMC Public Health, 16(1), 1-16.https://doi.org/10.1186/s12889-016-3562-3
Zuluaga-Gómez, A. (2018). La recrianza humanizada: un giro a las relaciones de poder y al paradigma adultocéntrico en las instituciones de protección de niños, niñas y adolescentes en situación de vulneración de derechos. Revista Educare, 22(2). https://doi.org/10.15359/ree.22-2.20
Notas