Resumen: Se expone la importancia que tiene el relieve como variable de origen, desarrollo y gestión del riesgo. Asimismo, se presenta la síntesis de algunos desastres ocurridos en el mundo y en México y se señala la vinculación que poseen con el relieve. A su vez, se expone una matriz que involucra las relaciones teóricas entre la exposición física a un desastre y la vulnerabilidad. Al respecto, se discute acerca del sistema de correlación formado por la naturaleza y la sociedad en un vínculo de evolución y dinámica y la relación entre variables que se asocian con el desarrollo y cambio de los geosistemas perturbadores y los de enlace. Finalmente, se ofrece un esbozo idealizado referente a la gestión del riesgo y a sus componentes principales.
Palabras clave:relieverelieve,gestión del riesgogestión del riesgo,desastresdesastres,vulnerabilidadvulnerabilidad,geosistemas perturbadoresgeosistemas perturbadores.
Abstract: This paper explains the importance that the landforms have as one of the most important factors to be considered in the study of hazards. A summary of some disasters in Mexico and in the world is showed, as well as the connection these have with the landform. A matrix involving the theoretical relationships between physical exposure in a disaster and vulnerability is exposed. We discuss about the correlation system made by nature and society, the link of evolution and dynamics and the relationship between variables associated with the development and change of disturbing and linking geosystems. Finally, an idealized outline concerning risk management and main components are provided.
Keywords: landform, risk management, disasters, vulnerability, disturbing geosystems.
Ciencias de la Tierra y de la Atmósfera
El relieve, factor para la génesis, desarrollo y gestión del riesgo
Landforms, factor in the genesis, development and risk management

La complejidad de formas y figuras que se observan en un caleidoscopio representan una metáfora para comprender los riesgos y el conjunto de procesos que se amalgaman. El laberinto de los riesgos se yergue sobre perspectivas de análisis, discusiones y percepciones de índole académica, económica y política, entre las que destaca la descripción de los procesos que originan desastres, el número de víctimas y de afectaciones a la infraestructura, los costos que se deben sufragar, la responsabilidad de los actores, las instituciones, los gobiernos, así como la ética y las costumbres, entre otras.
Diversos puntos de vista y experiencias de catástrofes se ciñen a la comprensión y estudio de los riesgos. Abarcan tópicos que integran aspectos del origen de la conciencia humana, en donde el territorio y la cultura forjan concepciones e ideologías complementarias, radicales, yuxtapuestas y antípodas caracterizadas por el contexto geográfico, temporal y sociocultural del hombre. Aún y con las vivencias experimentadas y el bagaje científico, se observa continuamente la ocurrencia de eventos extraordinarios caracterizados por la liberación súbita de materia y energía, y las correspondientes consecuencias asociadas a pérdidas humanas, daños al patrimonio y obras de infraestructura creadas para la funcionalidad de los pueblos y las ciudades.
En este contexto, al analizar las decisiones que asumen los gobiernos en muchas partes del mundo y de forma particular en México, se observa que las acciones y propuestas relacionadas con los riesgos se centran en la atención de emergencias y en ocasiones en la construcción de obras placebo y paliativas de carácter estructural, que en el mayor número de los casos se encuentran condenadas al fracaso por no concentrar las visiones holística y temporal propias del espacio geográfico.
Ello en consecuencia representa un elevado costo social, así como inversiones económicas dirigidas a intentar resolver secuelas derivadas de la ocurrencia de un grupo de procesos y no al de prevención y acción sustentada en el conocimiento básico del territorio y de las propiedades que posee. Así, la observación sistémica, análisis territorial, la planeación y el ordenamiento, entre otras políticas y acciones pertinentes, se desvanecen en un tejido de confusión y apreciación subjetiva de la geografía local y regional que ha heredado al hombre una vasta experiencia de eventos catastróficos, los cuales, lejos de servir como listados, representan la oportunidad autopoiética de la sociedad y los gobiernos.
En este legado se reconoce que los eventos que encuentran un origen natural y que han cobrado el mayor número de víctimas humanas se relacionan con la actividad endógena del planeta, la cual se encuentra relacionada con el desplazamiento de continentes, la liberación de tensión entre placas tectónicas y las actividades propias emanadas por la dinámica volcánica que se caracteriza por la generación de tremores, enjambres sísmicos, flujos lávicos, nubes piroclásticas o con la gestación de tsunamis (cuadro 1).
En segundo término, los procesos hidrometeorológicos (relacionados con el binomio atmósfera y océano) provocan a través de depresiones tropicales, tormentas ciclónicas, tornados e inundaciones daños importantes e impactos a la vida en diferente magnitud.

La historia de los desastres en el mundo y en México es larga y compleja. Clasificados por el geosistema de origen, entre los principales eventos de carácter catastrófico se encuentran los siguientes:
Eventos generados por sismos (si tiene asterisco, el evento implica también la generación de tsunamis): Antioquia, Turquía (526 d. C.), Port Royal, Jamaica* (1692), Lisboa* (1775), Nuevo Madrid (1811), San Francisco (1906), Messina, Italia (1908), Kantō Yokohama, Japón (1923), Anchorage, Alaska (1932), Ancash, Perú (1970), China (1976), Ciudad de México y costas de Michoacán* (1986), Leninkan, Armenia (1988), Loma Prieta, San Francisco y Oakland California (1989), San Fernando y Santa Mónica, California (1994), Kobe, Japón (1995), Izmit, Turquía (1999), Bam, Irán (2003), Kashimira, India (2005), Haití (2010), Chile (2010), Fukushima, Japón (2010), Guatemala (2012), Amatrice, Italia (2016).
Eventos generados por tsunamis: Islas Aleutianas (1946), Océano Índico, Tailandia, Indonesia, Malasia, Myanmar, Bangladesh, Sri Lanka, India, Maldivas, Seycheles, Somalia y Kenia (2004).
Eventos generados por erupciones volcánicas: Thera, Santorini (1470 a. C.), Vesubio, Italia (79 d. C), Etna, Sicilia (1669), Laki, Islandia (1783), Tambora, Indonesia (1815), Krakatoa, Indonesia (1883), Pélee, Martinica (1902), Santa Elena, Estados Unidos (1980), Nevado del Ruiz, Colombia (1986), Erupción límnica, Lago Nyos Camerún (1988), Pinatubo Luzon, Filipinas (1991), Islas Monserrat, Mar Caribe (1997).
Eventos generados por inundaciones: Johnstown, Pennsylvania (1889), Saugurs, California (1928), inundación de Watersnood, Holanda, Bélgica y Gran Bretaña (1953), ciclón Bhola, Bangladesh (1970; más de 500 000 víctimas mortales), Mississippi, Estados Unidos (1993).
Eventos generados por ciclones, tornados y ventiscas: Gran huracán blanco de Nueva York en Estados Unidos (1888), gran ciclón tornado de San Luis Missouri (1896), Huracán Galveston, Texas (1900), el gran triple tornado de Missouri, Illinois e Indiana (1925), huracán Miami (1926), huracán San Felipe en Puerta de Tierra, Florida (1928), tormenta de polvo (The dust bowl), Estados Unidos (1932), huracán de Nueva Inglaterra (1938), huracán Audrey, Luisana y Texas (1957), tornado Palm Sunday, Estados Unidos (1965), The Jumbo Outbreak, Costa oriental de Estados Unidos y Canadá (1974), ENSO (1982), huracán Gilberto, México y Estados Unidos (1988), huracán Andrew (1992), tornado Jarrell, Estados Unidos (1997), huracán Paulina, México (1997), huracán Mitch, Centroamérica (1998), huracán Sandy (2012), tifón Haiyan, Filipinas (2013).
Eventos generados por deslizamientos: The Vaiont Dam, Estados Unidos, Gales, Reino Unido (1966), huracán Katrina, Estados Unidos (2005), Southern Leyte, Filipinas (2006).
Para el caso de México, los desastres se han presentado continuamente. Según el tipo de geosistema, entre los más connotados se encuentran:
Tsunamis: Oaxaca (1787), Lázaro Cárdenas (1985), Costa de Jalisco (varios años), Jalisco y Colima (1995).
Erupciones volcánicas: Paricutín (1943), Chichonal (1982).
Inundaciones: Villahermosa, Tabasco (2007), Tlacotalpan, Veracruz (2010).
Deslizamientos y caída de rocas: Sierra Norte de Puebla (1999), Puerto Vallarta (2008), Ciudad de México (2016).
Socio-organizativos: explosión de planta de gas San Juan Ixhuatepec, México (1984), explosión del sector reforma, Guadalajara (1992), incendios de Torre de Pemex (1982 y 2013), caída de columnas de tren interurbano Toluca-México (2016).
Asociado con la ocurrencia de estos eventos y otros más que engrosan los listados expuestos, en términos generales se observa que en el mayor número de los casos, los tópicos relacionados con el riesgo se centran en la aplicación de recursos financieros como la primera y la última manera de contrarrestar sus efectos; sin embargo, la cultura de prevención y conocimiento básico de desarrollo de los geosistemas perturbadores que originan desastres continúa siendo ignorada.
Si se analizan los listados de eventos ocurridos en el orbe mundial y en nuestro país, logran advertirse dos ejes comunes entre todos ellos: el primero se encuentra en la falta de conocimiento del entorno geográfico y, más grave aún, en la displicencia de los gobernantes y ocupantes del territorio. El modelo establecido por Smith y Petley (2007) explica de cierta forma la hipótesis propuesta debido a que exhibe la lógica relacionada entre la exposición física y la vulnerabilidad humana, la cual resulta de la correlación generada entre las condiciones de riesgo y de seguridad (figura 1).

El segundo eje referido se encuentra en que todos los eventos enunciados han impactado a la superficie terrestre y ha sido el relieve una de las variables de origen-emisión, de transporte y de recepción de materia y energía en el territorio que ha permitido el desarrollo de sistemas encadenados e influenciando en su expresión espacial.
Para quienes toman decisiones sería provechoso contar con el conocimiento fundamental del espacio geográfico y las propiedades cualitativas y cuantitativas del relieve.
Para el primer grupo el conocimiento del relieve ayudaría a la toma consciente de decisiones de uso, compra-venta, transporte y tránsito en el territorio. En el caso de los segundos los llevaría a posicionarse como conocedores del espacio que gobiernan, actuarían de manera oportuna y en consecuencia obtendrían la aprobación de quienes los han elegido para encaminar el rumbo del entorno social, económico y político, y en el mediano plazo la confianza social otorgaría la continuidad a un proyecto de bienestar social efectivo.
Por las razones emitidas y con el propósito de generar una cultura de investigación que permita comprender cabalmente los procesos relacionados con desastres de orden natural, el objetivo central de esta investigación es exponer el relieve como factor geográfico, como variable que se relaciona, afecta la génesis y el desarrollo de procesos geosistémicos que provocan riesgos, y que al estudiarse proporciona bases para su comprensión y gestión.
Para cumplir con el propósito de la investigación se ha realizado el acopio de información bibliográfica concerniente a la tipología de los riesgos y los procesos que se vinculan con la descripción y registro de eventos específicos, experiencias y metodologías desarrolladas en diversos países, cooperación e investigación proporcionada por instituciones como el Banco Mundial y la CEPAL (Comisión Económica para América Latina y el Caribe), así como tópicos teóricos y de gestión, entre otros. Se encuentra bibliografía con diversos contenidos conceptuales y metodológicos que se complementan y contraponen al mismo tiempo. Entre los grupos de trabajos abordados que conforman el cuerpo teórico y de referencia de este estudio se encuentran los de Tricart (1987), Wilches-Chaux (1993), Kovach (1995), Florini y Simmons (2000), Chaparro y Matías (2005), García (2005), Hardy y Sierra (2005), Keller y Blodget (2007), Campus et al. (2007), BID (2007), Ayala y Olcina (2012), Baro et al. (2012), Themudo (2013), Toscana (2014), Enjolras (2015), Hunt et al. (2015), Samans et al. (2015), Stone (2015), Inglehart (2016), el IMF (2016) y los de World Economic Forum (WEF) publicados en 2013, 2014, 2015, 2016 y 2017, entre otros.
El relieve representa la expresión del conjunto de procesos que originan, modelan y destruyen la superficie terrestre, entre los cuales se encuentran los de carácter endógeno que se vinculan con las fuerzas tectónicas capaces de transportar continentes, plegar, fracturas y desplazar estratos de rocas, así como formar volcanes, mientras que los de carácter exógeno se encargan de modelar la superficie a través de la erosión, el transporte y la deposición de materiales a través de los agentes del intemperismo y la presión de ambientes fluviales, glaciares y kársticos.
La inclusión del relieve como variable para comprender el origen, mecánica y distribución espacial de los procesos que conforman al riesgo resulta imprescindible, puesto que es sobre éste en el cual los geosistemas perturbadores se gestan y evolucionan, y en donde el ser humano habita, ejecuta las actividades cotidianas y contribuye a acelerar los procesos de degradación natural de los geosistemas.
El relieve es el objeto formal de estudio de la geomorfología, y desde la mitad del siglo XX esta ciencia se considera como un baluarte en el estudio y análisis del territorio a través del estudio del origen, forma, dinámica, evolución y distribución de las formas de la superficie terrestre. Los fundamentos y alcances de esta ciencia no se han limitado al estudio morfológico (cualitativo) y morfográfico (cuantitativo) de las diferentes geoformas, sino que se ha constituido como la piedra angular para el estudio de problemas específicos relacionados con la evaluación del medioambiente, el estudio del impacto natural, de los riesgos, los paisajes y el ordenamiento territorial entre otros (Espinosa y Arroyo, 2011).
El origen, crecimiento y evolución de esta ciencia –como ocurre con muchas otras– ha dependido en gran medida de dos factores: a) el primero de ellos corresponde a la filosofía del pensamiento con la cual es posible generar planteamientos desde diferentes perspectivas y así solventar problemas de investigación a través de la generación de métodos específicos que a su vez resuelvan dificultades, planteen y solventen nuevas hipótesis. b) En segundo término el objeto-necesidad que establece las prioridades y jerarquías que el hombre debe resolver de acuerdo con el tiempo histórico en el cual se desarrolla.
El resultado del binomio filosofía-objeto y necesidad ha permitido la aplicación de métodos que han heredado a nuestra sociedad el pensamiento, procedimientos, técnicas y cartografía de orden geomorfológico que, y de acuerdo con perspectivas de investigación, autores clásicos como Thounboury (1969), Tricart (1987) y Verstappen (1996) exponen la importancia de esta disciplina en temas relacionados con la prospección geológica, la elección de emplazamientos urbanos e industriales, la aplicación estratégica de orden militar o la exploración petrolífera, así como en la realización de estudios ambientales, de impacto humano en el medioambiente y los riesgos.
Con los referentes bibliográficos y las experiencias de docencia-investigación se reconoce y confirma la importancia de la aplicación geomorfológica en estudios de laderas y deslizamientos, en la transferencia y dinámica de sedimentos, en el origen y desarrollo de geosistemas perturbadores y de enlace, en el balance de procesos de orden morfoedáfico, en el análisis arqueológico, en el ordenamiento del territorio, en la manifestación de impacto ambiental y en la planeación de procesos electorales y solución de controversias, entre otros ejemplos. Asimismo, la importancia creciente de la geomorfología se manifiesta en la elaboración de planes de desarrollo, en el trazado de las vías de comunicación, en el acondicionamiento de depósitos de agua, en la resolución del problema de la erosión del suelo y en la prospección, explotación y cuidado de las riquezas naturales.
En la figura 2 se exhibe la relación sistémica desarrollada por los procesos naturales de origen y modelación del relieve con la ocupación del territorio a través del tiempo. En el caso de la tabla A1 (véase anexo) se muestra un concentrado de información de los elementos que estudia la geomorfología, el concepto general de cada uno de ellos y un ejemplo territorial en dónde se presentó un evento destacado.

Con diferentes perspectivas, autores como Tricart (1979), Lugo (1989), Ortiz (1990)Tricart y Kiewiet (1992) y Peña (1997) confirman que el relieve se asocia con el impulso, la eficiencia, la transformación y la distribución espacial de la materia y energía que se circunscriben a procesos desarrollados en el espacio geográfico y en la relación con los geosistemas perturbadores de enlace.
La figura 3 exhibe un esquema que explica la tesis anterior en el cual se advierten secciones con manifestaciones geométricas del relieve observado a través de la pendiente general del terreno y la correlación con diferentes procesos asociados al desarrollo de vertientes. Las letras en la base del esquema representan los sectores del perfil y el conjunto de procesos relacionados con su geometría. Destaca los de origen fluvial, remoción en masa, inundación y subsidencia.

Nota: A. Pendiente de percolación (lavado interno), B. Pendiente convexa de creep y desarrollo fluvial erosivo, C. Ladera de caída, avalanchas y desarrollo fluvial erosivo, D. Talud de transporte y deslizamientos, procesos fluviales erosivo-acumulativos, E. Talud de coluvionamiento, debris, flujos de rocas y suelo, procesos fluviales acumulativo-erosivos, inundaciones someras, F. Fondo aluvial, hundimientos, fracturamientos y procesos fluviales acumulativos, inundaciones ocasionales y estacionales, G. Fondo de canal, procesos de hundimiento, fracturamiento, fluviales acumulativos e inundaciones.
Fuente: modificado de De Pedraza (1997).En la matriz se muestra con un listado de procesos asociados al riesgo más comunes que han afectado la faz de la Tierra desde que se formó y la tipología de las variables que se entrelazan para configurar un escenario de riesgo (tabla A2, véase anexo), en donde la columna de relieve ha sido señalada con un fondo de color gris.
Conforme con las ideas de Espinosa y Hernández (2015: 52),
el estudio de los riesgos ha encontrado puntos de vista variados y complejos, aunque muchas investigaciones han partido desde la propuesta de la UNDRO y se han enfocado en describir y caracterizar al grupo de variables que conforman a dicha propuesta. Todos estos trabajos han formado parte de un constructo que permite en el tiempo presente proponer y consolidar un andamiaje de carácter holístico y sistémico que parte desde la noción metafísica de la filosofía para el estudio de éste.
Estos autores consideran que el riesgo desde la propuesta conceptual y aplicada debe ser considerado como un proceso integral que compone variables territoriales, sociales, económicas, políticas y éticas, entre otras. Es por ello que la construcción teórica del concepto se ciñe a la integración de componentes sistémicos que abarcan cinco funciones específicas que son representadas a través de la ecuación general del riesgo:

En donde:
fGP (función del geosistema perturbador): el origen, evolución, dinámica y distribución espacial de los procesos generadores del riesgo en cualquiera de los ámbitos de desempeño que le confieren, y de la relación que se establece con otros procesos que se asocian y encadenan con el primero; circunstancia que provoca cambios en las condiciones “estables” de un lugar. Cabe destacar que un sesgo común en el estudio del riesgo se encuentra al estudiar la peligrosidad o el geosistema perturbador como un ente independiente cuando éste se comporta en un escenario territorial como potencial activador de otro conjunto de variables que producen el desarrollo de un nuevo cúmulo de procesos que, de manera particular, resulta en ocasiones el causante de más daños y eleva el grado de peligro (Espinosa y Hernández, 2015). Transformada la idea de Tricart (1987) de los fenómenos de amplificación, la idea de geosistema encadenado por Espinosa (2010) define que la ocurrencia de un evento inicial propicia a su vez la ocurrencia de un nuevo grupo de eventos, los cuales a su vez, en un marco de crisis y sistema caótico, generan una serie de consecuencias multiniveladas.
fCH (función de la componente humana): con un nivel de complejidad mayor a la reconocida “vulnerabilidad” presenta elementos multinivelados que agrupan condiciones inherentes a la esencia y características que los hombres y las sociedades poseen, como es el pensamiento, la percepción, la preparación escolar, la educación, la estructura familiar y las condiciones generales de vida por mencionar algunas.
fT (función del territorio): se relaciona de forma necesaria con la expresión territorial en el sentido más amplio que ésta tiene. Interviene la valoración cualitativa y cuantitativa de las superficies de afectación y la forma de transformación, transporte y acción de la materia y energía asociada con el geosistema perturbador y el grupo de procesos encadenados relacionados con el primero. La valoración del espacio posee múltiples puntos de vista y connotaciones diversas a saber de la funcionalidad, la objetividad y la subjetividad paramétrica de quien analiza, describe y califica el valor del espacio geográfico.
fS (función sistémica): integra conceptos de la holística sistémica como es el caso de la homeostasis, el feedback, la resiliencia y la autopoiesis a través del tiempo.
fGA (función de la gestión ambiental): se encuentra conformada por el grupo de procesos y acciones que se ciernen en torno al grupo de actores del territorio, y se consolida como un factor que dirige las tendencias de desarrollo de las funciones y variables que integran a la ecuación general del riesgo.
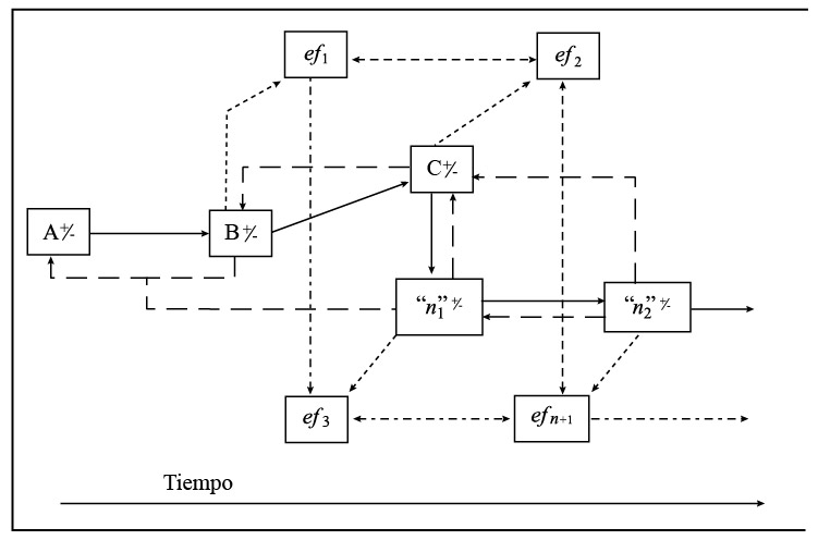
En la figura 4 se esquematiza el comportamiento idealizado de un conjunto de variables que representan a diferentes geosistemas perturbadores y la correlación entre los efectos o consecuencias que generan.

Nota: se muestra la complejidad de funcionamiento y correlacionalidad de los geosistemas perturbadores en donde: A, B, C y n1 representan variables de los procesos y ef el conjunto de efectos generados por cada variable. Las flechas continuas representan las variables de impacto directo, mientras que las discontinuas las de posibilidad.
Fuente: modificado de Espinosa y Hernández, 2015.Sin caer en un determinismo geográfico se parte de la tesis que sostiene la idea de cómo los factores sociales, económicos y políticos encajonan en el mayor número de casos el tipo de acciones y resultados que una sociedad aspira o experimenta ante un evento de orden perturbador.
La conjunción de variables que pertenecen a este orden ofrece alternativas y escenarios territoriales que anuncian o evidencian la articulación de condiciones que aumentan o disminuyen el grado de exposición o vulnerabilidad de una sociedad. De tal manera que a mayor grado de rezago social, económico y político, mayor será la afectación directa o indirecta de un geosistema perturbador y viceversa.
En la figura 5 se manifiesta una estructura idealizada en la cual se representan los elementos básicos que la gestión del riesgo debe poseer. Comienza por la ordenación del territorio y culmina con la consecución de los objetivos propios del asistencia que se ofrece, el bienestar social y el reconocimiento público de la población a quienes se responsabilizan por la decisión consciente desde el lugar que ocupan en la jerarquía del servicio que se otorga.
La estructura interna del diagrama involucra variables que a su vez se descomponen en elementos que conformarán decisiones orientadas a la creación de obras de infraestructura, la protección al medioambiente, a la cultura, y el desarrollo de sistemas de seguridad, salubridad y participación social que en conjunto representan el objeto formal de la gestión y la posible reducción de desastres.

Tales aseveraciones surgen después de observar las necesidades del ámbito mexicano, debido a que son pocos los elementos de atención prioritaria vertidos en el Plan Nacional de Desarrollo (PND) y de las acciones que le corresponden. De manera general las líneas de atención refieren salvaguardar la vida e integridad física de los ciudadanos, los bienes y su entorno, así como atender emergencias de diferente índole, mas no de investigación, retroalimentación y prevención.
Uno de los problemas graves que se observan en la información y su uso en el ámbito oficial es que resulta ser descriptiva y decorativa –y ello no implica el reconocimiento del personal y de instituciones como Cenapred que han aportado mucho al tema– y, aunque existen mapas digitales publicados, sólo se hace referencia de relieve “montañoso, escarpado, inclinado o plano”, pero no implica un análisis profundo que sustente el desarrollo de políticas públicas, cuando las actividades cotidianas y el desarrollo de procesos se gesta exactamente sobre la superficie terrestre, en el relieve donde emana, se transmite y se recibe materia, energía e información de diferentes geosistemas perturbadores.
En el documento rector de la planeación nacional se reconoce la existencia de diferentes procesos perturbadores de origen geológico hidrometeorológico, químico y socio-organizativo que afectan al territorio nacional e implica una complicación futura de necesaria observación, pues si se observa la forma de crecimiento poblacional estimada por el INEGI en 2017 de 1.3% más la forma de ocupación del territorio, el incremento en la pobreza y el descenso progresivo de los indicadores de desarrollo humano, el escenario tendencial marca un incremento de más de 14 millones de personas por año que de forma casi obligada. Además de incrementar el valor de concentración y presión humana,se ocuparán los mismos territorios que han experimentado el desarrollo de geosistemas perturbadores y otros nuevos que probablemente no aseguren condiciones de estabilidad o han coexistido con la presencia de algún tipo de desastre natural.
Y como se observa en la información oficial, con las actividades de organización y planeación se da cuenta que existe poca o nula información acerca de los procesos que se desarrollan en el territorio nacional. Al respecto las acciones políticas y programas para enfrentar los geosistemas perturbadores no se atienden de forma integral, motivo por el cual las condiciones de riesgo no sólo se mantienen y se comportan de forma exponencial.
Es por este motivo que se considera elemental contar con información específica que permita por un lado entender los procesos que generan riesgos, la dinámica de funcionamiento, el balance de materia y energía y la forma de expresión territorial para que con esa información los decisores adquieran argumentos suficientes para solventar de forma acertada la toma de decisiones en torno la población, al medio y a todas las formas de patrimonio.
El tema de análisis de los riesgos y las variables que este trabajo posee ha sido motivo de estudio sistemático con diferentes perspectivas dominando, por ejemplo, las de tipo catastrofista, las ambientalistas y ahora las de carácter social y económico. En todas ellas se observa la necesidad imperante de resolver “lagunas” de conocimiento para identificar los eslabones más débiles.
En el caso de los reportes establecidos desde hace casi una década en la evaluación de riesgos para el mundo publicados por el Foro Económico Mundial, éstos indican la periódica aparición de los desastres naturales, el terrorismo y destrucción por el empleo de armas de destrucción masiva. Destacan grupos asociados a riesgos económicos, medioambientales, geopolíticos, sociales y tecnológicos.
Las variables que caracterizan a los tipos de riesgo involucran dos elementos: valores de probabilidad y de impacto, en las cuales se observan diferentes interconexiones que esbozan un mapa complejo que exige cambios profundos en el orden político, social y de la gestión de los riesgos. Lo anterior no representa tan sólo a un problema de orden local, posee implicaciones globales, pues contribuye a la generación de un escenario geopolítico capaz de producir “riesgos en cascada” que involucran factores nuevos e inesperados (n+3) relacionados con gobernanza, migración, marginación y presión social, económica y política.
De manera particular, uno de los conceptos fundamentales de la geomorfología define que “todos los procesos como la erosión, el tectonismo y el vulcanismo han estado presentes a lo largo del tiempo geológico, pero han actuado con diferentes intensidades”. Esta afirmación deja en claro que los cambios en la superficie terrestre siempre han existido y forman parte de la Tierra desde que se formó hace 4 600 millones de años y que en consecuencia seguirán en el presente y futuro. Por ello, se enfatiza de forma categórica en que los procesos en la naturaleza no se encuentran ni se desarrollan de manera aislada. Al igual como ocurre en la sociedad, nada existe o se desarrolla por casualidad.
Esta condición no exime al grupo de procesos que se correlacionan tanto para dar cabida a los geosistemas perturbadores, así como para poder prevenir, actuar y gestionar lo conducente a los riesgos. De acuerdo con esto, existen dos puntos centrales que requieren de atención: a) el origen y desarrollo de procesos y b) la prevención-acción.
En el primer caso el relieve se constituye como el factor “comodín” para la génesis y evolución de las geosistemas perturbadores, en donde se desarrollan sobre, dentro y por debajo del relieve, es decir, la materia y energía que se relaciona con procesos de origen y encadenamiento se transporta, se transforma, se amortigua o se incrementa según las características físicas y morfológicas que el relieve posee.
En el segundo caso, es la gestión y el trabajo que conlleva la piedra de roseta, que representa uno de los caminos sostenibles y viables para encontrar soluciones eficientes ante los problemas que el territorio y los procesos plantean a los tomadores de decisiones desde la perspectiva ontológica y del deber ser.






Nota: A. Pendiente de percolación (lavado interno), B. Pendiente convexa de creep y desarrollo fluvial erosivo, C. Ladera de caída, avalanchas y desarrollo fluvial erosivo, D. Talud de transporte y deslizamientos, procesos fluviales erosivo-acumulativos, E. Talud de coluvionamiento, debris, flujos de rocas y suelo, procesos fluviales acumulativo-erosivos, inundaciones someras, F. Fondo aluvial, hundimientos, fracturamientos y procesos fluviales acumulativos, inundaciones ocasionales y estacionales, G. Fondo de canal, procesos de hundimiento, fracturamiento, fluviales acumulativos e inundaciones.
Fuente: modificado de De Pedraza (1997).
Nota: se muestra la complejidad de funcionamiento y correlacionalidad de los geosistemas perturbadores en donde: A, B, C y n1 representan variables de los procesos y ef el conjunto de efectos generados por cada variable. Las flechas continuas representan las variables de impacto directo, mientras que las discontinuas las de posibilidad.
Fuente: modificado de Espinosa y Hernández, 2015.

