ARTÍCULO
Received: 01 April 2020
Accepted: 08 November 2020
Abstract: The paper aims to analyze the biomass at one year growth, resulting from the cultivation of the INGER energy willow clone as a short rotation crop (SRC), in order to use it as a renewable fuel. The paper completes the data in the field of renewable energies in the context of decreasing fossil energy reserves worldwide and emphasizing the impact on renewable energies. The effect of a contaminated land on the survival rate of the planted seedlings and the effect of the energy willow culture on the composition of the contaminated soil are analyzed. The obtained results show that the biomass characteristics, such as the calorific power of about 18,21 kJ/g to18,90 kJ/g, and the ash content of about 2,25%, are comparable with the ones of other lignocellulosic energy materials. The results found in this study showed that the woody biomass in the first vegetation year of energy willow can be used directly as a renewable fuel without the need for compaction in the form of briquettes or pellets.
Keywords: Biomass, calorific power, contaminated land, INGER clone, short-rotation coppice.
Introduction
The European energy strategy has several current and prospective goals in terms of reducing fossil fuels and increasing the use of renewable resources, such as biomass. Biomass can be woody, vegetable and, animal waste. Wood biomass used for energy production is obtained from the exploitation of forests, residues and, wastes from the wood processing industry, but also from other crops producing lignocellulosic biomass (Ericsson and Nilsson 2006). Among such crops for energy biomass, short rotation willow crops (SRCs) can become a good source of income for producers (Manzone and Balsari 2014, Buchholz and Volk 2011). At the same time, these crops can store carbon for short term (Rytter 2012, Ens et al. 2013, Fiala and Bacenetti 2012). These crops present several advantages and have multiple purposes. Apart the production of energy biomass (Adler et al. 2005, Labrecque and Teodorescu 2005, Arevaloet al. 2007), such crops represent the solution for some environmental phenomena, being used for recycling the residual water (Börjesson and Berndes 2006, Holm and Heinsoo 2013) with a positive effect on willow growth (Dimitriouset al. 2011, Hammar et al. 2014), for the absorption of heavy metals (Mleczek et al. 2010), and also for food from mixed crops (Ghaley and Porter 2014). Short rotation plantations (SRCs) are considered a viable alternative, with high potential for obtaining green energy (Mitsui et al. 2010, Wilkinson et al. 2007, Stolarski et al. 2008, Amichev et al. 2011, Borkowska and Molas 2013). In the agricultural sector, there are numerous plants that fall on the list of the so-called "energy plants" (rape, reed, energy grass -Mischanthus sp.), but also a series of fast-growing wood species, such as acacia, poplar and, willow or some other exotic species (Turinawe et al. 2014). Energy crops are very important for the bioenergy sector. The potential of energy crops in the European Union is estimated at 44-47 MJ/year (AEBIOM 2011, GriuDobrev 2014, Volk et al.2004, El Kasmioui and Ceulemans 2013). An area of 13,2Mha is currently available for energy crops in EU, which is expected to increase to 20,5 - 26,2 Mha between 2020 and 2030 (European Biomass Association 2013). In the meantime, in other EU countries, the energy crops were diversified with willow, poplar and Miscanthus, in different proportions. In the UK, the species Miscanthus (energy grass) was cultivated on 10-11000 ha (Fischer et al. 2005), and in Sweden and Poland 11000 ha and 5-9000 ha were cultivated with willow, respectively. In Germany, 746000 ha were planted with rapeseed (for bio-Diesel), and another 200000 ha were cultivated with plants producing starch and sugar (for bio-ethanol). There are over 300 willow species worldwide (Argus1997) the diversity of the Salix genus leading to the launch of some crop programs to obtain large biomass quantities for energy production. Thus, by cultivating energy willow, very good results have been obtained in Sweden, UK, Turkey, Lithuania, Sweden, Germany and Romania (Botu et al. 2013, Jezowski et al. 2011, Helby et al. 2006, Ericsson et al. 2006, Faasch and Patenaude 2012). Such crops can be easily planted on sloping land, fixing the soil and improving its quality. Also, these crops can play the role of bio-remediation (phytoremediation) of polluted soils, for extracting excess ions and they can be used for the reintroduction of highly degraded lands (tailings, saline soils, eroded, sandy, etc.) in the production flow.
There are several studies developed worldwide on the bark content of willow shoots, which can vary between 18 % to 43% (Adler et al. 2005). Such variation can be influenced by both the biochemical processes carried out locally and the clone under study (Karp et al. 2011). The "INGER" clone (Albertsson et al. 2014, Smaliukas et al. 2008) along with other varieties of energy willow produced and marketed by S.C. Kontrastwege S.R.L. MiercureaCiuc was created and approved by the Swedish company Lantmännen Agroenergi during the last 20-30 years (Energetic willow 2008). After long experiments, by using germplasm sources from European and Russian collections, Swedish scientists have obtained by hybridization several varieties of willow, that have received the generic name of energy willow, due to their special energy characteristics. These varieties come from the species Salix viminalis, S. dasyclados, S. schwerinii and S. triandra and they all fulfill the initial requirements formulated at the research launching, as follows:
- rapid growth, up to 3-3,5 cm/day, in optimum vegetation;
- the long-life cycle of plantations, with an operating period of 25-30 years;
- very high energy value (about 4300-4900 kcal/kg);
- investment recovery after a short period of only 3-4 years;
- minimum care requirements;
- resistance to diseases, pests and unfavorable pedo-climatic factors;
- a safe and non-polluting source of energy, which should lead to the reduction of the pressure exerted at this moment on the forest and to provide wood for energy applications. The INGER clone is a successful cross between Salix triandra (from Novosibirsk area) and Jorr species (S. viminalis). This clone (EU 11635) grows better on dry soil than other varieties of energy willow. It has a high resistance to diseases such as leaf rust and average resistance to other leaf pests.
The main objective of this paper was to analyze the biomass at one year growth, resulting from the cultivation of the INGER clone energy willow as a short rotation crop (SRC) obtained from contaminated and non-contaminated land, in order to use it as a renewable fuel. In this study, two properties of biomass samples, namely calorific power and ash content were determined and analyzed.
Materials and methods
In this study the genetic material of INGER energy willow clone was provided by S.C. Kontrastwege S.R.L. Company in Miercurea Ciuc. A total of 14000 cuttings/ha grouped in a bunch of 50 pieces at the length of 18-20 cm were used.
Two fields have been selected for tests around the Târnăveni area in Romania. The planting operations in the first area located at 24,2560° E and 46,3240° N (Târnăveni, Mureş County) started in March 2014, while other tests were carried out in March 2016 in the area located at 25,7950° E and 46,5310° N (Cârţa, Harghita County). The way in which the planting actions of energy willow were performed, along with the survival rate of the clone seedlings planted in soil contaminated with heavy metals have been attentively supervised and evaluated. The planting was done near the former chemical factory in Târnăveni on a surface area of about 2 ha, owned by the S.C. Turbocam Rom S.R.L Company from Sântana de Mureş. It is worth to mention that the land on which the planting was executed is located near the Târnava Mică river, which makes the irrigation of willow crops to be carried out with minimal expenses. The land contamination is caused, first of all, by the sewage pond of industrial waters resulting from the production processes of the former factory, in the neighborhood of energy willow stand. At present, the sewage pond is partially clogged, considerable thick, having several meters depth. Moreover, the boundary between the plantation and pond is represented only by its perimeter dam. Another source of contamination is also the storage of residual substances, such as the sodium dichromate and carbide, which presents contamination potential for the soil, groundwater and vegetation in the area.
Determination of survival rate
The data collection involved a complete inventory of the energy willow culture in the Târnăveni and Cârța areas, carried out in June 2014, through the successive examination of each plantation row and visual identification of cuttings. Under such conditions, mortality situations may appear, being explained by the synergistic action between the soil conditions and the technology used in planting. Such a statement is expected to be proved by statistical analysis. For this purpose, a simple sampling methodology was adapted, that consists of the complete culture analysis based on elementary criteria of the specimen survival. Thus, a specimen was considered to have survived if it entered the vegetation, generating shoots, while, another specimen did not survive if it did not generate shoots or it could not be identified on-site. The survival rate was determined with the following Equation 1:
[1]In which: nv -number of shoots after one-year growth; nt -number of planted shoots.
Influence of energy willow crop on the soil properties in the case of contaminated land
In order to establish the influence that an energy willow crop located in contaminated land has on soil properties, soil samples were taken in the year of establishment of the crop (2014) and two years after that (2016), both in the last decade of March. The samples were taken by the classical method, from 3 soil profiles arranged in a grid of 1 m side, from several levels of depth. These were mixed and homogenized for each depth range separately, thus achieving an average. Quantities of approximately 1 kg each were taken from them. They were packed in plastic bags and labeled for each sampling depth. Soil samples were brought and analyzed in the laboratory to determine the content of nitrogen, organic carbon, phosphorus, sodium, and potassium. To determine the total nitrogen content of a soil sample, including ammoniacal nitrogen, nitrites, nitrates and organic nitrogen, the modified Kjeldahl method was used (ISO 11261). For the organic carbon content of the soil an indirect titrimetric method was used, namely, the Schollenberger-Jackson method, which is based on the oxidation at a high temperature of the organic carbon by using chromic acid (as an oxidant) and sulfuric acid. The Cecil photo-colorimeter was used to determine the phosphorus content of soil samples and the atomic absorption spectrometer to determine sodium and potassium.



Determination of the calorific power of energy willow
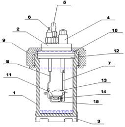
The calorific power of energy willow was determined by using the OXY-1C calorimeter bomb (Shanghai Changji Geological Instrument Co., China) for each biomass categories obtained when harvesting the energy coppice (Figure 1). This calorimeter was equipped with a process computer that tracked the experiment and provided the upper and lower calorific power, as well as the total time and steps at the end of the test. A pressure of 30 bars was introduced into the calorimetric pump to ensure the complete burning of the lignocellulosic pieces (Figure 2).
A cotton thread and a nickel wire connected to the calorimeter electricity source were used to ignite the wood piece. The bark was pelletized using the device presented in Figure 3. The test was conducted according to DIN 51900-1 (2000).
Determination of ash content
The ash content of wood and bark of the INGER energy willow clone was determined by the complete burning of the finely milled sample (which passes through the 1 mm x 1 mm sieve). A calcination furnace that provided a current temperature of 650 °C ± 2°C was used. The tests were carried out according to the specific standard ASTM D2866-11 (2011). The samples were dried to a constant mass (oven-dry wood) and the ash content was determined as a percentage ratio between the calcined ash mass and the dried sample mass. To apply the best test conditions a high-temperature resistant nickel-chrome crucible was used (Figure 4).
Results and discussion
The planting speed of willow was estimated in the range of 1,30 km/h to 1,54 km/h. Such speed values are higher than most of those reported by Manzone and Balsari (2014), which reported production rates in the range of 0,27 km/hto 0,28 km/h when planting willow cuttings. Experiments related to the planting of cuttings on contaminated and non-contaminated land showed that the survival rate of cuttings was lower on contaminated land (71,91%) compared to non-contaminated land (91,82%) for 79 rows under study (Figure 5 and Figure 6), which means an effective decrease of 19,91%, or a relative decrease of 21,6%. As it was expected, out of the two types of soil, in the case of non-contaminated land favorable results were obtained. Figure 7 highlights the rows under study, the planted cuttings per each row, and the number of viable and non-viable seedlings. Based on a certain cultivation schedule and considering the average size of seedlings after one year from planting, for 14000 seedlings per hectare, an amount of about 0,6t/ha dry mass of INGER clone can be obtained according to Szczukowski et al. (2002).


In the present study, the dry mass for an average shoot was of about 41,82g. Such results are similar to those found in the specialty literature. Arevalo et al. (2007) and Larsen et al. (2014) obtained dry masses between 9,43g/shoot for CANASTOTA clone and 47,13 g/shoot for TULLY clone for one-year crops, respectively.
However, one-year-old willow crops can provide productivity of about 3,5 t/ha to 4,6 t/ha (Sevel et al. 2012, Wang and MacFarlane 2012, Hangs et al. 2011), for more willow shoots per cuttings. It was not the case in the current study in which only the main willow shoot was harvested. The obtained results are comparable to those reported by Wilkinson et al. (2007) who reported 436 kg dry mass per hectare after one year, in case of other clones. This way, if the average obtained from the dried sample (34,62g/shoot) is used, the dry mass per hectare would have been 485 kg during the first year of vegetation. Regarding the soil testing before planting (the year 2014) and after 1 year, for the first 20 cm in soil depth, significant differences were found as seen in Table 1.
It was found that in 2016 the humus grew from 2,76 to 3,60, for the first 20 cm of its profile. Such an aspect is justified by the contribution of organic matter resulting from the litter decomposition, known that the willow litters decompose rapidly in 1-2 years and as a result, the C/N ratio increased. On the other hand, there is an increase of phosphorus, due to the contribution of organic matter embedded in the soil. The soil on which the short rotation willow plantation was located has remained uncultivated for many years. A particular attention is drawn to the very high value of sodium (188,5 ppm), which characterizes an alkalization process specific to the soil type (faeziom) and which highlights the infiltrations from the adjacent tailings pond. After 2 years its massive decrease was found of about 35,21ppm, being absorbed in the energy willow culture.


As it is presented in Figure 8, high values of the calorific power were determined for pellets and briquettes, while lower values were obtained for chopping material and bark.
The results on the calorific power revealed quite close values for the four types of willow material under study in the range of 18,21kJ/g to 18,90 kJ/g. The maximum of 18,903 kJ/g was determined in the case of briquettes due to the high degree of compaction and the lack of bark, while for the willow bark a minimum of about 18,216 kJ/g was obtained due to the higher ash content that negatively affects the calorific power. Therefore, if adequate natural drying conditions are provided for the chipped material (chips), it can be successfully used in energy burning processes, without any other additional expenses and installations required for material compaction (Spirchez et al. 2018). Therefore, such an approach can have a major economic impact for the combustion processes of the industrial type, especially (Francescato et al. 2008, GriuDobrev 2014).
The determinations of ash content were made separately for bark and briquettes from energy willow, in order to have a comparison between wood and bark (Guidi et al. 2008). As it is presented in Table 2, the average ash content of about 3,91 % was found higher for pellets compared to that of briquettes (2,24 %), due to the high secondary content of bark, such as silicates and oxalates (Krigstin et al. 1993).

Conclusions
The study highlighted the influence of contaminated land on the viability of energy willow shoots. The INGER willow clone had survival rate values of 92% and 72% for non-contaminated and contaminated land areas, respectively.
The changes in the soil composition of the contaminated land during the growth of energy willow refer to the increase of humus due to the rapid decomposition of the willow litter. Moreover, a significant decrease of Sodium from about 188% to 35% caused by its absorption within the willow harvest was found.
The calorific power had values in the range of 18,21kJ/g to 18,90 kJ/g. The ash content for bark and wood were found lower than for other plant materials, such as cereal straws. If adequate drying conditions are provided for the chopped material, it can be successfully used in energy combustion processes, without the need for any additional costs and installations for material compaction. This can have a major economic impact especially for the combustion processes of the industrial type, in which large quantities of biomass are consumed.
References:
Adler, A.; Verwijst, T.; Aronsson, P. 2005. Estimation and relevance of bark proportion in a willow stand. Biomass Bioenerg 29(2):102-113.https://doi.org/10.1016/j.biombioe.2005.04.003
AEBIOM. European Biomass Association. 2011. Annual Statistical Report on the contribution of Biomass to the Energy System in the EU27. AEBIOM:Brussels, Belgium. https://bioenergyeurope.org/
Albertsson, J.; Verwijst, T.; Hansson, D.; Bertholdsson, N.O.; Åhman, I. 2014. Effects of competition between short-rotation willow and weeds on performance of different clones and associated weed flora during the first harvesting cycle. Biomass Bioenerg 70: 364-372. https://doi.org/10.1016/j.biombioe.2014.08.003
ASTM.2011. Standard Test Method for Total Ash Content of Activated Carbon. ASTM.D2866-11. 2011. ASTM International: West Conshohocken, PA, USA. http://www.astm.org/cgi-bin/resolver.cgi?D2866-11
Amichev, B.Z.; Hangs, R.D.; Van Ress, K.C.J. 2011.A novel approach to simulate the growth of multi-stem willow in bioenergy production systems with a simple process-based model (3PG). Biomass Bioenerg 35: 473-488. https://doi.org/10.1016/j.biombioe.2010.09.007
Arevalo, C.B.M.; Volk, T.A.; Bevilacqua, E.; Abrahamson, L. 2007. Development and validation of aboveground biomass estimations for four Salix clones in central New York. Biomass Bioenerg 31:1-12. https://doi.org/10.1016/j.biombioe.2006.06.012
Argus, G.W. 1997. Infrageneric classification of Salix (Salicaceae) in the New World. Syst Bot 52: 1-121. https://doi.org/10.2307/25096638
Borkowska, H.; Molas, R. 2013.Yield comparison of four lignocellulosic perennial energy crop species. Biomass Bioenerg 51: 145-153. https://doi.org/10.1016/j.biombioe.2013.01.017
Botu, I.; Botu, M.; Preda, S.; Achim, Gh.; Lazar, A.; Alecu, A. 2013. Comparative evaluation of Romanian and introduced Salix cultivars for short rotation coppice. South West J Hortic Biol Environ 4(1): 35-42. http://www.biozoojournals.ro/swjhbe/v4n1/04_swjhbe_v4n1_Botu.pdf
Börjesson, P.; Berndes, G. 2006.The prospects for willow plantation for wastewater treatment in Sweden. Biomass Bioenerg 30: 428-438. https://doi.org/10.1016/j.biombioe.2005.11.018
Buchholz, T.; Volk, T.A. 2011. Improving the profitability of willow crops-identifying opportunities with a crop budget model. Bioenerg Res 4: 85-95. https://doi.org/10.1007/s12155-010-9103-5
DIN. 2000. Determining the gross calorific value of solid and liquid fuels using the bomb calorimeter, and calculation of net calorific value - Part 1: General information. DIN. 51900-1. 2000. Deutsches Institute fur Normung: Germany.
Dimitrious, I.; Rosenqvist, H.; Berndes, G. 2011. Slow expansion and low yields of willow short rotation coppice in Sweden; implications for future strategies. Biomass Bioenerg 35: 4613-4618. https://doi.org/10.1016/j.biombioe.2011.09.006
El Kasmioui, O.; Ceulemans, R. 2013. Financial analysis of the cultivation of short rotation woody crops for bioenergy in Belgium: Barriers and opportunities. Bioenerg Res 6: 336-350. https://doi.org/10.1007/s12155-012-9262-7
Energetic Willow. 2008. SC Kontrastwegwege SRL, Romania. https://balkangreenenergynews.com/energy-willow-salix-viminalis-biomass-where-you-want-it/
Ens, J.; Farrell, R.; Bélanger, N. 2013. Early effects of afforestation with willow (Salix purpurea, “Hotel”) on soil carbon and nutrient availability. Forests 4: 137-154. https://doi.org/10.3390/f4010137
European Biomass Association. 2013. European Bioenergy Outlook 2013. Statistical Report. p.108-109. AEBIOM: Brussels
Ericsson, K.; Nilsson, L.J. 2006. Assessment of the potential biomass supply in Europe using a resource-focused approach. Biomass Bioenerg 30: 1-15. https://doi.org/10.1016/j.biombioe.2005.09.001
Ericsson, K.; Rosenqvist, H.; Ganko, E.; Pisarek, M.; Nilsson, L. 2006. An agroeconomic analysis of willow cultivation in Poland. Biomass Bioenerg 30:16-27. https://doi.org/10.1016/j.biombioe.2005.09.002
Faasch, R.J.; Patenaude, G. 2012.The economics of short rotation coppice in Germany. Biomass Bioenerg 45: 27-40. https://doi.org/10.1016/j.biombioe.2012.04.012
Fiala, M.; Bacenetti, J. 2012. Economic, energetic and environmental impact in short rotation coppice harvesting operations. Biomass Bioenerg 42: 107-113. https://doi.org/10.1016/j.biombioe.2011.07.004
Fischer, G.; Prieler, S.; van Velthuizen, H. 2005. Biomass potentials of miscanthus, willow and poplar: results and policy implication for Eastern Europe, Northernand Central Asia. Biomass Bioenerg 28:119-132. https://doi.org/10.1016/j.biombioe.2004.08.013
Francescato, V.; Antonin, E.; Bergomi, L.Z. 2008. Wood fuels handbook. AIEL - Italian Agroforestry Energy Association: Italy.
Ghaley, B.B.; Porter, J.R. 2014. Determination of biomass accumulation in mixed belts of Salix, Corylus and Alnus species in combined food and energy production system. Biomass Bioenerg 63: 86-91. https://doi.org/10.1016/j.biombioe.2014.02.009
Griu, T.; Lunguleasa, A. 2016. Salix viminalis vs Fagus sylvatica - fight for renewable energy from woody biomass in Romania. Environ Eng Manag J 15(2): 413-420. https://doi.org/10.30638/eemj.2016.043
GriuDobrev, T.B. 2014. Evaluation of the calorific power of wooden biomass. PhD thesis. Transilvania University of Braşov, Brasov, Romania.
Guidi, W.; Piccioni, E.; Ginanni, M.; Bonari, E. 2008. Bark content estimation in poplar (Populus deltoides L.) short-rotation coppice in Central Italy. Biomass Bioenerg 32: 518-524. https://doi.org/10.1016/j.biombioe.2007.11.012
Hammar, T.; Ericsson, N.; Sundberg, C.; Hannson, P.A. 2014. Climate impact of willowgrown for energy in Sweden. Bioenerg Res 7: 1529-1540. https://doi.org/10.1007/s12155-014-9490-0
Hangs, R.D.; Van Rees, K.C.J.; Shoenau, J.J.; Guo, X. 2011. A simple technique for estimating above-ground biomass in short-rotation plantations. Biomass Bioenerg 35: 2156-2162. https://doi.org/10.1016/j.biombioe.2011.02.008
Helby, P.; Rosenqvist, H.; Roos, A. 2006. Retreat from Salix - Swedish experience with energy crops in the 1990s. Biomass Bioenerg 30: 422-427. https://doi.org/10.1016/j.biombioe.2005.12.002
Holm, B.; Heinsoo, K. 2013. Municipal wastewater application to Short Rotation Coppice of willows - Treatment efficiency and clone response in Estonian case study. Biomass Bioenerg 57: 126-135. https://doi.org/10.1016/j.biombioe.2013.08.001
ISO. 1995. Soil quality-determination of total nitrogen-Modified Kjeldahl method. ISO 11261:1995. International Organization for Standardization: Geneva, Switzerland.
Jezowski, S.; Glowacka, K.; Kaczmarek, Z.; Szuczukowski, S. 2011. Yield traits of eight common osier clones in the first three years following planting in Poland. Biomass Bioenerg 35: 1205-1210. https://doi.org/10.1016/j.biombioe.2010.12.005
Karp, A.; Hanley, S.; Trybush, S.; Macalpine, W.; Pei, M.; Shield, I. 2011. Genetic Improvement of Willow for Bioenergy and Biofuels. J Integr Plant Biol 53(2):151-165. https://doi.org/10.1111/j.1744-7909.2010.01015.x
Krigstin, S.G.; Wong, B.M.; Roy, D.N. 1993. The contribution of chemical components in juvenile hybrid Salix spp. to its total energy output. Wood Sci Technol 27: 309-320. https://doi.org/10.1007/BF00195310
Labrecque, M.; Teodorescu, T.I. 2005. Field performance and biomass production of 12 willow and poplar clones in short-rotation coppice in southern Quebec(Canada). Biomass Bioenerg 29: 1-9. https://doi.org/10.1016/j.biombioe.2004.12.004
Larsen, S.U.; Jørgensen, U.; Lærke, P.E. 2014. Willow yield is highly dependent on clone and site. Bioenergy Res 7: 1280-1292. https://doi.org/10.1007/s12155-014-9463-3
Manzone, M.; Balsari, P. 2014. Planters performance during a Very Short Rotation Coppice planting. Biomass Bioenerg 67: 188-192. https://doi.org/10.1016/j.biombioe.2014.04.029
Mitsui, Y.; Seto, S.; Nishio, M.; Minato, K.; Ishizawa, K.; Satoh, S. 2010. Willow clones with high biomass yield in short rotation coppice in the southern region of Tohoku district (Japan). Biomass Bioenerg 34: 467-473. https://doi.org/10.1016/j.biombioe.2009.12.010
Mleczek, M.; Rutowski, P.; Rissman, I.; Kaczmarek, Z.; Golinski, P.; Szentner, K.; Strazynska, K.; Stachowiak, A. 2010. Biomass productivity and phytoremediation potential of Salix alba and Salix viminalis. Biomass Bioenerg 34: 1410-1418. https://doi.org/10.1016/j.biombioe.2010.04.012
Rytter, R.M. 2012.The potential of willow and poplar plantations as carbon sinks in Sweden. Biomass Bioenerg 36: 86-95. https://doi.org/10.1016/j.biombioe.2011.10.012
Scriba, C. 2017. Research on plantation, harvest and capitalization of some energy willow clones. PhD thesis. Transilvania University of Brasov, Brasov, Romania.
Sevel, L.; Nord-Larsen, T.; Raulund-Rasmussen, H. 2012. Biomass production of four willow clones grown as short rotation coppice on two soil types in Denmark. Biomass Bioenerg 46: 664-672. https://doi.org/10.1016/j.biombioe.2012.06.030
Smaliukas, D.; Noreika, R.; Puida, E. 2008. Evaluation of morphological biomass and energetic characteristics of Salix viminalis L. and S. dasyclados Wimm. Biologija 54(2): 97-100. https://doi.org/10.2478/v10054-008-0019-3
Spirchez, C.; Lunguleasa, A.; Matei, M. 2018. Particularities of hollow-core briquettes obtained out of spruce and oak wooden waste. Maderas-Cienc Tecnol 20(1):139-152. https://doi.org/10.4067/S0718-221X2018005001201
Stolarski, M.; Szczukowski, S.; Tworkowski, J.; Klasa, A. 2008. Productivity of seven clones of willow coppice in annual and quadrennial cutting cycles. Biomass Bioenerg 32: 1227-1234. https://doi.org/10.1016/j.biombioe.2008.02.023
Szczukowski, S.; Tworkowski, J.; Klasa, A.; Stolarski, M. 2002. Productivity and chemical composition of wood tissues of short rotation willow coppice cultivated on arable land. Rostlinna Vyroba 48: 413-417. https://doi.org/10.17221/4389-PSE
Turinawe, H.; Mugabi, P.; Tweheyo, M. 2014. Density, Calorific Value and Cleavage Strength of Selected Hybrid Eucalypts Grown in Uganda. Maderas-Cienc Tecnol 16(1):13-24. https://doi.org/10.4067/S0718-221X2014005000002
Volk, T.A.; Verwijst, T.; Tharakan, P.J.; Abrahamson, L.P.; White, E.H. 2004. Growing fuel: a sustainability assessment of willow biomass crops. Front Ecol Environ 2: 411-418. https://esajournals.onlinelibrary.wiley.com/doi/epdf/10.1890/1540-9295%282004%29002%5B0411%3AGFASAO%5D2.0.CO%3B2
Wang, Z.; MacFarlane, D.W. 2012. Evaluating the biomass production of coppiced willow and polar clones in Michigan, USA, over multiple rotations and different growing conditions. Biomass Bioenerg 46: 380-388. https://doi.org/10.1016/j.biombioe.2012.08.003
Wilkinson, J.M.; Evans, E.J.; Bilsborrow, P.E.; Wright, C.; Wewison, W.O.; Pilbeam, D.J. 2007. Yield of willow cultivars at different planting densities in a commercial short rotation coppice in the north of England. Biomass Bioenerg 31: 469-474. https://doi.org/10.1016/j.biombioe.2007.01.020
Author notes
♠Corresponding author:emilia.salca@unitbv.ro